Kia Cadenza: Система контроля давления в шинах / Расположение компонентов и комплектующих

Kia Cadenza YG 2016-2023 Руководство по ремонту / Подвесная система / Система контроля давления в шинах / Компоненты и расположение компонентов

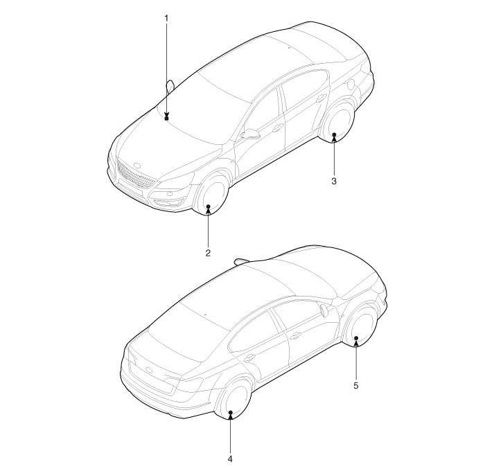
Компоненты

1. Приемник
2. Датчик TPMS (FL)
3. Датчик TPMS (RL)
4. Датчик TPMS (RR)
5. Датчик TPMS (FR)

Система контроля давления в шинах
...
Описание и работа
Описание Лампа протектора – Предупреждение о перекачке шин / утечке. 1. Включите условие • Когда давление в шинах ниже допустимого порога • При обнаружении быстрой утечки...
Дополнительная информация:

Руководство по эксплуатации Kia Cadenza YG 2016-2023: Предупреждающее сообщение


Предупреждение о столкновении в слепых зонах (BCW) система отключена. Радар заблокирован • Это предупреждающее сообщение может появиться когда : - Один или оба датчика на задний бампер заблокирован грязью или снег или посторонний предмет. - Когда прицеп или перевозчик установлен. - Вождение в сельской местности, где ...

Kia Cadenza YG 2016-2023 Руководство по ремонту: Порядок ремонта задней двери


Замена Замена обшивки двери • Будьте осторожны, чтобы не поцарапать обивку двери и другие детали. • Наденьте перчатки, чтобы защитить руки. 1. Используя отвертку или съемник, снимите крышку внутренней ручки задней двери (A) и всю крышку ручки (B). ...