Kia Cadenza: Устройство корректора фар / Схема автокорректора фар

Kia Cadenza YG 2016-2023 Руководство по ремонту / Электрическая система кузова / Устройство регулировки уровня фар / Принципиальные схемы блока автоматической регулировки фар

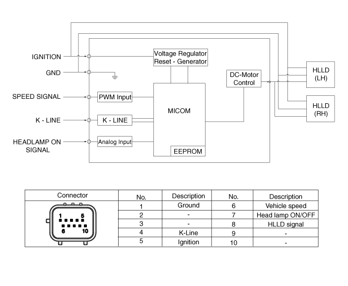
Принципиальная электрическая схема

Компоненты и расположение компонентов
Расположение компонента 1. Блок корректора фар и датчик2. Привод корректора фар ...
Автоматическое выравнивание фар Устройство Описание и работа
Описание В зависимости от условий вождения и состояния загрузки транспортное средство, направление освещения фар изменено, чтобы водитель не отвлекался дальности видимости и защиты зрения водителя от ...
Дополнительная информация:

Kia Cadenza YG 2016-2023 Руководство по ремонту: Ремонт переднего бампера


Замена • Наденьте перчатки, чтобы защитить руки. • Поддевая плоской отверткой, оберните ее защитной лентой, чтобы предотвратить повреждение. • Будьте осторожны, не погните и не поцарапайте крышку и другие детали. 1. После ослабления крепления...

Руководство по эксплуатации Kia Cadenza YG 2016-2023: Бардачок


Перчаточный ящик можно запирать и отпирается мастер-ключом (1). (если оборудован) Чтобы открыть перчаточный ящик, потяните рычаг (2) и перчаточный ящик автоматически открыть. Закройте перчаточный ящик после использовать. ПРЕДУПРЕЖДЕНИЕ - Перчаточный ящик Для снижения риска получения травм в авария или внезапная остановка, всегда ...