Jeep Wrangler: Предохранители / Общая информация

ПРЕДУПРЕЖДЕНИЕ!

  • При замене перегоревшего предохранителя всегда используйте соответствующий запасной предохранитель с тот же номинал ампера, что и оригинальный предохранитель. Никогда замените предохранитель другим предохранителем с большей номинал усилителя. Никогда не заменяйте перегоревший предохранитель на металлическая проволока или любой другой материал. Неспособность использование надлежащих предохранителей может привести к серьезным телесные повреждения, пожар и/или имущество повреждать.
  • Перед заменой предохранителя убедитесь, что зажигание выключено и что все остальные службы выключены и/или отключены.
  • Если замененный предохранитель снова перегорает, обратитесь в официальный дилер.
  • Если предохранитель общей защиты для безопасности системы (система подушек безопасности, тормозная система), системы силовых агрегатов (система двигателя, система коробки передач) или удары в рулевом управлении, обратитесь к официальному дилеру.

Предохранители защищают электрические системы от избыточный ток.

Когда устройство не работает, вы должны проверить плавкий элемент внутри предохранителя лезвия для ломать/плавить.

Также имейте в виду, что при использовании питания розетки на длительный срок с двигатель выключен, может привести к разряду аккумуляторной батареи автомобиля увольнять.

Jeep Wrangler. General Information

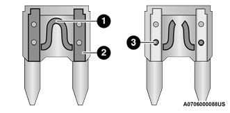
Плавкие предохранители

  1. Плавкий элемент
  2. Плавкий предохранитель с хорошим/функциональным предохранителем элемент
  3. Плавкий предохранитель с неисправным/неработающим предохранителем элемент (перегорел предохранитель)

Предохранители

..

Центр распределения электроэнергии (PDC)

Центр распределения электроэнергии находится в г. моторный отсек рядом с аккумулятором. Этот центр содержит патронные предохранители, мини-предохранители и реле. На верхней крышке PDC имеется маркировка каждого исправное расположение предохранителя/реле, функция и размер...

Дополнительная информация:

Руководство по эксплуатации Jeep Wrangler 2018-2023: АВАРИЙНАЯ СИГНАЛИЗАЦИЯ


Переключатель аварийной световой сигнализации расположен на панели приборов под климатом контролирует. Переключатель аварийной сигнализации Нажмите переключатель, чтобы включить предупреждение об опасности Мигалки. При активации переключателя все указатели поворота будут мигать и выключаться, чтобы предупредить встречный транспорт о чрезвычайной ситуации...

Руководство по эксплуатации Jeep Wrangler 2018–2023 гг.: Голосовое управление Android Auto™


ПРИМЕЧАНИЕ: Доступность функций зависит от вашего оператора связи и производитель мобильных телефонов. Немного Android Функции Auto™ могут быть доступны или недоступны в каждого региона и/или языка. Android Auto™ позволяет вам использовать свой голос, чтобы взаимодействовать с лучшей в своем классе речью Android™ технологии через голос вашего автомобиля систему распознавания и используйте тарифный план для проецирования вашего устройства на базе Android™ смартфон и ряд его приложений на ваш Отключить сенсорный экран...

Категории

Разблокировка со стороны водителя или пассажира

С действующим брелоком пассивного входа в пределах 5 футов (1,5 м) дверной ручки, возьмитесь за ручку, чтобы разблокировать автомобиль. Захват водительской двери ручка автоматически разблокирует дверь водителя. Взявшись за ручку пассажирской двери, вы откроете все двери и распашные ворота автоматически.

Jeep Wrangler. To Unlock From The Driver or Passenger Side

Возьмитесь за ручку двери, чтобы разблокировать

читать далее