Hyundai Tucson: схемы системы контроля давления в шинах / приемника TPMS

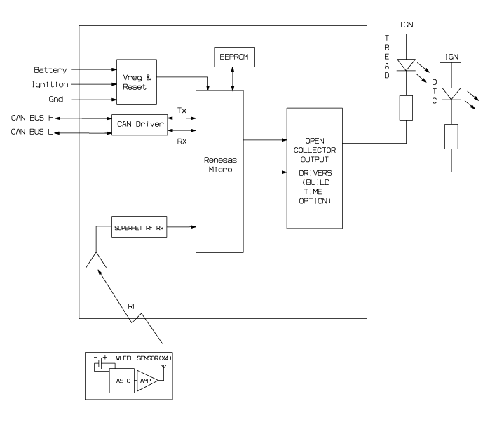
Принципиальная схема

Информация о разъеме

Приколоть
Описание
1
Батарея
2
CAN_High
3
ЗАЗЕМЛЕНИЕ
4
-
5
-
6
-
7
IGN
8
CAN_Низкий
9
-
10
-
11
-
12
-

Описание и работа приемника TPMS
Описание 1. Режим (1) Виргинское государство А. В таком состоянии ресивер отгружается как отдельная деталь. Поэтому запасные части должны прибывать в этом состоянии. Б. В этом состоянии нет датчика...
Процедуры ремонта приемника TPMS
Замена Когда приемник впервые поступает на замену: 1) Это будет в штате Вирджиния. 2) Он не будет настроен для какой-либо конкретной платформы. 3) Не будет ха...
Дополнительная информация:

Hyundai Tucson (LM) 2010-2015 Service Manual: Датчик детонации (KS) описание и работа
Описание Стук – явление, характеризующееся нежелательным вибрации и шума, что может привести к повреждению двигателя. Датчик детонации (KS) есть установлен на блоке цилиндров и определяет детонацию двигателя. При появлении стука вибрация от блока цилиндров применяется как давление на пьезу ...

Hyundai Tucson (LM) 2010-2015 Руководство по техническому обслуживанию: Процедуры ремонта кнопки Start/Stop
Удаление 1. Отсоедините отрицательную (-) клемму аккумуляторной батареи. 2. Снимите левый воздуховод. (Обратитесь к группе BD - "Crash pad") 3. Отсоедините разъем (А). [левый руль] [Правый руль] 4. Снимите кнопку пуска/остановки (А) после ослабления крепежных винтов. [левый руль] [Правый руль] Монтаж 1. Инс ...