Hyundai Tucson: Процедуры ремонта сиденья и сиденья с электроприводом / заднего сиденья

Замена
Замена сиденья в сборе
1.
Ослабив крепежные болты, снимите спинку заднего сиденья в сборе (А).

Момент затяжки :
44,1 ~ 58,8 Н·м (4,5 ~ 6,0 кгс·м, 32,5 ~ 43,4 фунт-фут)

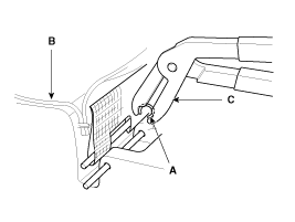
2.
Отсоедините разъем (А).

3.
Снимите крышку багажника (А).

4.
Ослабив крепежный болт (А), снимите подушку заднего сиденья в сборе.

5.
Установите в порядке, обратном снятию.
Порядок установки болта и гайки крепления сиденья.
Временно затяните в указанном порядке гайку и болт на передней части установочной детали петли кресла.
После полной затяжки болта сзади части крепления петли кресла, полностью затяните болт на ее передней части.
Опустив подушку сиденья, затяните болт крепления шарнира каркаса подушки.
Убедитесь, что наклон сиденья и складывание спинки сиденья осуществляются плавно.
Замена обивки спинки сиденья [RH]
1.
Нажмите на стопорный штифт (B) и снимите подголовник (A).

2.
Ослабив крепежный винт, снимите задний крючок для сумки (A).
3.
С помощью отвертки или съемника снимите декоративную накладку анкера страховочного троса (B).

4.
С помощью длинного наконечника снимите штифт (B) и подлокотник (A).

5.
С помощью отвертки или съемника снимите верхнюю лицевую панель (A).

6.
Отстегните молнию на спинке сиденья (A) и застегните ее.

7.
Удалите зажимы кольца борова) и привинтите.

8.
Отсоедините крюк (В).

9.
Вытяните направляющие подголовника (A), зажимая концы направляющих, и снимите их.

10.
Отсоедините обивку спинки сиденья (А) от рамы спинки сиденья (В).

11.
Отсоедините зажимы (В) на передней части спинки сиденья, снимите обивку спинки сиденья (А).

12.
Установите в порядке, обратном снятию.
Во избежание образования складок убедитесь, что материал равномерно натянут на чехол (B), прежде чем закреплять зажимы (A).
Замените зажимы на новые с помощью специального инструмента [C (09880-4F000)].

Замена чехла подушки сиденья
1.
Снимите чехол подушки спинки сиденья.
2.
Вытяните защелки на передней части подушки сиденья, снимите чехол подушки сиденья (А).

3.
Установите в порядке, обратном снятию.
Во избежание образования складок убедитесь, что материал равномерно натянут на чехол (B), прежде чем закреплять зажимы (A).
Замените зажимы на новые с помощью специального инструмента [C (09880-4F000)].

Замена обивки спинки сиденья [LH]
1.
Нажмите на стопорный штифт (B), затем снимите подголовник (A).

2.
С помощью отвертки или съемника снимите декоративную накладку анкера страховочного троса (A).

3.
отстегните молнию на спинке сиденья (A), а затем застегните ее.

4.
Снимите зажимы (A).

5.
Отсоедините крюк (В).

6.
Вытяните направляющие подголовника (A), зажимая концы направляющих, и снимите их.

7.
Отсоедините обивку спинки сиденья от рамы спинки сиденья.
8.
Отсоедините зажимы (В) на передней части спинки сиденья, снимите обивку спинки сиденья (А).

9.
Установите в порядке, обратном снятию.
Во избежание образования складок убедитесь, что материал равномерно натянут на чехол (B), прежде чем закреплять зажимы (A).
Замените зажимы на новые с помощью специального инструмента [C (09880-4F000)].

Компоненты заднего сиденья и расположение компонентов
Компоненты 1. Подголовник2. Направляющая подголовника3. Верхняя рамка4. Якорный гарнир5. Крышка подлокотника6. Обивка спинки сиденья7. Подлокотник8. Чехол на подушку сиденья9. Подогрев сидений10. Подушка сиденья ...
Ремень безопасности
...
Дополнительная информация:

Hyundai Tucson (LM) 2010-2015 Service Manual: Переключатель панорамной крыши Процедуры ремонта
осмотр 1. Отсоедините отрицательную (-) клемму аккумуляторной батареи. 2. Снимите блок лампы на потолочной консоли. (См. группу БД - "Отделка крыши") 3. Проверьте целостность цепи между клеммами. Если непрерывность не соответствует указанной, замените переключатель люка. ...

Руководство по эксплуатации Hyundai Tucson (LM) 2010-2015: Настройки дисплея
Нажмите клавишу  Выберите [Дисплей] через регулятор TUNE или ключ Выберите меню через ручка НАСТРОЙКА Всплывающее окно режима [Всплывающее окно режима]  Изменения / режим выбора В состоянии «Включено» нажмите или клавиша для отображения всплывающего окна смены режима экран вверх. Прокрутка текста [Текст...