Hyundai Tucson: Процедуры ремонта опоры дифференциала в сборе / процедуры ремонта опоры заднего дифференциала

Замена
1.
Слейте масло из коробки передач дифференциала.
2.
Снимите задний приводной вал.
3.
Снимите карданный вал.
4.
Отсоедините разъем управления муфтой (А).

5.
Подоприте узел дифференциала (А) домкратом (В).

Момент затяжки :
68,6 ~ 88,3 Н·м (7,0 ~ 9,0 кгс·м, 50,6 ~ 65,1 фунт-фут)

6.
После ослабьте болт крышки и снимите крышку дифференциала (А).

Момент затяжки :
39,2 ~ 49,0 Н·м (4,0 ~ 5,0 кгс·м, 28,9 ~ 36,2 фунт-фут)

7.
Установите в порядке, обратном снятию.
Разборка
Разборка корпуса заднего дифференциала
1.
Слейте масло, сняв пробку сливного отверстия (А) и пробку стойки (В) перед разборкой корпуса заднего дифференциала.

При установке используйте новую сливную пробку и пробку стойки.
2.
Используя SST (09530-3T300), надежно удерживайте дифференциал в сборе.

3.
Снимите пробку сапуна (А).

4.
Ослабьте болты крышки (A-8EA) и снимите крышку (B).

5.
Ослабьте болты (A-4EA) и снимите крышку подшипника (B).

6.
Снимите редуктор в сборе (А).

7.
Отметьте левую и правую боковые обоймы подшипников, как показано ниже, при снятии дифференциала в сборе, чтобы различить стороны.

8.
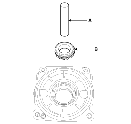
С помощью отвертки снимите левый и правый сальник (А).
При установке используйте новый сальник.

Разборка корпуса шестерни в сборе
1.
Ослабьте болты уплотнения, а затем снимите водило шестерни (А) и зубчатый венец (В).
Нарисуйте метки совмещения на держателе шестерни и зубчатом венце.

2.
С помощью SST (09530-3T200) снимите передний и задний подшипники (A).

3.
Пометьте левый и правый подшипники, как показано ниже, при снятии подшипника, чтобы различать стороны.

разобрать шестерню в сборе
1.
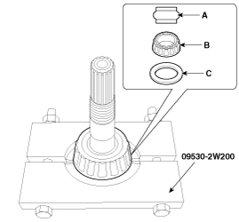
С помощью SST (09530-3T300) закрепите узел корпуса дифференциала.

2.
Закрепите SST (09530-2W300) на контргайке.

3.
Закрепите фиксатор фланца (A) на SST (095302W300).

4.
Вставьте SST (095302W400) в отверстие шестигранника и снимите контргайку (A).

5.
С помощью отвертки снимите сальник шестерни (А).

6.
Нажмите на ведущую шестерню и снимите передний подшипник шестерни (А).

7.
Используя молоток и долото, снимите внешнее кольцо подшипника шестерни (А).

8.
С помощью SST (09527-4A000) нажмите на ведущую шестерню и затем снимите прокладку подшипника ведущей шестерни (A), передний подшипник (B), внутренний регулировочные прокладки подшипников (C) по порядку.

Сборка
Регулировка высоты ведущей шестерни
Отрегулируйте высоту ведущей шестерни в следующем порядке.
1.
Ниже приведены специальные инструменты для измерения высоты шестерни.

2.
Контргайка специального инструмента (A), сальник шестерни (B), шестерня передний подшипник (C), внутренний подшипник (D) и опорный корпус специального инструмента (E) монтируются следующим образом.

Момент затяжки стопорной гайки (А):
88,3 ~ 137,3 Нм (9,0 ~ 14,0 кгс.м, 65,1 ~ 101,3 фунт-фут)

3.
Поместите основной корпус (A) на корпус дифференциала (B).

4.
Крышка подшипника (B) установлена ​​на основном корпусе (A).

Момент затяжки :
54,0 ~ 63,7 Нм (5,5 ~ 6,5 кгс·м, 39,8 ~ 47,0 фунт-фут)

5.
С помощью щупа измерьте зазор между основным корпусом (А) и крышку подшипника (В). а затем выберите регулировку внутреннего подшипника прокладка

6.
Установите выбранную регулировочную шайбу внутреннего подшипника (А).

Регулировочная шайба внутреннего подшипника
Деталь №
Толщина
дюйм
53040-3C138
1,38
0,054
53040-3C141
1,41
0,055
53040-3C144
1,44
0,057
53040-3C147
1,47
0,058
53040-3C150
1,50
0,059
53040-3C153
1,53
0,06
53040-3C156
1,56
0,061
53040-3C159
1,59
0,063
53040-3C162
1,62
0,064
53040-3C165
1,65
0,065
53040-3C168
1,68
0,066
53040-3C171
1,71
0,067
53040-3C174
1,74
0,068
53040-3C177
1,77
0,067

Сборка корпуса заднего дифференциала
1.
С помощью SST (09530-3T100) установите внешнее кольцо внутреннего подшипника шестерни (A).

2.
С помощью SST (09530-3T100) установите наружное кольцо подшипника внешней шестерни.

3.
С помощью круглой трубы (А) запрессуйте задний подшипник шестерни (В).

4.
Установите прокладку подшипника ведущей шестерни (В) на ведущую шестерню ведущей шестерни (А).
Необходимо использовать новую прокладку.

5.
Используя круглую трубу (A), нажмите на передний подшипник (B).

6.
С помощью SST (09530-3T600) установите сальник шестерни.

7.
Используя SST (09530-3T300), затяните стопорную гайку шестерни (A).

Момент затяжки :
186,33~441,3 Н·м (19,0~45,0 кгс.м, 137,43~325,48 фунт-фут)

8.
Измерьте предварительную нагрузку.

Стандарт:
92,22 ~ 179,46 Нм (9,2 ~ 18,3 кгс.м, 66,54 ~ 132,36 фунт-фут)

Поддерживайте постоянную скорость вращения (60 об/мин).

Если он не соответствует стандарту, повторите описанные выше процедуры.
Повторное использование прокладки не допускается при разборке и повторной сборке, когда предварительная нагрузка превышает норму.
Сборка корпуса шестерни в сборе
1.
С помощью SST (09453-3B200) установите передний/задний подшипник (A).

2.
Установите водило шестерни и зубчатый венец.

Момент затяжки :
137,3 ~ 156,9 Нм (14,0 ~ 16,0 кгс.м, 101,3 ~ 115,7 фунт-фут)

Затягивая уплотнительный болт, делайте это по диагонали.

3.
Установите наружные кольца левого и правого боковых подшипников (А) на водилу шестерни.

4.
Зафиксируйте внешние кольца (А) левого и правого боковых подшипников обеими руками и установите их на картер дифференциала.

5.
Вставьте левую и правую регулировочную прокладку между подшипник дифференциала и опора. И чем установить крышку baearing (А) с отметкой.

Момент затяжки :
53,9 ~ 63,7 Нм (5,5 ~ 6,5 кгс·м, 39,8 ~ 47,0 фунт-фут)

6.
Отрегулируйте регулировочную прокладку и подтвердите норму люфта.

стандарт: 0,10 ~ 0,15 мм (0,004 ~ 0,006 дюйма)

Толщина прокладки дифференциала должна быть отрегулирована, если заднее колесо маленькое.
Уменьшите толщину прокладки левого дифференциала и увеличить толщину прокладки правого дифференциала настолько, насколько уменьшена левая сторона.
7.
Отрегулируйте биение зубчатого колеса в сборе.

Стандарт: 0 ~ 0,05 мм (0 ~ 0,002 дюйма)

8.
Измеряет свободную дорогу.

Стандарт: Шестерня для бездорожья: 0,25 ~ 0,84 Нм (2,5 ~ 8,5 кгс·см, 0,18 ~ 0,62 фунт-фут)

9.
Нанесите герметик (А) на поверхность задней крышки.

Герметик: МС 721-40

Удалите остатки герметика перед нанесением покрытия.
Равномерно нанесите герметик толщиной 2~3 мм вдоль задней поверхности крышки.

10.
Установите заднюю крышку дифференциала (А).

Момент затяжки
39,2 ~ 49,0 Нм (4,0 ~ 5,0 кгс·см, 28,9 ~ 36,2 фунт-фут)

11.
Установите сливную пробку (А) и пробку стойки (В).

Заглушка столба:
39,2 ~ 58,8 Нм (4,0 ~ 6,0 кгс·см, 28,9 ~ 43,4 фунт-фут)
Сливная пробка :
49,0 ~ 68,6 Нм (5,0 ~ 7,0 кгс·см, 36,2 ~ 50,6 фунт-фут)

12.
С помощью SST (09530-3T000) установите левый и правый сальник.

13.
Установите задний дифференциал в сборе на автомобиль и залейте масло.

Тип масла: Трансмиссионное масло Hyjpoid, MS 517-15GT (SAE 75W/90, API GL-5, SHELL SPIRAX
Емкость масла (л): 1,4 ± 0,05 л

осмотр
1.
После очистки проверьте детали на предмет повреждений или истирания. Следуйте приведенному ниже методу, если таковые обнаружены.
Элемент
Идентифицировать
Комплект шестерен (ведущая шестерня и ведомая шестерня)
Комплект шестерен необходимо заменить новым, если зубья шестерни повреждены (трещины/ямки/вмятины).
Несущий
Подшипник необходимо заменить новым, если ролик подшипника или обойма повреждены (трещины/ямки/вмятины).
Сальник
При разборке сальник необходимо заменить новым.
Дифференциальная несущая
Картер необходимо заменить новым, если внутри поврежден опорный подшипник (трещины/ямки/вмятины) или обнаружена трещина внутри/снаружи.
Сопутствующий фланец
Сальник шестерни необходимо заменить новым, если контактная поверхность повреждена (трещины/ямки/вмятины).
Открытый тип
Комплект шестерен дифференциала
(Боковая шестерня дифференциала и шестерня дифференциала)
Комплект шестерен необходимо заменить новым, если зубья шестерни или поверхность зубьев повреждены (трещины/ямки/вмятины).
Шайба дифференциала
(шайба боковой шестерни дифференциала и шайба шестерни дифференциала)
Шайба должна быть заменена новой, если поверхность шайбы повреждена (трещины/ямки/вмятины).
Тип ЛСД
дифференциал повышенного трения в сборе
Дифференциал повышенного трения в сборе необходимо заменить новым, если снаружи обнаружена трещина.

2.
Проверьте пятно контакта зубьев.
Зубной контакт
Состояние контакта
Решение
Стандартный контакт



1. Контакт пятки

Увеличьте толщину регулировочной шайбы высоты шестерни и расположите ведущую шестерню ближе к центру ведущей шестерни.
Кроме того, для регулировки люфта отодвиньте ведущую шестерню дальше от ведущей шестерни.

2. Контакт лицом к лицу

3. Контакт с носком

Уменьшите толщину регулировочной шайбы высоты шестерни и расположите ведущую шестерню дальше от центра ведущей шестерни.
Кроме того, для регулировки люфта переместите ведущую шестерню ближе к ведущей шестерне.

4. Фланговый контакт


1.
Рисунок контакта зуба – это метод оценки результата регулировка высоты ведущей шестерни и люфта главной передачи. регулировка высоты ведущей шестерни и люфта главной передачи должна повторяется до тех пор, пока рисунок контакта зуба не будет похож на стандартный схема контакта зубов.
2.
Если вы не можете получить правильный рисунок, ведущая шестерня и ведущая шестерня превысила свои пределы. Обе шестерни следует заменить, т.к. множество.
Компоненты и расположение компонентов кронштейна заднего дифференциала
Расположение компонентов 1. Каркас заднего дифференциала2. Муфта в сборе Компоненты 1. Стопорная гайка шестерни2. Сальник шестерни 3. Передний подшипник шестерни 4. Кронштейн картера дифференциала5. Дифференциальный случай6. ...
Подвесная система
...
Дополнительная информация:

Hyundai Tucson (NX4) 2022-2023 Руководство по эксплуатации: Электрохромное зеркало с Домашняя система
Ваш автомобиль может быть оснащен Зеркало Gentex с автоматическим затемнением со встроенным беспроводным адаптером HomeLink® Система контроля. Во время ночного вождения эта функция автоматически обнаруживает и уменьшает блики зеркала заднего вида. HomeLink® Универсальный трансивер позволяет активировать ...

Hyundai Tucson (LM) 2010-2015 Руководство по эксплуатации: Крепление детского удерживающего устройства поясным или поясно-плечевым ремнем
Если система LATCH не используется, все детские удерживающие устройства должны быть закреплены на автомобиле. заднее сиденье с поясной частью поясно-плечевого ремня безопасности. ПРЕДУПРЕЖДЕНИЕ ВСЕГДА устанавливайте детское удерживающее устройство, обращенное назад, на заднее сиденье автомобиля. Установка детского кресла, обращенного назад, на переднее сиденье может привести к серьезным ...