Hyundai Tucson: схематические схемы системы AVN / мультимедийного разъема

Принципиальная электрическая схема

Процедуры ремонта головного устройства AVN
Удаление • Будьте осторожны, чтобы не поцарапать центральную лицевую панель и связанные с ней детали. • Извлеките весь диск перед извлечением головного устройства AVN, чтобы не повредить проигрыватель компакт-дисков.
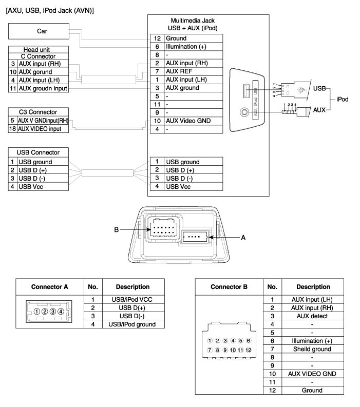
Описание и работа мультимедийного разъема
Описание Мультимедийный разъем на верхней крышке консоли предназначен для клиенты, которые любят слушать внешние портативные музыкальные плееры, такие как MP3, iPod и т. д. через аудиосистему автомобиля...
Дополнительная информация:

Hyundai Tucson (NX4) 2022-2023 Руководство по эксплуатации: Ручная система ограничения скорости Операция
Чтобы установить ограничение скорости 1. Нажмите и удерживайте кнопку помощи при вождении. () на нужной скорости. Помощь при ручном ограничении скорости () загорается индикатор комбинация приборов. 2. Нажмите переключатель + вверх или переключатель - вниз. для изменения заданной скорости. Нажмите и удерживайте, чтобы увеличить или уменьшить ...

Hyundai Tucson (LM) 2010-2015 Руководство по эксплуатации: Логика предотвращения запотевания
Чтобы уменьшить вероятность запотевания внутренней поверхности ветрового стекла, воздух впуск или кондиционирование воздуха контролируются автоматически в соответствии с определенными условиями такие как или позиция. Чтобы отменить или вернуться к логика устранения запотевания, выполните следующие шаги: Ручная система климат-контроля ...