Hyundai Tucson: схемы рулевого колеса / рулевого колеса с подогревом

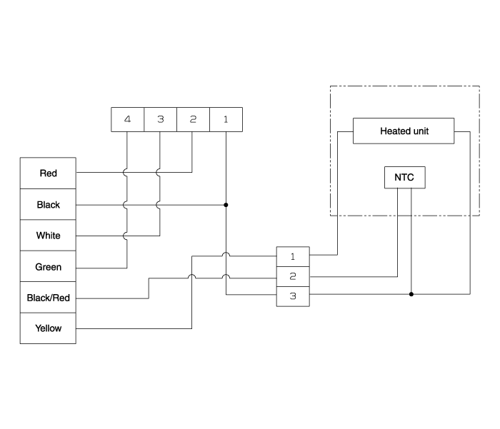
Схематическая диаграмма
1.
Терминалы

2.
Терминальная функция
Соединитель
Нет
Сигнал
Цвет
А
1
ЗАЗЕМЛЕНИЕ
Черный
2
Батарея
Красный
3
Выключатель
Белый
4
ВЕЛ
Зеленый

Соединитель
Нет
Сигнал
Цвет
Б
1
Обогреватель
Желтый
2
НТК
Черный Красный
3
ЗАЗЕМЛЕНИЕ
Черный

3.
Принципиальная схема

Описание и принцип работы рулевого колеса с подогревом
Описание Подогрев накладок на рукоятку руля вызывает жар. 1. Блок управления с подогревом 2. Подушка с подогревом Технические характеристики ПараметрСпецификацияНапряжение13,5 ВСопротивление нагревательной пластины1,4 ~ 1,8 x  � ...
Обогрев руля Процедуры ремонта
Процедуры ремонта 1. Измерьте сопротивление NTC и нагревательной пластины. А. Сопротивление NTC (черный/желтый, черный) - 9,0 kx ~ kx (25°C) Б. Сопротивление грелки (желтый, черный) - 1,4~1,8 х ± 10% ...
Дополнительная информация:

Hyundai Tucson (LM) 2010-2015 Руководство по техническому обслуживанию: Процедуры ремонта передних стоек в сборе
Замена 1. Снимите переднее колесо и шину. Момент затяжки : 88,3 ~ 107,9 Н·м (9,0 ~ 11,0 кгс·м, 65,1 ~ 79,6 фунт-фут) Будьте осторожны, чтобы не повредить болты ступицы при снятии переднего колеса и шины. 2. Снимите тормозной шланг (А) и датчик скорости вращения колеса...

Hyundai Tucson (NX4) 2022-2023 Руководство по эксплуатации: Тормоза с усилителем
Ваш автомобиль оборудован тормозами с усилителем которые автоматически настраиваются через обычный Применение. Если двигатель не работает или повернут отключается во время вождения, усилитель мощности для тормоза не работают. Вы все еще можете остановить свой автомобиль, применяя больше усилие на педаль тормоза, чем обычно. ...