Hyundai Tucson: Процедуры ремонта сиденья и сиденья с электроприводом / переднего сиденья

Замена
Замена сиденья в сборе
1.
Снимите крышку крепления сиденья.
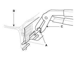
2.
Ослабив болты крепления узла сиденья, снимите узел сиденья (А).

Момент затяжки :
44,1 ~ 58,8 Н·м (4,5 ~ 6,0 кгс·м, 32,5~43,4 фунт-фут)

3.
Отсоедините разъем (А) и проводку (В).

4.
Установите в порядке, обратном снятию.
ПРОЦЕДУРА УСТАНОВКИ БОЛТА КРЕПЛЕНИЯ СИДЕНЬЯ
Установите в крайнее заднее положение. Убедитесь, что каждый слайд заблокирован, а затем временно затяните передний крепежный болт.
Установите сиденье в крайнее переднее положение. Убедитесь, что все направляющие заблокированы, а затем полностью затяните задний крепежный болт.
Установите сиденье в крайнее заднее положение. Полностью проверьте передний крепежный болт.
Убедитесь, что сиденье перемещается вперед и назад плавно, а фиксирующая часть надежно фиксируется.
Замена крышки экрана
1.
Снимите переключатель сиденья (A) и переключатель наклона спинки сиденья (B).

2.
С помощью отвертки снимите переднюю защитную крышку (А).

3.
С помощью отвертки снимите защитную крышку (А).

4.
Отсоедините разъем (А).

5.
Установите в порядке, обратном снятию.
Замена спинки сиденья
Замените спинку сиденья в сборе, если установлена ​​активная система подголовника.
1.
Снимите переднее сиденье в сборе.
2.
Снимите подголовник.
3.
Сдвиньте зажимы (B) с обивки спинки сиденья (A).
Нажмите на среднюю часть зажима с помощью отвертки с плоской головкой.
Будьте осторожны, чтобы не повредить клипсу.

4.
Вставьте крючки (А) в раму спинки сиденья.

5.
Отсоедините зажим крепления разъема (А).

6.
Вытяните направляющие подголовника (A), зажимая концы направляющих, и снимите их.

7.
Снимите спинку сиденья с рамы.
8.
Снимите зажимы (B) на передней части спинки сиденья и снимите обивку спинки сиденья (A).

9.
Установите в порядке, обратном снятию.
Во избежание образования складок убедитесь, что материал равномерно натянут на чехол (B), прежде чем закреплять зажимы (A).
Замените зажимы на новые с помощью специального инструмента (C) (09880-4F000).

Замена чехла подушки сиденья
1.
Снимите переднее сиденье в сборе.
2.
Снимите крышку щита.
3.
Нажмите на крючок (А), снимите подушку сиденья (С).

4.
Отсоедините разъем (А).

5.
Снимите зажим (B) на передней части подушки сиденья и снимите чехол подушки сиденья (A).
При снятии зажима-кольца снимите зажим-кольцо, нажимая на проволоку, чтобы не отделить проволоку от губки.

6.
Установите в порядке, обратном снятию.
Во избежание образования складок убедитесь, что материал равномерно натянут на чехол (B), прежде чем закреплять зажимы (A).
Замените зажимы на новые с помощью специального инструмента (C) (09880-4F000).

Замена каркаса сиденья
1.
Удалите следующие элементы:
А.
Сборка переднего сиденья
Б.
Спинка сиденья
С.
Подушки сиденья
Д.
Подголовник
2.
Ослабив крепежный винт, снимите переднюю внутреннюю защитную крышку (А).

3.
Ослабив крепежные болты, отсоедините раму спинки сиденья (А) и раму подушки сиденья (В).
Снимите боковую подушку безопасности для замены места установки боковой подушки безопасности.
Перед обслуживанием полностью ознакомьтесь с мерами предосторожности и процедурами обслуживания, относящимися к подушке безопасности (см. стр. RT-Подушка безопасности).

Момент затяжки :
44,1 ~ 58,8 Н·м (4,5 ~ 6,0 кгс·м, 32,5 ~ 43,4 фунт-фут)

4.
Установите в порядке, обратном снятию.
Компоненты переднего сиденья и расположение компонентов
Компоненты 1. Подголовник2. Направляющая подголовника3. Обивка спинки сиденья4. Подогрев спинки сиденья5. Накладка на спинку сиденья6. Силовая опора резины в сборе7. Чехол на подушку сиденья8. Подогрев подушки сиденья9. Подушка сиденья10. Шил...
Компоненты заднего сиденья и расположение компонентов
Компоненты 1. Подголовник2. Направляющая подголовника3. Верхняя рамка4. Якорный гарнир5. Крышка подлокотника6. Обивка спинки сиденья7. Подлокотник8. Чехол на подушку сиденья9. Подогрев сидений10. Подушка сиденья ...
Дополнительная информация:

Hyundai Tucson (NX4) 2022-2023 Руководство по эксплуатации: Использование ESC OFF
Во время вождения Режим ESC OFF следует использовать только кратко, чтобы помочь освободить автомобиль, если он застрял в снег или грязь, временно остановив работу ESC, чтобы поддерживать колесо крутящий момент. Чтобы выключить ESC во время движения, нажмите кнопку Кнопка ESC OFF при движении по ровной поверхности дорожное покрытие. УВЕДОМЛЕНИЕ На предыд...

Hyundai Tucson (LM) 2010-2015 Руководство по обслуживанию: Процедуры ремонта переключателя DBC
осмотр 1. Выключите зажигание и отсоедините отрицательный (-) кабель аккумуляторной батареи. 2. Снимите блок бокового переключателя аварийной подушки. (Обратитесь к разделу «Тело» — «Аварийная площадка») 3. Проверьте целостность цепи между клеммами переключателя при включении переключателя DBC. ...