Hyundai Tucson: сборка карданного вала / процедуры ремонта динамического демпфера

Удаление
1.
Снимите передний приводной вал.
(См. узел приводного вала — «Передний приводной вал»)
2.
Снимите TJ-соединение в сборе.
(См. приводной вал в сборе — «TJ шарнир»)
3.
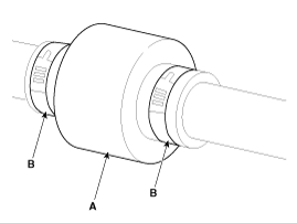
Снимите обе стороны ленты (B) динамического демпфера (A).

4.
Закрепите приводной вал (А) тисками (В), как показано на рисунке.

5.
Нанесите мыльный порошок на вал, чтобы предотвратить повреждение между шлицем вала и динамическим демпфером, когда динамический демпфер удален.
6.
Осторожно отделите динамический демпфер (A) от вала (B).

Монтаж
1.
Нанесите на вал мыльный порошок, чтобы предотвратить повреждение между шлицем вала и динамическим демпфером.
2.
Установите динамический демпфер.
3.
Установите ленту динамического демпфера (A).
4.
С помощью SST (09495-3K000) закрепите хомуты чехлов TJ (B).

Зазор (А): 2,0 мм (0,0787 дюйма) или менее

5.
Установите TJ-соединение в сборе.
(См. приводной вал в сборе — «TJ соединение»)
6.
Установите передний карданный вал.
(См. узел приводного вала — «Передний приводной вал»)
7.
Проверьте переднее выравнивание.
(См. Система подвески — «Выравнивание переднего колеса»)
Компоненты динамического демпфера и расположение компонентов
Компоненты 1. БЖ в сборе2. стопорное кольцо BJ3. BJ бандаж для ботинок4. Минет в сапогах5. Динамический демпфер band6. Динамический демпфер7. Вал8. Ремешок для ботинок TJ9. Ботинок TJ10. Паук в сборе 11. Стопорное кольцо 12. Корпус ТЖ13. Хаусин ...
Компоненты загрузки BJ и расположение компонентов
Компоненты 1. БЖ в сборе2. стопорное кольцо BJ3. BJ бандаж для ботинок4. Минет в сапогах5. Динамический демпфер band6. Динамический демпфер7. Вал8. Ремешок для ботинок TJ9. Ботинок TJ10. Паук в сборе 11. Стопорное кольцо 12. Корпус ТЖ13. Хаусин ...
Дополнительная информация:

Hyundai Tucson (NX4) 2022-2023 Руководство по эксплуатации: Цепи противоскольжения
Так как боковины радиальных шин тоньше, чем другие типы шин, они могут быть повреждены при установке некоторых виды цепей противоскольжения на них. Поэтому, рекомендуется использовать зимние шины вместо цепей противоскольжения. Если цепи противоскольжения должны использовать только оригинальные детали HYUNDAI. и установить...

Hyundai Tucson (LM) 2010-2015 Руководство по техническому обслуживанию: Ремонт поперечины кузова
Передняя поперечина * Эти размеры, указанные на этом рисунке, являются фактическими размерами. [Единица измерения: мм (дюймы)] Задняя поперечина * Эти размеры, указанные на этом рисунке, являются фактическими размерами. [Единица измерения: мм (дюймы)] ...