Hyundai Tucson: Система сцепления / Процедуры ремонта крышки и диска сцепления

Удаление
1.
Снимите коробку передач в сборе.
(См. «Система механической коробки передач» в группе MT)
2.
Снимите болты крышки сцепления.
Будьте осторожны, чтобы не погнуть и не перекрутить болты.
Ослабьте болты в диагональных направлениях.

осмотр
1.
Проверьте износ диафрагменной пружины крышки, которая соприкасается с цилиндром выключения сцепления или подшипником рабочего цилиндра.
2.
Проверьте кожух сцепления и поверхность диска на предмет износа или трещин.
3.
Проверьте накладку диска сцепления на предмет проскальзывания или масляных пятен.
4.
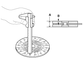
Измерьте глубину от поверхности накладки сцепления до заклепки. Если измеренное значение меньше указанного ниже, замените его.

Стандартное значение
Толщина диска сцепления (A) [в свободном состоянии]: 8,7 ± 0,3 мм
Глубина заклепки диска сцепления (B): 1,1 мм (0,0433 дюйма)

Монтаж
При переустановке бывшей в употреблении крышки крышка должна быть установлена ​​вместе с диском сцепления в комплекте.
1.
При необходимости нанесите смазку на шлицевую часть диска и шлицевую часть входного вала коробки передач.
* Возможные проблемы при несоблюдении
-
Если не применять: возможен чрезмерный износ шлицов и плохая работа сцепления.
-
При чрезмерном нанесении: Смазка может разбрызгиваться центробежная сила, которая может загрязнить диск сцепления. Это может вызвать потеря силы трения, вызывающая скольжение.

2.
Поверхность с пометкой «T/M SIDE» должна быть обращена к инженеру.
Возможные проблемы при установке диска в обратном направлении.
Ошибка переключения коробки передач или странный звук могут возникать из-за разъединения сцепления.

3.
Установите диск сцепления и крышку с помощью SST (A: 09411-1P000).

4.
Установите болты крышки сцепления. Чтобы не погнуть и не перекрутить, затяните их по диагонали.

Момент затяжки:
24,5 ~ 35,3 Н·м (2,5 ~ 3,6 кгс·м, 18,1 ~ 26,0 фунт-фут)

Слегка затяните все болты крышки сцепления, затем спецификации в диагональном направлении. Это может предотвратить скручивание, вибрация крышки и подъем прижимной пластины.
Установите все компоненты с указанным моментом затяжки. Если нет, могут быть проблемы с муфтой крутящего момента коробки передач или крепежным болтом может ослабить.

5.
Установите коробку передач в сборе.
(См. «Система механической коробки передач» в группе MT.)
Компоненты и расположение компонентов кожуха и диска сцепления
Компоненты 1. Диск сцепления2. Крышка сцепления3. Механическая коробка передач 4. Маховик двигателя5. Подшипник выключения сцепления6. Вилка выключения сцепления ...
Компоненты педали сцепления и их расположение
Компоненты 1. Реверсивный шланг 2. Главный цилиндр 3. Глушитель 4. Элемент в сборе 5. Переверните пружину6. Выключатель сцепления7. Рычаг сцепления8. Накладка на педаль9. Выключатель замка зажигания 10. Пробка ...
Дополнительная информация:

Hyundai Tucson (LM) 2010-2015 Руководство по эксплуатации: Использование режима «Моя музыка»
Воспроизведение/пауза моих музыкальных файлов Во время игры нажмите кнопку кнопку для паузы и нажмите кнопку для играть. ✽ УВЕДОМЛЕНИЕ Если в папке «Моя музыка» нет сохраненных файлов, кнопка [Моя музыка] будет неполноценный. Изменение файлов Нажмите клавишу для перехода к предыдущему или следующий файл. ✽ УВЕДОМЛЕНИЕ ...

Hyundai Tucson (NX4) 2022-2023 Руководство по эксплуатации: Информационно-развлекательная система
УВЕДОМЛЕНИЕ Если вы устанавливаете послепродажный HID фар, аудиосистемы вашего автомобиля и электронные устройства могут не работать правильно. USB-порт Вы можете использовать USB-кабель для подключения аудиоустройства к USB-порту автомобиля. Информация При использовании портативного аудиоустройства подключен к розетке...