Hyundai Tucson manuels

Hyundai Tucson Automotive Service Manual: Описание и работа системы изменения фаз газораспределения

Описание
Система непрерывного изменения фаз газораспределения (CVVT) опережает или замедляет фазы газораспределения впускных и выпускных клапанов в зависимости от управляющего сигнала ECM, рассчитанного на нагрузку и частоту вращения двигателя.
При управлении CVVT возникает клапанный зазор или перекрытие, в результате чего лучшая экономия топлива и уменьшенное количество выхлопных газов (NOx, HC) и улучшает характеристики двигателя за счет снижения потерь нагрузки. нагрузка, внутренний эффект рециркуляции отработавших газов, улучшенная стабильность сгорания, повышение эффективности громкости и увеличение работы триггера.
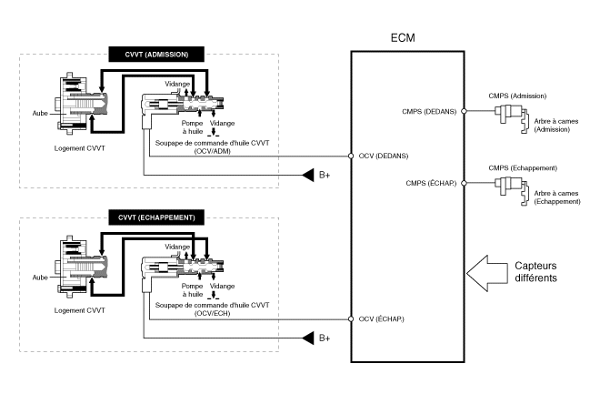
Эта система включает клапан управления подачей масла CVVT (OCV), двигателя к кулачковому фазовращателю или остановке последнего в соответствии с ШИМ управляющий сигнал ECM (импульсный с модуляцией), датчик температуры датчик масла CVVT (OTS) измеряющий температуру масла в двигателе и прибор кулачковый фазовращатель, изменяющий фазу кулачка с помощью гидравлической силы машинное масло.
Моторное масло, выходящее из клапана управления маслом CVVT, изменяется кулачковый фазовращатель в направлении вращения двигателя (Intake Advance/Retard Выхлоп) или в противоположном направлении (Запаздывание впуска/Опережение выхлопа) путем вращения ротора, соединенного с распределительным валом в фазовращателе кулачка.

Принцип действия
CVVT имеет механизм, который вращает клапан ротора с усилием гидравлическая жидкость, генерируемая моторным маслом, подаваемым в камеру опережения или замедление в соответствии с управлением клапаном управления маслом CVVT.

[Системный режим CVVT]

(1) Низкая скорость/низкая нагрузка
(2) Частичная нагрузка


(3) Низкая скорость/высокая нагрузка
(4) Быстрая скорость/высокая нагрузка



Руководить
Состояние
Выхлопной клапан
Впускной клапан
Клапан
Распределение
Эффект
Клапан
Распределение
Эффект
(1) Низкая скорость
/низкая нагрузка
полностью
ПРОДВИГАТЬ
* Клапанный зазор
* Улучшенная стабильность горения
полностью
ЗАДЕРЖИВАТЬ
* Клапанный зазор
* Улучшенная стабильность горения
(2) Частичная нагрузка
ЗАДЕРЖИВАТЬ
* Повышенная релаксационная работа
* Снижение потерь при изменении нагрузки
* Снижение НС
ЗАДЕРЖИВАТЬ
* Снижение потерь при изменении нагрузки
(3) Низкая скорость
/высокая нагрузка
ЗАДЕРЖИВАТЬ
* Повышенная релаксационная работа
ПРОДВИГАТЬ
* Предотвращение обратного впускного потока (улучшенный объемная эффективность)
(4) Высокая скорость
/высокая нагрузка
ПРОДВИГАТЬ
* Снижение потерь при изменении нагрузки
ЗАДЕРЖИВАТЬ
* Улучшена эффективность громкости

Каталитический нейтрализатор: описание и работа
Описание Катализатор бензинового двигателя является трехфункциональным. Он окисляет угарный газ углерода и углеводородов (HC) и отделяет кислород от оксидов азота (NOx). ...

Система управления двигателем/топливом
...
Другие материалы:

ГАЛЕРЕЯ: Процедуры ремонта
ЗАМЕНА [Общий тип] [Разборка] • Наденьте перчатки, чтобы не повредить руки. ...

Розетка
Розетка предназначена для обеспечения мощность для мобильных телефонов или других устройства, предназначенные для работы с транспортным средством электрические системы. Устройства должны потреблять менее 180 Вт с двигателем бег. ПРЕДУПРЕЖДЕНИЕ Избегайте поражения электрическим током. Не размещайте ваши пальцы или посторонние предметы (булавка и т.