Hyundai Tucson manuels

Руководство по обслуживанию и ремонту Hyundai Tucson: Переключатель системы помощи при парковке сзади/спереди

Компоненты и расположение компонентов

составление
Тип автоматической коробки передач

Тип механической коробки передач

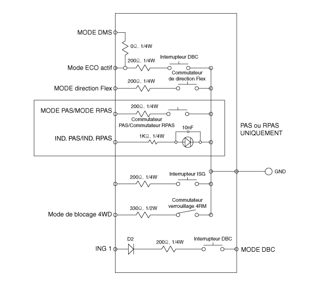
Принципиальные диаграммы

Принципиальная электрическая схема
Тип автоматической коробки передач

Тип механической коробки передач

Процедуры ремонта

ДЕПОЗИТ
Наденьте перчатки, чтобы не повредить руки.
При удалении с помощью съемника или инструмента для головки плоские, оберните инструменты защитной лентой, чтобы предотвратить повредить компоненты.
Используйте инструмент для снятия пластиковой панели, чтобы удалить детали внутренней отделки без повреждения поверхности.
Будьте осторожны, чтобы не погнуть и не поцарапать обивку и панели.
1.
Отсоедините отрицательную (-) клемму аккумуляторной батареи.
2.
Чтобы снять ручку переключения передач и защитные чехлы (А), потяните их вверх.

3.
Снимите верхнюю крышку напольной консоли (А) с помощью отвертка или съемник.

4.
Отсоедините разъемы (А) от верхней крышки консоли. на полу.

5.
Снимите задний переключатель системы помощи при парковке (А) с крышки. верхнюю консоль к полу после ослабления крепежных винтов.

СРЕДСТВО
1.
Установите задний переключатель системы помощи при парковке.
2.
Установите верхнюю крышку напольной консоли.
3.
Установите ручку переключения передач и чехлы рычага переключения передач.
4.
Подсоедините отрицательную (-) клемму аккумуляторной батареи.
Убедитесь, что разъемы подключены правильно.
Убедитесь, что система RPAS работает правильно.
Датчик помощи при парковке
Компоненты и расположение компонентов составление Процедуры ремонта ДЕПОЗИТ 1. Отсоедините отрицательную (-) клемму аккумуляторной батареи. ...

Задняя камера
...
Другие материалы:

Интегрированная система управления режимом движения
Режим движения можно выбрать по желанию водителя или состояние дороги. Система сбрасывается в НОРМАЛЬНОЕ режим при перезапуске двигателя. Информация Если есть проблема с инструментом кластер, режим диска будет в НОРМАЛЬНЫЙ режим и не может измениться на СПОРТ м...

Принципиальные диаграммы
Схематические диаграммы ТЕРМИНАЛ ФУНКЦИЯ ИМЯ РАЗЪЕМА пин код Имя Функция MDPS_Power A 1 Б: АККУМУЛЯТОР + 2 МАССА ...