Hyundai Tucson manuels

Руководство по обслуживанию и ремонту Hyundai Tucson: Переключатель DBC

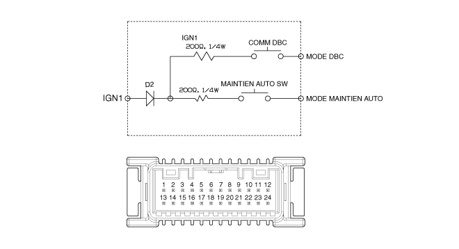
Описание и работа

Описание
Функция DBC является аббревиатурой от функции управления торможением на спуске. Когда автомобиль спускается по склону, переключатель DBC позволяет транспортное средство, чтобы поддерживать его постоянную скорость без необходимости работать педаль тормоза. Функция DBC работает, когда автомобиль находится на уклоне. и что его скорость ниже заданной скорости.

Процедуры ремонта

Контроль
1.
Установите ключ зажигания в положение OFF и отсоедините кабель. отрицательный (-) аккумулятор.
2.
Снимите верхнюю крышку консоли.
(См. Группу кузовов — «Консоль пола»)
3.
Снимите разъем (А).

4.
Проверьте целостность цепи между клеммами переключателя. при включении переключателя DBC.

Выключатель ESC
Описание и работа Описание 1. Выключатель ESC OFF предназначен для выключения системы пользователем. ESC. 2. ...

Сигнализация аварийной остановки: описание и работа
Описание Внедрение системы раннего предупреждения о торможении (ESS) В случае резкого торможения водителем включается стоп-сигнал или указатели поворота. моргать для ав...
Другие материалы:

Порядок ремонта прокладки капота
ЗАМЕНА 1. Освободите зажимы и снимите уплотнение крышки (А). • Будьте осторожны, чтобы не поцарапать джо...

Воздушный фильтр салона
Проверка фильтра салонный фильтр надо менять согласно Графику технического обслуживания. Если автомобиль эксплуатируется в условиях сильного загрязнения воздуха города или пыльные неровные дороги в течение длительного времени, он должен быть проверен чаще и заменяют раньше. Замените салонный фильтр следующим образом...