Hyundai Tucson manuels

Руководство по обслуживанию и ремонту Hyundai Tucson: ПЕРЕДНЯЯ СТОЙКА В СБОРЕ

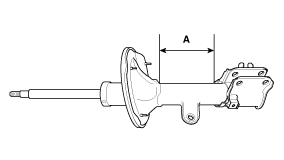
Компоненты и расположение компонентов

КОМПОНЕНТЫ

1. Шатун в сборе
2. Изолятор
3. Подшипник
4. Верхняя пружинная подушка
5. Весна
6. Пылезащитная крышка
7. Нижняя пружинная подушка

Процедуры ремонта

ДЕПОЗИТ
1.
Снимите переднее колесо/шину в сборе (А) со ступицы.
Момент затяжки:
88,2 ~ 107,8 Н·м (9,0 ~ 11,0 кгс·м, 65,0 ~ 79,5 фунт-фут)

Будьте осторожны, чтобы не повредить болты ступица, пока вы снимаете переднее колесо и шину (В).
2.
Снимите тормозной шланг и датчик скорости вращения колеса с переднюю стойку в сборе, ослабив болты крепления (В).
Момент затяжки:
6,9 ~ 10,8 Нм (0,7 ~ 1,1 кгс·м; 5,1 ~ 8,0 фунт-фут)

3.
Снимите фитинг стабилизатора поперечной устойчивости (В) с поперечины в сборе. (А) ослабив гайку.
Момент затяжки:
98,1 ~ 117,7 Н·м (10,0 ~ 12,0 кгс·м, 72,3 ~ 86,8 фунт-фут)

4.
Ослабив болты крепления стойки, снимите узел. сиденье (А).
Момент затяжки:
156,9 ~ 176,5 Н·м (16,0 ~ 18,0 кгс·м, 115,7 ~ 130,2 фунт-фут)

5.
Снимите верхнюю крышку капота.
(См. Группа кузовных работ — «Верхняя крышка тента»)
6.
Снимите переднюю стойку, ослабив крепежные гайки. стойки.
Момент затяжки:
53,9 ~ 73,5 Н·м (5,5 ~ 7,5 кгс·м, 39,8 ~ 54,2 фунт-фут)

7.
Для установки выполните процедуру, обратную снятию.
РАЗБОРКА
1.
Снимите пылезащитную крышку (А).

2.
Сожмите винтовую пружину (А) с помощью специального инструмента (09546-26000).
Не сжимайте пружину больше, чем необходимо.

3.
С помощью SST (09546-3X100) ослабьте контргайку.

4.
Снимите изолятор, тарельчатую пружину, цилиндрическую пружину и пыльник стойки.
Контроль
1.
Убедитесь, что изолятор амортизатора не поврежден и не изношен.
2.
Убедитесь, что резиновые детали не имеют трещин и повреждений.
3.
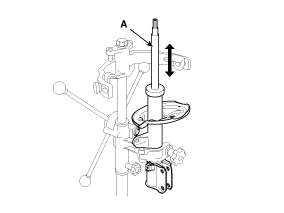
Сожмите и выдвиньте шток поршня (А) и убедитесь, что нет ненормальное сопротивление или ненормальный шум во время работы.

Депозит
1.
Полностью выдвиньте шток поршня.
2.
Сделайте отверстие в секции «А» для удаления газа из баллона.

Выходящий газ безвреден, но будьте осторожны стружка, летящая во время сверления.
Обязательно надевайте защитную одежду и очки при выполнении этой задачи.
Сборка
1.
Установите изолятор, тарельчатую пружину, спиральную пружину. и пыльник стойки.
2.
Сожмите винтовую пружину (А) с помощью специального инструмента (09546-26000).
Не сжимайте пружину больше, чем необходимо.

3.
С помощью SST (09546-3X100) установите стопорную гайку.

Компоненты и расположение компонентов
расположение компонента 1. Фальшивая рама 2. Шаровой шарнир шатуна 3. Стабилизатор поперечной устойчивости 4. Рулевой редуктор 5. Весь...

Передний нижний рычаг
Компоненты и расположение компонентов КОМПОНЕНТЫ 1. Шаровой шарнир в сборе 2. Передний нижний рычаг в сборе Процедуры ремонта ...
Другие материалы:

Компоненты и расположение компонентов
КОМПОНЕНТЫ 1. Дерево впускной кулачок 2. Распредвал выпускных клапанов 3. Впускной вариатор 4. Выпускной вариатор 5. Цепь ГРМ 6. Рычаг натяжителя цепи ГРМ. 7. Натяжитель цепи ГРМ...

Описание и работа
Описание BSD — это система, измеряющая скорость и расстояние до движущихся сзади транспортных средств. с помощью двух радиолокационных датчиков электромагнитных волн, установленных на бампере назад; он обнаруживает любое транспортное средство в слепой зоне и излучает ...