Hyundai Tucson manuels

Hyundai Tucson Automotive Service Manual: гибкое рулевое управление

Описание и работа

ИНСТРУКЦИЯ
Flex Steering — это система, которая выбирает один из трех режимов рулевого управления. помощь в зависимости от предпочтений водителя или условий вождения.
Дисплей на комбинации приборов, но гидроусилитель руля не меняется при манипулировании рулем.
Из соображений безопасности режим меняется автоматически при манипуляции с рулем завершены.
Обязательно меняйте осторожно во время вождения.
Если не работает электроусилитель руля (ЭУР) из-за неисправности "гибкое рулевое управление" может не функция.
Функционирование
Первая запись: Отображает текущий режим на комбинации приборов. (4 секунды)
Добавление записи (4 секунды): Режим последовательно меняется.

Два режима рулевого управления
НОРМАЛЬНЫЙ: Основной режим
СПОРТ: в основном используется для движения по шоссе и с большей поддержкой.

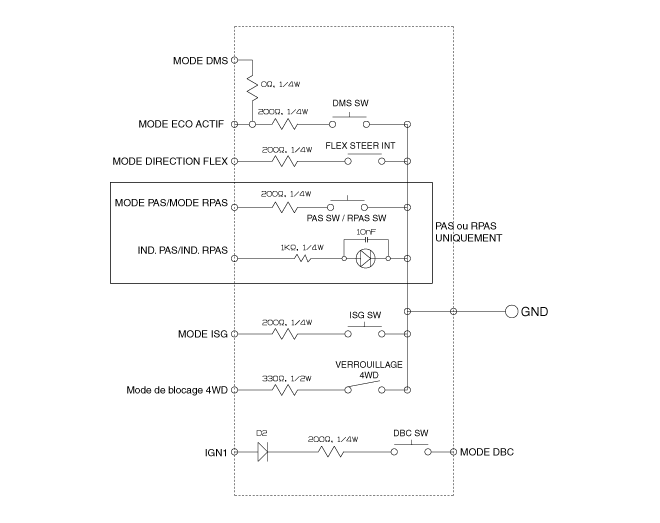
Принципиальные диаграммы

ТЕРМИНАЛ ФУНКЦИЯ

Нет.
Описание
Нет.
Описание
1
ВСЕ1
13
КЛ (+)
2
РЕЖИМ КБР
14
ИНД НЕ
3
ГИБКИЙ РЕЖИМ РУЛЕВОГО УПРАВЛЕНИЯ
15
CN
4
РЕЖИМ ISG
16
РЕЖИМ ДМС
5
РЕЖИМ PAS/RPAS
17
ИНД. ПАС/ДПАС
6
Эко-режим активен
18
CN
7
Б.
19
CN
8
РЕЖИМ БЛОКИРОВКИ ПОЛНОГО ПРИВОДА
20
РЕЛАКСАЦИЯ ВХОД
9
ИНД. ISG
21
CN
10
ШАГОВЫЙ РЕЖИМ
22
CN
11
CN
23
CN
12
КЛ (+)
24
МАССА

Принципиальная электрическая схема

Процедуры ремонта

ЗАМЕНА
1.
Отсоедините отрицательный кабель аккумуляторной батареи.
2.
Снимите верхнюю крышку напольной консоли.
(См. группу Кузов - "Консоль")
3.
Снимите разъем переключателя EPB (A).

4.
Активируйте переключатель ESC OFF и проверьте наличие непрерывности между клеммами переключателя.

Нет.
Описание
Нет.
Описание
1
ВСЕ1
13
КЛ (+)
2
РЕЖИМ КБР
14
ИНД НЕ
3
ГИБКИЙ РЕЖИМ РУЛЕВОГО УПРАВЛЕНИЯ
15
CN
4
РЕЖИМ ISG
16
РЕЖИМ ДМС
5
РЕЖИМ PAS/RPAS
17
ИНД. ПАС/ДПАС
6
Эко-режим активен
18
CN
7
Б.
19
CN
8
РЕЖИМ БЛОКИРОВКИ ПОЛНОГО ПРИВОДА
20
РЕЛАКСАЦИЯ ВХОД
9
ИНД. ISG
21
CN
10
ШАГОВЫЙ РЕЖИМ
22
CN
11
CN
23
CN
12
КЛ (+)
24
МАССА

Рулевое колесо с подогревом
Описание и работа Описание Подушечки с подогревом для сцепления с направлением. 1. Подогрев рулевой рейки Т...

Рулевое управление с электроприводом
...
Другие материалы:

Обогрев заднего стекла
УВЕДОМЛЕНИЕ Во избежание повреждения задней части токопроводящие элементы оконного обогревателя приклеивается к внутренней поверхности задней окна, никогда не используйте острые инструменты или средства для мытья окон, содержащие абразивы чтобы вымыть окно. Дефростер нагревает окно для удаления инея, тумана и тонкий лед изнутри К ...

Терминология и определения шин
Давление воздуха Количество воздуха внутри прессовочной шины наружу на шине. Давление воздуха выражается в фунтах на квадратный дюйм (psi) или килопаскаль (кПа). Дополнительный вес Это означает, что общий вес дополнительные аксессуары. Некоторые примеры дополнительных аксессуаров являются автоматическими переадресация, ...