Hyundai Tucson manuels

Hyundai Tucson Automotive Service Manual: Описание и работа

Описание ЭСК
Электронный контроль устойчивости (ESC) распознает условия вождения критические, такие как реакции, связанные с паникой в ​​ситуациях опасно и стабилизирует транспортное средство, выполняя индивидуальное торможение колесо и вмешательство в управление двигателем.
ESC добавляет дополнительную функцию под названием «Активное управление движением». рыскания (AYC) к функциям ABS, TCS, EBD и ESC. Пока функция ABS/TCS контролирует проскальзывание колес при торможении и ускорении и, таким образом, вмешивается главным образом в продольную динамику автомобиля, управление Активный рыскание стабилизирует автомобиль вокруг его вертикальной оси.
Это достигается за счет действия индивидуального тормоза колеса и адаптации мгновенный крутящий момент двигателя без необходимости действий водителя.
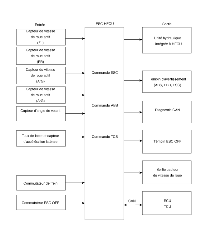
Устройство ESC в основном состоит из трех узлов: датчиков, электронный блок управления и приводы.
Система курсовой устойчивости работает в любых условиях движения. вождение или дорога. При определенных условиях вождения функция ABS/TCS можно активировать одновременно с функцией ESC в ответ на команду водителя.
Если функция контроля устойчивости выходит из строя, функция безопасности базовая, ABS, сохраняется.

Описание управления ESC
Система ESC включает функции ABS/EBD, TCS и AYC.
Функция ABS/EBD: ЭБУ изменяет активный сигнал датчика (текущее смещение) от четырех колесных датчиков прямоугольной формы. С сигнальным входом ниже ЭБУ рассчитывает скорость автомобиля, ускорение и замедление из четырех колес. И ECU решает, следует ли активировать ABS/EBD или нет.
Функция TCS предотвращает проскальзывание рулевого колеса, добавляя снижение тормозного давления и крутящего момента двигателя через связь МОЖЕТ. Функция TCS использует сигнал датчика скорости вращения колеса для определения проскальзывание колес как функция ABS.
Функция AYC предотвращает неустойчивое движение автомобиля. Чтобы определить маневрируя автомобилем, функция AYC использует сигналы датчиков от маневр (датчик угла рыскания, датчик поперечного ускорения, угол поворота руля).
Если маневр автомобиля нестабилен (избыточная и недостаточная поворачиваемость), функция AYC оказывает тормозное давление на определенное колесо и посылает сигнал снижение крутящего момента двигателя через CAN.
После зажигания ЭБУ постоянно проверяет системные ошибки. (самодиагностика) Если в системе обнаружена ошибка, ЭБУ (электронный блок управления) информирует об этом водителя с помощью сигнальной лампы BRAKE/ABS/ESC. (рог отказоустойчивый)

Диаграмма ввода и вывода

РЕЖИМ РАБОТЫ ЕСП
СХЕМА ГИДРАВЛИЧЕСКОЙ СИСТЕМЫ ESP

1.
ESP не активна: нормальное торможение
соленоидный клапан
Преемственность
Клапан
Насос двигателя
Клапан КТ
ВХОД (НЕТ)
ВЫКЛЮЧЕННЫЙ
открытие
ВЫКЛЮЧЕННЫЙ
ВЫКЛЮЧЕННЫЙ
ВЫХОД (НЗ)
ВЫКЛЮЧЕННЫЙ
закрытие

2.
работа ЭСП
соленоидный клапан
Преемственность
Клапан
Насос двигателя
Клапан КТ
недостаточная поворачиваемость
(Только внутри заднего колеса)
В (НЕТ)
ВЫКЛЮЧЕННЫЙ
открытие
МЫ
МЫ
ВЫКЛ (НЗ)
ВЫКЛЮЧЕННЫЙ
закрытие
избыточная поворачиваемость
(Только снаружи переднего колеса)
В (НЕТ)
ВЫКЛЮЧЕННЫЙ
открытие
ВЫКЛ (НЗ)
ВЫКЛЮЧЕННЫЙ
закрытие

МОДУЛЬ СИГНАЛЬНОЙ СИГНАЛИЗАЦИИ АБС
Сигнальная лампа АБС указывает на самопроверку АБС и состояние неисправности. НАШИ Горит сигнальная лампа АБС:
Во время фазы инициализации после ALL ON. (непрерывно 3 секунды).
В случае деактивации функций ABS, связанных с неисправностью.
В диагностическом режиме.
Когда разъем ECU отделен от ECU.
Индикатор комбинации приборов горит, когда связь невозможно с модулем CAN.
МОДУЛЬ СИГНАЛИЗАТОРА EBD / СТОЯНОЧНЫЙ ТОРМОЗ
Активный модуль контрольной лампы АБС указывает на самопроверку и состояние Неисправность АБС. Однако, если переключатель стояночного тормоза активирована, сигнальная лампа EBD будет гореть независимо от текущую функцию EBD. Контрольная лампа EBD должна гореть :
Во время фазы инициализации после ALL ON. (непрерывно 3 секунды).
Когда переключатель стояночного тормоза включен или когда уровень тормозной жидкости мало.
Когда функция EBD неисправна.
В диагностическом режиме.
Когда разъем ECU отделен от ECU.
Индикатор комбинации приборов горит, когда связь невозможно с модулем CAN.
Функция ESP/сигнальная лампа (система ESP)
Предупреждающая/функциональная лампа ESP указывает на самопроверку и состояние работу ЭСП.
Контрольная лампа функции ESP загорается в следующих случаях. :
Во время фазы инициализации после ALL ON. (непрерывно 3 секунды).
Когда функция ESP запрещена из-за сбоя системы.
Когда работает система ESP. (мигает - 2 Гц)
В режиме диагностики. (Кроме стандартного режима)
Индикатор комбинации приборов горит, когда связь невозможно с модулем CAN.
Сигнальная лампа ESP OFF (система ESP)
Световой индикатор ESP OFF указывает на самопроверку ESP и рабочее состояние.
Контрольная лампа ESP OFF горит в следующих случаях:
В режиме инициализации после ALL ON. (непрерывно 3 секунды).
Сигнальная лампа ESP Off загорается, когда водитель активирует переключатель ЕСП выкл.
Выключатель ESP ON/OFF (система ESP)
Переключатель ESP ON/OFF можно использовать для включения или выключения функции. ESP в соответствии с указаниями водителя.
Выключатель ВКЛ/ВЫКЛ должен быть нормально разомкнут, контактный выключатель щелчок. Выключатель зажигания запускает зажигание цепи.
активировано начальное состояние функции ESP и переключатель переключает состояние.
Компоненты и расположение компонентов
КОМПОНЕНТЫ 1. Модуль HECU 2. Датчик скорости переднего колеса 3. Выключатель ESC 4. Датчик скорости колеса задний (2WD) 5. Датчик скорости...

Принципиальные диаграммы
ПРИНЦИПАЛЬНАЯ СХЕМА Не применяется для EPB Подал заявку на EPB ТЕРМИНАЛ ФУНКЦИЯ Не применяется для EPB ...
Другие материалы:

Боковая стенка для хранения
Открывающаяся/закрывающаяся боковая стенка хранилище Поверните две ручки, чтобы открыть/закрыть крышку Розетка Розетка находится в пассажирском салоне боковая боковая стенка боковой бункер для хранения. Использование розетки 1. Поверните две ручки влево, чтобы открыть крышка. 2. Откройте крышку и подключите прибор немного. ...

капюшон
Открытие капота 1. Припаркуйте автомобиль и установите парковку тормоз. 2. Потяните рычаг разблокировки, чтобы разблокировать капюшон. Капот должен открыться немного. 3. Подойдите к передней части автомобиля, поднимите капот слегка, приподнимите вторичный защелка (1) внутри центра капота и поднимите капот. 4. Свитер...