Hyundai Tucson manuels

Руководство по обслуживанию и ремонту Hyundai Tucson: крышка и диск сцепления

Компоненты и расположение компонентов

КОМПОНЕНТЫ

1. Диск сцепления
2. Крышка сцепления
3. Механическая коробка передач
4. Маховик
5. Выжимной подшипник
6. Выпускная вилка
7. Сильфоны

Процедуры ремонта

ДЕПОЗИТ
1.
Снимите коробку передач в сборе.
(См. Система механической коробки передач — «Механическая коробка передач»)
2.
Снимите болты крышки сцепления. Будьте осторожны, чтобы не перевернуть болты. Ослабьте болты по диагонали.

Контроль
1.
Проверьте износ диафрагменной пружины, которая находится в контакте с концентрический подшипник рабочего цилиндра.
2.
Проверьте, не изношена ли поверхность диска сцепления и кожуха сцепления. или треснул.
3.
Убедитесь, что накладка диска сцепления не скользкая и не замасленная.
4.
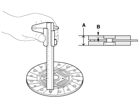
Измерьте глубину от поверхности накладки сцепления до заклепки. Если измеренное значение ниже указанного ниже значения, заменять.
Толщина диска сцепления (A) [если возможно]: 8,7 ± 0,3 мм (0,3425 ± 0,012 дюйма)
Толщина заклепки диска сцепления (B): 0,3 мм (0,0118 в.)

СРЕДСТВО
Если вы устанавливаете старую крышку, она должна быть устанавливается вместе с диском сцепления в комплекте.
1.
Замените кожух сцепления и диск в комплекте.
При замене только одного диска существует риск проскальзывания из-за потери нагрузки из-за износа неровная поверхность.
Когда вы заменяете только один диск, это может трудно отрезать ток, потому что толщина диска не позволяет.
2.
При необходимости нанесите смазку на шлицевую часть диска. и на шлицевой части первичного вала коробки передач.
Возможные проблемы, если вы этого не сделаете
Если не наносить: есть риск чрезмерного износа шлицы сцепления и неисправность.
Если вы нанесете слишком много смазки: смазка может рассеиваться за счет центробежной силы, которая может загрязнить диск сцепления. Это может привести к потеря силы трения, вызывающая проскальзывание.

3.
Поверхность с маркировкой «SIDE T/M» должна быть обращена к задней оси кузова. скоростей.
Возможные проблемы при установке диска в направлении противоположный.
Возможны помехи между рабочим цилиндром концентрично со стороны ТМ и поверхности маховика двигателя.
Может быть ошибка переключения передачу или странный звук из-за разъединение сцепления.
Концентрический рабочий цилиндр может сломаться. В В этом случае его необходимо заменить новым.

4.
Установите диск сцепления и крышку с помощью SST (№: 09411-1P000).

5.
Установите болты крышки сцепления. Затяните их по диагонали чтобы они не погнулись и не перекрутились.
Момент затяжки:
24,5 ~ 35,3 Н·м (2,5 ~ 3,6 кгс·м, 18,1 ~ 26,0 фунт-фут)
Слегка затяните все болты крышки сцепления, затяните их в соответствии со спецификацией по диагонали. Это может предотвратить скручивание, вибрацию крышки и подъем прижимной пластины.
Установите все компоненты с указанным моментом затяжки. Если нет, то редуктор крутящего момента сцепления может быть проблема или крепежный болт может ослабить.

6.
Установите механическую коробку передач.
(См. Система механической коробки передач — «Механическая коробка передач»)
система сцепления
...

Управление замком зажигания
Технические характеристики Технические характеристики Элемент Технические характеристики Рабочее напряжение 12 В постоянного тока Рабочая сила...
Другие материалы:

Наружная ручка задней двери
Компоненты и расположение компонентов РАСПОЛОЖЕНИЕ КОМПОНЕНТОВ 1. Наружная дверная ручка назад Процедуры ремонта ЗАМЕНА 1. Снимите отверстие для заглушки (B). 2. ...

Электрические стеклоподъемники
Выключатель зажигания должен быть в положении ON положение, позволяющее поднять или опустить окна. У каждой двери есть Сила Переключатель окна для управления этой дверью окно. У водителя есть стеклоподъемник Переключатель блокировки, который может заблокировать работы пассажирских окон. Чай электрические стеклоподъемники будут работать около ...