Hyundai Tucson manuels

Руководство по обслуживанию и ремонту Hyundai Tucson: Тормозная магистраль

Компоненты и расположение компонентов

КОМПОНЕНТЫ
ЛЕВЫЙ ПРИВОД

(ПРЯМОЙ ПРИВОД)

Процедуры ремонта

ДЕПОЗИТ
1.
Отсоедините разъем переключателя уровня жидкости от тормоза и снимите крышку бачка.
2.
Слейте тормозную жидкость из бачка главного тормозного цилиндра с помощью шприца.
Не лейте тормозную жидкость на автомобиль: это может повредить лакокрасочное покрытие, если охлаждающая жидкость тормоз соприкасается с краской. мыть немедленно у воды.
3.
Снимите колесо и шину.
4.
Снимите хомут тормозного шланга (А).
5.
Отсоедините тормозной шланг, ослабив накидную гайку шланга. (Б).
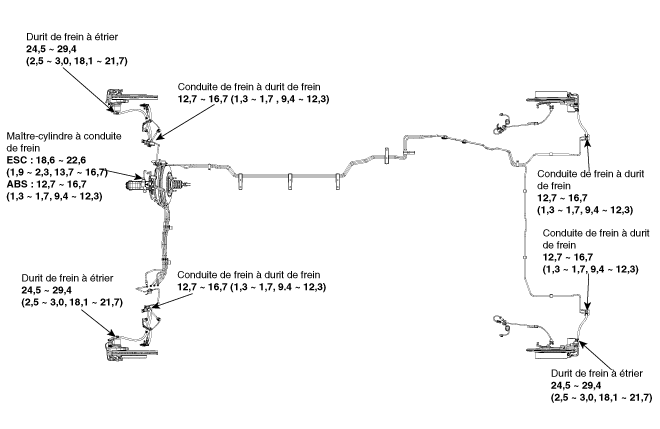
Момент затяжки:
12,7 ~ 16,7 Н·м (1,3 ~ 1,7 кгс·м, 9,4 ~ 12,3 фунт-фут)
ДО

НАЗАД

6.
Отсоедините тормозной шланг (А) от тормозного суппорта, ослабив болт.
Момент затяжки:
24,5~29,4 Н·м (2,5~3,0 кгс·м, 18,1~21,7 фунт-фут)
ДО

НАЗАД

Контроль
1.
Убедитесь, что тормозные шланги не имеют трещин, пережатий или коррозии.
2.
Убедитесь, что тормозные магистрали не имеют трещин, повреждений и чтобы жидкости не было.
3.
Убедитесь, что накидные гайки тормозной магистрали не поврежден и что нет утечки жидкости.
4.
Убедитесь, что монтажный кронштейн тормозного шланга не имеет трещины или деформации.
СРЕДСТВО
1.
Для установки выполните процедуру, обратную снятию.
Используйте новую шайбу (А) для каждой установки.

2.
После установки прокачайте тормозную систему.
(См. тормозная система - «прокачка тормозной системы»)
3.
Убедитесь, что тормозное масло не вытекает.
Главный цилиндр
Компоненты и расположение компонентов КОМПОНЕНТЫ 1. Резервуар 2. Винт 3. Кольцо 4. Главный цилиндр Процедуры ремонта ДЕПОЗИТ ...

Педаль тормоза
Компоненты и расположение компонентов КОМПОНЕНТЫ 1. Выключатель стоп-сигнала 2. Гайка 3. Возвратная пружина 4. Сборка поперечной балки там ...
Другие материалы:

Тип предупреждения
Система срабатывает при соблюдении следующих условий: 1.Система активна. 2. Скорость автомобиля превышает 30 км/ч (20 миль/ч). 3. Обнаружены следующие за вами транспортные средства. Оповещение уровня 1 Если транспортное средство обнаружено в зоне действия системы, вы...

Если вы решили буксировать прицеп?
Если вы решите буксировать прицеп, помните о следующих моментах: Рассмотрите возможность использования устройства контроля раскачивания. ТЫ Узнать об этом типе устройств можно у продавца прицепов. Не буксируйте прицепы своим...