Hyundai Tucson manuels

Руководство по обслуживанию и ремонту Hyundai Tucson: компоненты и расположение компонентов

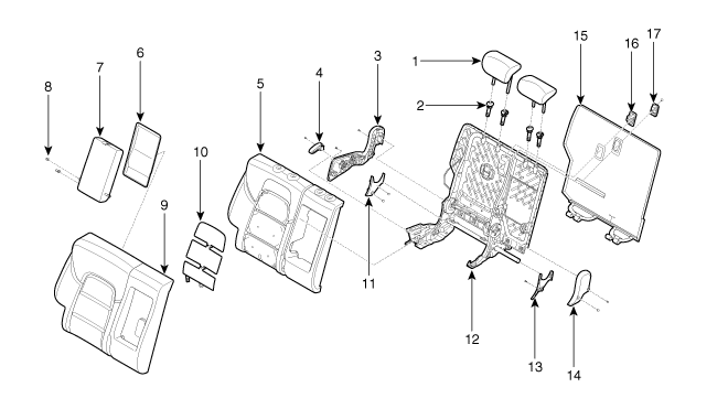
КОМПОНЕНТЫ
(ЛЕВЫЙ)

1. Подголовник заднего сиденья
2. Направляющая подголовника заднего сиденья
3. Внутренняя защитная крышка внутренней подушки заднего сиденья.
4. Внутренний защитный чехол подушки заднего сиденья.
5. Обивка спинки заднего сиденья
6. Обогрев спинки заднего сиденья
7. Обивка спинки заднего сиденья
8. Весь каркас спинка заднего сиденья
9. Внутренний чехол наружной подушки заднего сиденья.
10. Внешний защитный чехол подушки заднего сиденья.
11. Кнопка наклона заднего сиденья.
12. Коврик на спинку заднего сиденья
13. Крышка детского якоря

(Верно)

1. Подголовник заднего сиденья
2. Направляющая подголовника заднего сиденья
3. Внешний защитный чехол подушки заднего сиденья.
4. Кнопка наклона заднего сиденья.
5. Обивка спинки заднего сиденья
6. Панель подлокотника заднего сиденья
7. Подлокотник заднего сиденья в сборе
8. Распорка подлокотника заднего сиденья
9. Обивка спинки заднего сиденья
10. Обогрев спинки сиденья назад
11. Внутренний чехол наружной подушки заднего сиденья.
12. Каркас спинки заднего сиденья в сборе
13. Внутренняя защитная крышка подушки заднего сиденья.
14. Внутренний защитный чехол подушки заднего сиденья.
15. Коврик на спинку заднего сиденья
16. Крышка детского якоря
17. Подвеска заднего сиденья

ЗАДНЕЕ СИДЕНЬЕ
...

Заднее сиденье в сборе
Компоненты и расположение компонентов РАСПОЛОЖЕНИЕ КОМПОНЕНТОВ 1. Подушка сиденья в сборе назад 2. Спинка сиденья в сборе назад ...
Другие материалы:

Процедуры ремонта
ОСНОВЫ ОБСЛУЖИВАНИЯ СИСТЕМА ХЛАДАГЕНТА РЕКУПЕРАЦИЯ ХЛАДАГЕНТА Используйте только те материалы для технического обслуживания, которые перечислены и сертифицированы UL. Соответствует требованиям SAE J2210 для заправки хладагентом HFC-134a (R-134a) системы...

Поиск неисправностей
▶Диагностика неисправностей Механизм безопасности, обеспечивающий удержание 4-й передачи для экстренного вождения чтобы иметь возможность отвезти автомобиль к владельцу или дилеру. • ...