Hyundai Tucson manuels

Руководство по обслуживанию и ремонту Hyundai Tucson: Процедуры ремонта переключателя EPB

ДЕПОЗИТ
переключатель стояночного тормоза
1.
Отсоедините отрицательный кабель аккумуляторной батареи.
2.
Снимите верхнюю крышку напольной консоли.
(См. группу Кузов - "Консоль")
3.
Снимите разъем переключателя EPB (A).

4.
Для установки выполните процедуру, обратную снятию.
Контроль
1.
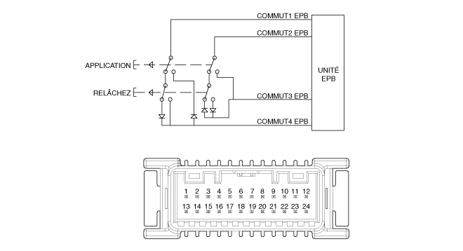
Проверьте целостность цепи между клеммами переключателя. при включении переключателя EPB.

Пин №
Функция
Пин №
Функция
1
ВСЕ1
13
КЛ (+)
2
РЕЖИМ КБР
14
ИНД НЕ
3
CN
15
ИНД СПАС
4
РЕЖИМ ISG
16
РЕЖИМ ДМС
5
РЕЖИМ PAS/RPAS
17
ИНД. ПАС/ДПАС
6
Эко-режим активен
18
ЭПБ SW 4
7
Б.
19
EPB SW 2
8
РЕЖИМ БЛОКИРОВКИ ПОЛНОГО ПРИВОДА
20
РЕЛАКСАЦИЯ ВХОД
9
ИНД. ISG
21
АВТОМАТИЧЕСКИЙ РЕЖИМ УДЕРЖАНИЯ
10
ШАГОВЫЙ РЕЖИМ
22
EPB SW 3
11
РЕЖИМ СПА
23
ЭПБ SW 1
12
КЛ (+)
24
МАССА

Электрический стояночный тормоз (EPB)
Описание и работа Описание Описание ЭПБ EPB — электронный стояночный тормоз. EPB отличается от систем существующие парковки, которые...

АБС (антиблокировочная тормозная система)
...
Другие материалы:

Сиденье с вентиляционным отверстием
Компоненты и расположение компонентов РАСПОЛОЖЕНИЕ КОМПОНЕНТОВ 1. Сиденье с вентиляцией (только пассажирское сиденье) 3. Обдув сиденья Принципиальные диаграммы Принципиальная электрическая схема Процедуры ремонта...

Если двигатель не запускается
Обязательно переключите передачу на N (нейтраль) или P (Парковка). Двигатель запускается только когда передача находится в положении N (нейтраль) или P (Парк). Включите внутренний свет. Если свет тускнеет или гаснет, когда вы работаете стартер, аккумулятор разряжен. См. инструкции для «Запуска от внешнего источника». предоставил ...