Hyundai Tucson manuels

Hyundai Tucson Руководство по обслуживанию и ремонту: Цепь ГРМ

Компоненты и расположение компонентов

КОМПОНЕНТЫ

1. Дерево впускной кулачок
2. Распредвал выпускных клапанов
3. Впускной вариатор
4. Выпускной вариатор
5. Цепь распределения
6. Рычаг натяжителя цепи ГРМ.
7. Натяжитель цепи ГРМ
8. Руководство по цепи привода ГРМ

Процедуры ремонта

ДЕПОЗИТ
1.
Снимите крышку головки блока цилиндров.
(См. Головка цилиндра — «Крышка головки цилиндра»)
2.
Установите цилиндр №1 в ВМТ (верхнюю мертвую точку) такта сжатия.
(1)
Поверните шкив коленчатого вала и совместите его канавку с Метка на крышке цепи ГРМ.

(2)
Убедитесь, что метки ВМТ на впускных шестернях CVVT и выхлоп находятся на прямой линии на поверхности головки блока цилиндров как показано на иллюстрации. В противном случае проверните коленчатый вал на один оборот (360°) больше.

Не проворачивайте шкив коленчатого вала в направлении реверс по часовой стрелке.
3.
Снимите крышку цепи привода ГРМ.
(См. Система синхронизации - "Крышка цепи распределение")
4.
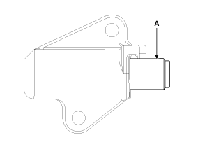
Снимите натяжитель цепи ГРМ (А).

Не используйте отсоединенный натяжитель повторно.
Если вам нужно повторно использовать натяжитель, снимите натяжитель, убедитесь, что поршень (А) выступает как можно дальше, нажмите поршень (A) до упора, затем установите штифт останавливаться.
При этом фиксирующий штифт натяжителя должен быть размещены так же, как когда продукт был выпущен с завода.

5.
Снимите рычаг натяжителя цепи ГРМ (А).

6.
Снимите цепь привода ГРМ (А).

7.
Снимите направляющую цепи привода ГРМ (А).

Контроль
ЗВЕЗДОЧКИ, НАТЯЖИТЕЛЬ ЦЕПИ, НАПРАВЛЯЮЩАЯ ЦЕПИ, РЫЧАГ НАТЯЖИТЕЛЯ ЦЕПИ
1.
Проверьте CVVT и звездочку коленчатого вала на предмет износа, трещины или аномальные повреждения. При необходимости замените.
2.
Проверьте рычаг натяжителя и направляющую цепи на наличие не имеет ненормального износа, трещин или повреждений. При необходимости замените.
3.
Убедитесь, что поршень натяжителя свободно перемещается.
СРЕДСТВО
1.
Метки ВМТ впускной и выпускной шестерни CVVT повернуты немного от положения ВМТ, как показано, когда цепь раздача снята.

2.
Поверните коленчатый вал по часовой стрелке (примерно на 1-2 шага) от Положение ВМТ (штифт коленчатого вала (А) находится приблизительно 3° вертикальной линии двигателя) как вращение впускной шестерни CVVT из положения ВМТ.

3.
Установите направляющую цепи привода ГРМ (А).
Момент затяжки:
18,6 ~ 22,6 Н·м (1,9 ~ 2,3 кгс·м, 13,7 ~ 16,6 фунт-фут)

4.
Установите рычаг натяжителя цепи ГРМ (А).
Момент затяжки:
18,6 ~ 22,6 Н·м (1,9 ~ 2,3 кгс·м, 13,7 ~ 16,6 фунт-фут)

5.
Установите цепь привода ГРМ.
Звездочка коленчатого вала (A) → Направляющая цепи ГРМ (B) → Впускная звездочка CVVT (C) → Выпускная звездочка CVVT (Д)
(1)
Установите цепь привода ГРМ так, чтобы между звездочками не было провисания. коленчатый вал и впускной механизм CVVT.

Метки времени каждой звездочки должны совпадать с маркировкой (цветная пряжа) цепи ГРМ при установке последнего.
(2)
Установите цепь привода ГРМ на звездочку выпускного CVVT. без люфта, повернув узел CVVT по часовой стрелке.

Метка синхронизации выхлопной звездочки CVVT должно соответствовать метке времени (цветная нить) цепи ГРМ при его установке.
Вставьте звенья цепи привода ГРМ на выпускной шестерне CVVT, чтобы предотвратить вращение шестерни.
6.
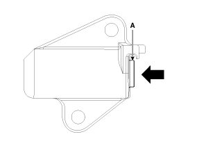
Установите автоматический натяжитель цепи привода ГРМ (А) и снимите стопорный штифт (В).
Момент затяжки:
9,8–11,8 Н·м (1,0–1,2 кгс·м, 7,2–8,7 фунт·фут)

При повторной установке натяжителя проверьте работу храповика натяжителя после удаления штифта максимально оттянув рычаг натяжителя как показано ниже.
Когда он полностью втянут, не должно быть заедание рычага натяжителя (А) и картера натяжитель (В)

7.
После поворота коленчатого вала на 2 оборота в сторону нормальный (по часовой стрелке, если смотреть спереди), подтвердите чем метки ВМТ на впускной и выпускной шестернях CVVT совмещены с верхней поверхностью головки блока цилиндров.

8.
Установите остальные детали в порядке, обратном снятию.
Заполните двигатель моторным маслом.
Очистите клеммы аккумулятора и клеммы кабеля, затем подниматься.
Убедитесь в отсутствии утечек топлива.
После сборки топливной магистрали включите зажигание (не включайте стартер), чтобы топливный насос работает примерно две секунды и что топливопровод может быть под давлением.
Повторите эту операцию два или три раза и убедитесь, что она утечек топлива в магистрали нет.
Крышка цепи ГРМ
Компоненты и расположение компонентов КОМПОНЕНТЫ 1. Крышка цепи распределение 2. Болт крышки и уплотнение на службе Процесс ...

Головка цилиндра в сборе
...
Другие материалы:

Устройство аварийного крепления (EFD)
Компоненты и расположение компонентов КОМПОНЕНТЫ 1. Система EFD (устройство аварийный ремонт) Описание и работа Описание Устройство аварийного крепления (EFD) работает совместно с...

Надлежащая практика вождения
Никогда не переводите рычаг переключения передач из положения P (Парковка) или N (Нейтраль) к любому другому положение с педалью акселератора депрессия. Никогда не переводите рычаг переключения передач в положение P (Парковка), когда автомобиль находится в движении. Убедитесь, что автомобиль полностью останавливается до того, как вы попытаетесь переключиться в R (Реверс) или D (Dr...