Hyundai Tucson manuels

Руководство по обслуживанию и ремонту Hyundai Tucson: Блок реле (моторный отсек)

Компоненты и расположение компонентов

РАСПОЛОЖЕНИЕ КОМПОНЕНТОВ
Клеммная колодка машинного отделения

Блок с металлическим сердечником (печатная плата)

Процедуры ремонта

Контроль
1.
Отсоедините отрицательную (-) клемму аккумуляторной батареи.
2.
Вытащите реле из блока реле в моторном отсеке.
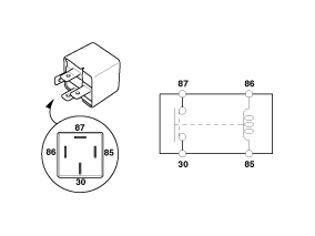
СИЛОВОЕ РЕЛЕ (ТИП А)
Проверьте непрерывность между клеммами.
1.
После подачи питания между клеммами реле № 85 и 86, проверьте, есть ли непрерывность между клеммами № 30 и 87.
2.
После отключения питания между клеммами реле №85 и 86, проверьте, нет ли обрыва цепи между выводами № 30 и 87.
Релейный блок моторного отсека

СИЛОВОЕ РЕЛЕ (ТИП B)
Проверьте непрерывность между клеммами.
1.
После подачи питания между клеммами реле № 85 и 86, проверьте, есть ли непрерывность между клеммами № 30 и 87.
2.
После отключения питания между клеммами реле №85 и 86, проверьте, нет ли обрыва цепи между выводами № 30 и 87.

Металлический блок печатной платы
1.
Отсоедините отрицательную (-) клемму аккумуляторной батареи.
2.
Удалите многоступенчатый предохранитель.
3.
Нажмите на четыре крючка (B) в направлении стрелки и поднимите металлический блок печатной платы (A).

4.
Снимите блок печатной платы с металлическим сердечником после отсоединения разъема.

Предохранитель
1.
Убедитесь, что держатели предохранителей закреплены свободно и что все предохранители надежно закреплены скобами.
2.
Убедитесь, что каждая цепь предохранителей имеет точную мощность предохранителя.
3.
Проверьте, не повреждены ли предохранители.
Если предохранитель необходимо заменить, обязательно замените его. на девятку той же вместимости. Всегда определяйте причину перегоревшего предохранителя и устранить любую проблему перед установкой нового предохранителя.
Многократный предохранитель
Предохранитель в моторном отсеке служит для оптимизации сборки.

Полный многоступенчатый предохранитель (A) необходимо заменить, даже если только предохранитель поврежден.
При замене ориентируйтесь на схему «Расположение компоненты моторного отсека», чтобы проверить грузоподъемность предохранители и схемотехника.
Используйте несколько предохранителей точной мощности предохранителя для каждого контура.
Компоненты и расположение компонентов
РАСПОЛОЖЕНИЕ КОМПОНЕНТОВ [Моторного отсека] 1. Комнатная клеммная колодка двигатель [Внутреннее реле] 1.Б...

Блок реле (салон)
Компоненты и расположение компонентов РАСПОЛОЖЕНИЕ КОМПОНЕНТОВ Внутренний клеммный блок Описание и работа Описание Диаграмма...
Другие материалы:

Переключатель стеклоподъемников
Компоненты и расположение компонентов КОМПОНЕНТЫ Переключатель стеклоподъемника водителя Переключатель стеклоподъемника пассажира Переключатель заднего электрического стеклоподъемника Принципиальные диаграммы принципиальная электрическая схема Подъемный выключатель...

Технические характеристики
Спецификация Система зажигания КАТУШКА зажигания Элемент Спецификация Сопротивление первичной обмотки (?) 0,75 ± 15% [20°C (68°F)] Сопротивление вторичной обмотки (к?...