Hyundai Tucson manuels

Hyundai Tucson Automotive Service Manual: АНТЕННА

Компоненты и расположение компонентов

КОМПОНЕНТЫ
[антенна AM/FM]

Процедуры ремонта

ДЕПОЗИТ
АНТЕННА НА КРЫШЕ
1.
Отсоедините отрицательную (-) клемму аккумуляторной батареи.
2.
Снимите обшивку крыши.
(См. Кузов — «Отделка крыши»)
3.
Отсоедините разъем и кабель антенны на крыше (А).

4.
Снимите антенну с крыши, ослабив гайку (А).

СРЕДСТВО
Антенна на крыше
1.
Подсоедините кабели и разъемы антенны на крыше.
2.
Установите хедлайнер.
Убедитесь, что кабели и разъемы подключены правильно.
Убедитесь, что аудиосистема работает правильно.
Контроль
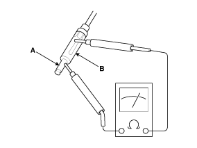
АНТЕННЫЙ КАБЕЛЬ
1.
Проверить наличие непрерывности между центральными полюсами кабеля антенна.

2.
Проверить наличие непрерывности между внешними полюсами кабеля антенна. Должна быть преемственность.

3.
Если непрерывности нет, замените кабель антенны.
4.
Проверьте наличие непрерывности между центральными полюсами (А) и внешние полюса (B) антенного кабеля. Не должно быть непрерывность.

5.
Если есть целостность, замените кабель антенны.
ДИНАМИКИ Процедуры ремонта
Контроль Устранение неполадок динамика При обращении с динамиком: - ...

аудио пульт дистанционного управления
Компоненты и расположение компонентов КОМПОНЕНТЫ 1. Переключите управление на левое расстояние (аудио + громкая связь) 2. Переключатель дистанционного управления д...
Другие материалы:

Впускной привод
Компоненты и расположение компонентов расположение компонента 1. Активатор приема Описание и работа Описание Привод впуска размещен на блоке нагнетателя. Он регулирует пор...

Принципиальные диаграммы
Принципиальная электрическая схема НЕТ люк на крыше СОЕДИНИТЕЛЬ (сторона автомобиля) люк на крыше СОЕДИНИТЕЛЬ (ДВИГАТЕЛЬ) Мотор панорамного окна (Владелец) солнцезащитный мотор (Жопа...