Hyundai Palisade: карданный вал в сборе / TJ шарнир

Hyundai Palisade (LX2) 2020-2023 Руководство по ремонту / Карданный вал и ось / Сборка карданного вала / ТиДжей Джойнт

Компоненты и расположение компонентов
Компоненты
[левый]

Hyundai Palisade. Components and components location

1. Сборка БЖ
2. Стопорное кольцо BJ
3. Ремешок для обуви BJ
4. Сапоги для минета
5. Вал
6. Ремешок для ботинок TJ
7. Ботинок TJ
8. Паук в сборе
9. Стопорное кольцо
10. Корпус ТЖ
11. Стопорное кольцо корпуса

[Правый]

Hyundai Palisade. Components and components location

1. Сборка БЖ
2. Стопорное кольцо BJ
3. Ремешок для обуви BJ
4. Сапоги для минета
5. Вал
6. Ремешок для ботинок TJ
7. Ботинок TJ
8. Паук в сборе
9. Клип
10. ТиДжей Кейс
11. Зажим
12. Стопорное кольцо корпуса

Процедуры ремонта
Удаление
Hyundai Palisade. Repair procedures
На шарнир карданного вала необходимо нанести специальную смазку. Не заменить смазкой другого типа.
Башмак следует заменить на новый.
1.
Снимите передний приводной вал.
(См. узел приводного вала — «Передний приводной вал»)
2.
Снимите стопорное кольцо корпуса (В) со шлица приводного вала (А).

Hyundai Palisade. Repair procedures

3.
Снимите оба хомута с корпуса TJ.

Hyundai Palisade. Repair procedures

Hyundai Palisade. Repair procedures

4.
Снимите корпус TJ (А).

Hyundai Palisade. Repair procedures

Hyundai Palisade. Repair procedures
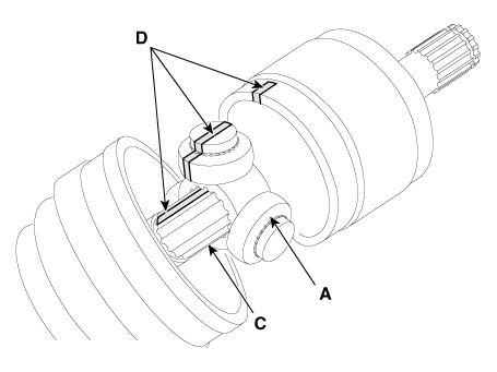
Нанесите установочные метки на узел ролика крестовины (A), корпус шарнира (B) и шлицы вала (C) для облегчения повторной сборки.

Hyundai Palisade. Repair procedures

5.
Снимите стопорное кольцо (А) с вала.

Hyundai Palisade. Repair procedures

6.
Снимите узел крестовины (B) с приводного вала (A), используя специальный инструмент (09495-33000).

Hyundai Palisade. Repair procedures

7.
Очистите крестовину в сборе.
8.
Снимите ботинок TJ (A).
Hyundai Palisade. Repair procedures
Для повторного использования чехла (A) оберните лентой (B) приводной вал. шлицы (C) для защиты чехла (A).

Hyundai Palisade. Repair procedures

осмотр
1.
Проверьте крестовину в сборе на вращение роликов, износ или коррозию.
2.
Проверьте канавку внутри корпуса шарнира на предмет износа или коррозии.
3.
Проверьте сапоги TJ на наличие повреждений и износа.
Монтаж
1.
Оберните ленту вокруг шлица приводного вала (TJ), чтобы предотвратить повреждение ботинок.
2.
Установите загрузочную ленту TJ, а затем загрузку TJ.
3.
Руководствуясь установочными метками (D), сделанными во время разборки, установите узел крестовины (A) и стопорное кольцо (B) на шлицах карданного вала (С).

Hyundai Palisade. Repair procedures

Hyundai Palisade. Repair procedures

4.
Добавьте указанную смазку в пыльник шарнира на столько, сколько было стерто. при осмотре.
5.
Установите оба загрузочных ремня.
6.
Чтобы контролировать воздух в ботинке TJ, соблюдайте указанное расстояние между резинки ботинок, когда они затянуты.
Двигатель
Расстояние (L) мм (дюймы)
левая сторона
Правая сторона
Лямбда 3,5 МПД / 3,8 GDI
566,4 (22,2992)
578,0 (22,7559)
Р 2.2 ТКИ
577,3 (22,7283)
573,4 (22,5748)

Hyundai Palisade. Repair procedures

7.
С помощью SST (09495-3K000) закрепите хомуты чехлов TJ.
Зазор (A): 2,0 мм (0,0787 дюйма) или менее

Hyundai Palisade. Repair procedures

Hyundai Palisade. Repair procedures

8.
Установите передний карданный вал.
(См. узел приводного вала — «Передний приводной вал»)
9.
Проверьте переднее выравнивание.
(См. Система подвески — «Выравнивание переднего колеса»)

Передний карданный вал

С..

Минет в сапогах

Компоненты и расположение компонентов Компоненты [левый] 1. Сборка БЖ 2. Стопорное кольцо BJ 3. Ремешок для обуви BJ 4...

Дополнительная информация:

Руководство по эксплуатации Hyundai Palisade (LX2) 2020-2023: Зона обнаружения


Зона обнаружения Smart Liftgate расширяется примерно на 20-40 дюймов (50-100 см) позади автомобиля. Если вы находитесь в зоне обнаружения области и несут смарт ключ, аварийная световая сигнализация включится. мигать, и раздастся звуковой сигнал около 3 секунд, чтобы предупредить вас, что умная задняя дверь откроется...

Hyundai Palisade (LX2) 2020-2023 Руководство по техническому обслуживанию: Регулировка зазоров клапанов


Проверка зазора клапана и регулировка (MLA) • Осмотрите и отрегулируйте зазор клапанов на холодном двигателе (двигатель температура охлаждающей жидкости: 20°C (68°F)) и головка блока цилиндров установлена к блоку цилиндров...

Категории

Не устанавливайте детское удерживающее устройство на переднем пассажирском сиденье

Hyundai Palisade. in the Front Passenger's Seat

Даже если ваш автомобиль оснащен с OCS никогда не устанавливайте дочерние удерживающее устройство на сиденье переднего пассажира. Надувающаяся подушка безопасности может принудительно ударить ребенка или детское удерживающее устройство в результате при серьезных или смертельных травмах.

читать далее