Hyundai Palisade: электрорегулировка сидений/обогрев сидений (вентиляция воздуха)

Hyundai Palisade (LX2) 2020-2023 Руководство по ремонту / Электрическая система кузова / Сиденье электрическое / Обогрев сиденья (вентиляция воздуха)

Компоненты и расположение компонентов
Компоненты
Подогрев сиденья водителя/пассажира

Hyundai Palisade. Components and components location

1. Подогрев подушки сиденья
2. Блок обогрева сиденья (только для пассажира)
3. Подогрев спинки сиденья

Подогрев сидений второго ряда

Hyundai Palisade. Components and components location

1. Блок обогрева сиденья (пассажирское только)
2. Подогрев подушки сиденья
3. Подогрев спинки сиденья

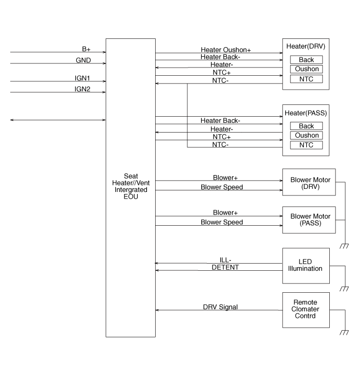
Принципиальные диаграммы
Принципиальная электрическая схема
Подогрев сиденья водителя/пассажира

Hyundai Palisade. Schematic diagrams

Подогрев сидений второго ряда

Hyundai Palisade. Schematic diagrams

[Блок управления вентиляцией сиденья (обогрев сиденья водителя/пассажира)]

Hyundai Palisade. Schematic diagrams

Нет
Соединитель А
Соединитель Б
Соединитель С
1
-
-
Подогрев водительской подушки
2
-
-
Обогрев спинки водителя
3
-
-
Вспомогательный обогрев подушки
4
ЗАДЕРЖКА
-
Вспомогательный обогреватель спины
5
Освещение
-
Драйвер вентилятора
6
ШИМ-управление вентиляцией водителя
ЛИН
Вспомогательный вентилятор
7
Вспомогательная мощность нагревателя
-
Батарея (+)
8
Мощность нагревателя водителя
-
Обогреватель водителя (-)
9
-
-
Земля
10
-
IGN 1
Вспомогательный отопитель (-)
11
-
-

12
-
-
13

-
14
-
15
-
16
-
17
НТК (-)
18
Ассистент НТК (+)
19
Драйвер NTC (+)
20
ИГН 2

[Блок управления сиденьем с вентиляцией 2-й линии

Hyundai Palisade. Schematic diagrams

Нет
Соединитель А
Соединитель Б
1
Нагреватель (-)
Блок вентиляции отопителя IGN 2
2
Мощность нагревателя подушки
Вентиляционный блок отопителя IGN 1
3
Мощность обогрева спинки сиденья
-
4
Мощность вентилятора подушки
-
5
Мощность вентилятора спинки сиденья
-
6
Мощность вентиляции отопителя
Подушка воздуходувки ВСП
7
Нагреватель (-)
Вентилятор спинки сиденья ВСП
8
Масса вентиляционного отверстия отопителя
-
9
Масса вентиляционного отверстия отопителя
-
10
-
-
11
-
-
12
Вентиляция отопителя Мощность
ЛИН
13

-
14
-
15
-
16
-
17
-
18
-
19
-
20
-
21
-
22
НТК (+)
23
-
24
НТК (-)

Процедуры ремонта
осмотр
Переднее сиденье
1.
Проверьте непрерывность и измерьте сопротивление между клеммами.

Hyundai Palisade. Repair procedures

Нет
Описание
Нет
Описание
1
НТК (+)
4
Подогреватель (+)
2
-
5
Задний обогреватель (+)
3
НТК (-)
6
Земля

Водитель / Пассажир
Датчик NTC (± 5%)
Высокий
1,693 кОм
Середина
2,802 кОм
Низкий
5,922 кОм

2.
Включите обогреватель сиденья после подсоединения разъема, а затем проверьте термостат путем измерения температуры поверхности сиденья.
Водитель / Пассажир
Ткань (± 2%)
Кожа (± 2%)
Высокий
42 / 50°С
42 / 50°С
Середина
39 / 45°С
39 / 45°С
Низкий
36 / 40°С
36 / 40°С

2-я линия места
1.
Проверьте непрерывность и измерьте сопротивление между клеммами.

Hyundai Palisade. Repair procedures

Нет
Описание
Нет
Описание
1
-
4
НТК (+)
2
-
5
НТК (-)
3
Мощность нагревателя
6
Земля

Водитель / Пассажир
Датчик NTC (± 5%)
Высокий
1,204 кОм
Середина
3,213 кОм
Низкий
6,472 кОм

Обогреватель сиденья (без вентиляции)

Компоненты и расположение компонентов Компоненты Подогрев сиденья водителя/пассажира 1. Подогрев подушки сиденья 2. Блок обогрева сиденья (только для пассажира) 3...

Сиденье с воздушной вентиляцией

Компоненты и расположение компонентов Компоненты (1) Переднее сиденье 1. Вентилятор сиденья с вентиляцией 2. Блок управления сиденьем с вентиляцией (только для пассажира) 3...

Дополнительная информация:

Руководство по эксплуатации Hyundai Palisade (LX2) 2020-2023: Услуги буксировки


[A]: Долли Если необходима аварийная буксировка, мы рекомендуем, чтобы это было сделано авторизованный дилер HYUNDAI или коммерческий эвакуатор. Правильные процедуры подъема и буксировки необходимы для предотвращения повреждения автомобиль. Использование колесных тележек или планшет рекомендуется...

Hyundai Palisade (LX2) 2020-2023 Руководство по техническому обслуживанию: Порядок ремонта


Вариантное кодирование Когда вам нужно вариантное кодирование: – Замена камеры переднего вида на новую ※ Для новой замены требуется кодирование варианта EOL и калибровка Кодировка варианта камеры переднего вида Вариантное кодирование камеры переднего вида позволяет использовать функции для каждый тип автомобиля...

Категории

Не устанавливайте детское удерживающее устройство на переднем пассажирском сиденье

Hyundai Palisade. in the Front Passenger's Seat

Даже если ваш автомобиль оснащен с OCS никогда не устанавливайте дочерние удерживающее устройство на сиденье переднего пассажира. Надувающаяся подушка безопасности может принудительно ударить ребенка или детское удерживающее устройство в результате при серьезных или смертельных травмах.

читать далее