Hyundai Palisade: раздаточная коробка / раздаточная коробка переднего колеса

Hyundai Palisade (LX2) 2020-2023 Руководство по ремонту / Система полного привода (AWD) / Трансфер в сборе / Передача переднего колеса в сборе

Компоненты и расположение компонентов
Расположение компонентов
[Дизель 2.2]

Hyundai Palisade. Components and components location

1. Трансаксель сборка
2. Трансфер в сборе
3. Пропеллер вал в сборе
4. Муфта в сборе


[Бензин 3.5, 3.8]

Hyundai Palisade. Components and components location

1. Трансаксель сборка
2. Трансфер в сборе
3. Пропеллер вал в сборе
4. Муфта в сборе


Процедуры ремонта
Удаление
1.
Снимите нижнюю крышку.
(См. Механическая система двигателя — «Машинное отделение под крышкой»)
2.
Снимите подрамник.
(См. Система подвески — «Подрамник»)
3.
Снимите узел переднего приводного вала. [Правая сторона]
(См. Приводной вал и ось — «Передний карданный вал»)
4.
Снимите передний глушитель. [Бензин 3,5/ 3,8]
(См. Механическая система двигателя — «Глушитель»)
5.
Снимите узел переднего карданного вала (А) с узла раздаточной коробки.
Момент затяжки :
49,0–68,6 Н·м (5,0–7,0 кгс·м, 36,2–50,6 фунт-фут)
[Дизель 2.2]

Hyundai Palisade. Repair procedures

[Бензин 3.5, 3.8]

Hyundai Palisade. Repair procedures

6.
Снимите раздаточную коробку в сборе.
Момент затяжки :
60,8–65,7 Н·м (6,2–6,7 кгс·м, 44,8–48,5 фунт-фут)
1) Ослабьте верхние болты крепления узла раздаточной коробки (А).
[Дизель 2.2]

Hyundai Palisade. Repair procedures

[Бензин 3.5, 3.8]

Hyundai Palisade. Repair procedures

2-1) Ослабьте нижние крепежные болты узла переноса (B). [Передача -> Трансмиссия]
[Дизель 2.2]

Hyundai Palisade. Repair procedures

[Бензин 3.5, 3.8]

Hyundai Palisade. Repair procedures

2-2) Ослабьте нижние крепежные болты узла переноса (B). [Коробка передач ->Передача]
[Дизель 2.2]

Hyundai Palisade. Repair procedures

[Бензин 3.5, 3.8]

Hyundai Palisade. Repair procedures

3) Снимите узел переноса (С).
[Дизель 2.2]

Hyundai Palisade. Repair procedures

[Бензин 3.5, 3.8]

Hyundai Palisade. Repair procedures

Монтаж
1.
Для установки выполните процедуру удаления в обратном порядке.
Hyundai Palisade. Repair procedures
Будьте осторожны, чтобы не повредить уплотнительное кольцо (А). Если уплотнительное кольцо поврежден, замените новым.
Смажьте и покройте шлицы (B) молибденовым высоким покрытием. смазка под давлением.
СМАЗКА эквивалент SPL-1 (MS511-07)
[Дизель 2.2]

Hyundai Palisade. Repair procedures

[Бензин 3.5, 3.8]

Hyundai Palisade. Repair procedures

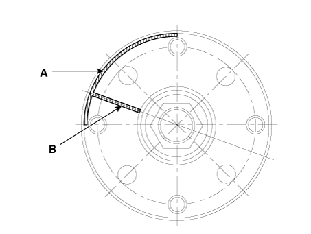
Установите карданный вал так, чтобы он находился рядом с отметкой биения. (Передаточная коробка 1 шт. (A), карданный вал 1 шт. (B) друг друга.

Hyundai Palisade. Repair procedures

Перекачивающая жидкость

Процедуры ремонта осмотр • Трансмиссионное масло необходимо проверять и доливать каждые 60 000 км. (40 000 миль) / 4 года...

сальник

Процедуры ремонта Замена [Сальник со стороны карданного вала] 1. Снимите нижнюю крышку. (См. Механическая система двигателя — «Машинное отделение под крышкой») 2...

Дополнительная информация:

Hyundai Palisade (LX2) 2020-2023 Руководство по обслуживанию: ЭБУ полного привода


Компоненты и расположение компонентов Расположение компонентов 1. Полный привод ЭБУ 2. Багажник отделка [левая сторона] Описание и работа Описание ЭБУ полного привода распределяет тяговое усилие на переднее/заднее колесо, управляя многодисковое сцепление на раздаточной коробке полного привода путем анализа входной информации, я...

Руководство по эксплуатации Hyundai Palisade (LX2) 2020-2023 гг.: Сообщения на ЖК-дисплее


Переключитесь на P или N, чтобы запустить двигатель (для системы смарт-ключей) Это предупреждающее сообщение отображается, если Вы пытаетесь запустить двигатель с помощью кнопка переключения передач не в положении P (Парковка) или N (Нейтральное) положение. Информация Вы можете запустить двигатель со сдвигом кнопку в положении N (нейтральное)...

Категории

Предупреждающие этикетки о подушках безопасности

Hyundai Palisade. Air Bag Warning Labels

Предупреждающие таблички о подушках безопасности, требуемые движение по национальным автомагистралям США Администрация безопасности (NHTSA), являются прилагается для предупреждения водителя и пассажиров потенциальных опасностей воздуха система сумок. Обязательно прочитайте все информация о подушках безопасности, которые установлены на вашем автомобиле в этом Инструкция по применению.

читать далее