Hyundai Palisade: система смазки / блок-схема

Hyundai Palisade (LX2) 2020-2023 Руководство по ремонту / Механическая система двигателя / Система смазки / Диаграмма потока

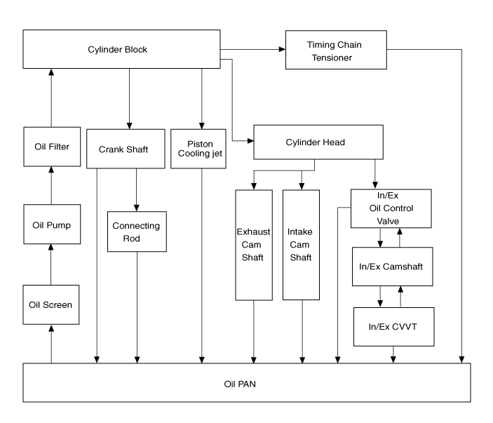
Схема потока моторного масла

Hyundai Palisade. Flow diagram

Система смазки

..

Машинное масло

Процедуры ремонта Замена • Будьте осторожны, чтобы не повредить детали, расположенные под автомобилем. (пол под крышкой, топливный фильтр, топливный бак и канистра) при поднять автомобиль с помощью подъемника...

Дополнительная информация:

Hyundai Palisade (LX2) 2020-2023 Руководство по техническому обслуживанию: Устранение неисправностей


Поиск неисправностей Симптом Подозрительная область Средство Пропуски зажигания в двигателе с ненормальным внутренним низким шумом двигателя. Износ подшипников коленчатого вала. Ослабленная или поврежденная пластина привода двигателя. Замените коленчатый вал и подшипники по мере необходимости...

Hyundai Palisade (LX2) 2020-2023 Руководство по обслуживанию: ЭБУ полного привода


Компоненты и расположение компонентов Расположение компонентов 1. Полный привод ЭБУ 2. Багажник отделка [левая сторона] Описание и работа Описание ЭБУ полного привода распределяет тяговое усилие на переднее/заднее колесо, управляя многодисковое сцепление на раздаточной коробке полного привода путем анализа входной информации, я...

Категории

Подушка безопасности — дополнительная система пассивной безопасности Система

Hyundai Palisade. System

1. Передняя подушка безопасности водителя
2. Передняя подушка безопасности пассажира
3. Боковая подушка безопасности
4. Занавеска воздушной подушки
5. Коленная подушка безопасности водителя

Этот автомобиль оснащен Расширенная дополнительная подушка безопасности Система для сиденья водителя и переднего сиденья пассажирские места.

читать далее