Hyundai Kona: Система зарядки / Процедуры ремонта
|
•
|
Проверка эффективности батареи
|
|
•
|
Проверка напряжения батареи
|
|
•
|
Проверка зарядного напряжения
|
|
•
|
Проверка состояния затяжки клемм
|
|
•
|
Проверка состояния двигателя/коробки передач
|
|
•
|
Проверка состояния заземления жгута проводов
|
|
•
|
Проверка заданного электрического значения
|
|
•
|
Контроль паразитных токов автомобиля
|
|
•
|
Проверка емкости аккумулятора
|
Проверка эффективности батареи
|
•
|
Убедитесь, что кабели аккумуляторной батареи подключены к правильным клеммам.
|
|
•
|
Отсоедините кабели аккумулятора, когда батарея быстро разрядится.
заряжать.
|
|
•
|
Никогда не отсоединяйте аккумуляторную батарею при работающем двигателе.
|
|
|
•
|
Проверьте тест батареи с помощью нагрузочного тестера и тестера батареи.
|
|
Проверка напряжения батареи
|
1.
|
После вождения автомобиля и в случае, если прошло 20 минут.
не прошло после остановки двигателя, поверните ключ зажигания
ON и включите электрическую систему (фары, электродвигатель вентилятора, обогреватель заднего стекла).
д.) в течение 60 секунд для снятия поверхностного заряда.
|
|
2.
|
Выключите зажигание и выключите электрические системы.
|
|
3.
|
Измерьте напряжение батареи между отрицательным (-) и положительным (+)
клеммы аккумулятора.
|
Стандартное напряжение:
Приблизительно 12,5–12,9 В [20°C (68°F)]
|
Если напряжение ниже указанного, зарядите аккумулятор.
|
Общий осмотр
|
1.
|
Убедитесь, что клеммы аккумулятора не ослаблены и не повреждены коррозией.
(См. Система зарядки — «Аккумулятор»)
|
|
2.
|
Проверьте предохранители на непрерывность.
|
(1)
|
Измерьте напряжение, как показано на рисунке ниже.
|
Стандартное значение: приблизительно 0 В
|
|
|
(2)
|
Если предохранитель генератора перегорел, замените его в соответствии с процедурой
ниже :
|
а.
|
Выключите зажигание и отсоедините аккумулятор
минусовая (-) клемма.
|
|
б.
|
Снимите предохранитель генератора после откручивания гаек (А).
|
|
в.
|
Замените обычный предохранитель генератора или кабель аккумулятора.
|
|
д.
|
Установите в порядке, обратном снятию.
|
|
Предохранитель датчика батареи
|
(3)
|
Проверьте предохранитель датчика аккумуляторной батареи (А) на непрерывность.
|
|
(4)
|
Замените обычный предохранитель датчика аккумулятора.
|
|
(5)
|
Измерьте напряжение.
|
Стандартное значение: приблизительно 0 В
|
|
|
|
3.
|
Осмотрите приводной ремень
|
(1)
|
Визуально проверьте ремень на наличие чрезмерного износа, потертых шнуров и т. д.
При обнаружении дефекта замените приводной ремень.
|
•
|
Трещины на ребре ремня считаются
приемлемый. Если на ремне отсутствуют куски
ребра, его следует заменить.
|
|
|
|
|
4.
|
Измерьте и отрегулируйте натяжение приводного ремня.
(См. Механическая система двигателя — «Приводной ремень»)
|
|
5.
|
Визуально проверьте проводку генератора и прислушайтесь к ненормальным шумам.
|
(1)
|
Убедитесь, что проводка находится в хорошем состоянии.
|
|
(2)
|
Убедитесь в отсутствии ненормального шума от генератора во время
двигатель работает.
|
|
|
6.
|
Проверьте цепь сигнальной лампы разрядки
|
(1)
|
Прогрейте двигатель, а затем выключите его.
|
|
(2)
|
Выключите все аксессуары.
|
|
(3)
|
Включите зажигание. Убедитесь, что предупреждение о разрядке
свет горит.
|
|
(4)
|
Запустить двигатель. Убедитесь, что свет горит.
Если индикатор не гаснет, как указано, устраните неисправность
цепь разрядного фонаря.
|
|
Государственная инспекция клеммной затяжки
|
•
|
Состояние клемм B+ генератора
|
|
•
|
Затяжная гайка клеммы B+ генератора
|
|
•
|
Состояние положительной (+) клеммы аккумулятора
|
|
•
|
Состояние затяжки положительной (+) клеммы аккумулятора
|
|
•
|
Состояние отрицательной (-) клеммы аккумулятора
|
|
•
|
Состояние затяжки отрицательной (-) клеммы аккумуляторной батареи
|
|
•
|
Состояние затяжки болта крепления отрицательной (-) клеммы аккумуляторной батареи
(Заземление)
|
|
•
|
Состояние клеммы отрицательного (-) датчика аккумулятора (с датчиком аккумулятора)
|
|
•
|
Состояние затяжки отрицательной (-) клеммы датчика аккумуляторной батареи (с
датчик батареи)
|
|
•
|
Затяжка болта крепления отрицательной (-) клеммы датчика аккумуляторной батареи
состояние (масса шасси) [с датчиком батареи]
|
|
•
|
Положительное (+) состояние жгута проводов блока предохранителей и реле в моторном отсеке
|
|
•
|
Затяжка положительного (+) жгута проводов блока предохранителей и реле в моторном отсеке
ореховое состояние
|
|
•
|
Проверьте состояние замыкания на землю по окраске шасси.
|
|
|
Расположение контрольного компонента
|
1. Клемма B+ генератора
2. Положительная (+) клемма блока предохранителей и реле в моторном отсеке.
3. Отрицательная (+) клемма аккумулятора
|
4. Отрицательная (-) клемма аккумуляторной батареи
5. Заземление шасси
|
Проверка состояния двигателя/ коробки передач
|
•
|
Состояние затяжки крепежных болтов (шасси)
|
|
•
|
Состояние затяжки крепежных болтов (двигатель)
|
|
•
|
Проверьте состояние замыкания на землю по окраске шасси.
|
|
Проверка состояния жгута проводов
|
•
|
Состояние затяжки крепежных болтов (шасси)
|
|
•
|
Состояние затяжки крепежных болтов (двигатель)
|
|
•
|
Проверьте состояние замыкания на землю по окраске шасси.
|
|
1. Масса двигателя (двигатель ↔
Шасси)
2. Масса коробки передач (коробка передач ↔ шасси)
|
|
|
•
|
Проверьте точку заземления.
(См. Схема жгута ETM — «Точка заземления»)
|
|
Проверка заданного электрического значения (с помощью вольтметра и амперметра)
|
1.
|
Испытание на падение напряжения выходного провода генератора переменного тока
Этот тест определяет, подключена ли проводка между генератором
Клемма «В» и клемма аккумулятора (+) исправны по падению напряжения
метод.
|
(1)
|
Подготовка
|
а.
|
Поверните ключ зажигания в положение «ВЫКЛ».
|
|
б.
|
Отсоедините выходной провод от клеммы «В» генератора.
Подсоедините провод (+) амперметра к клемме «В».
генератора и провод (-) амперметра к
выходной провод. Подсоедините провод (+) вольтметра
к клемме «В» генератора и проводу (-)
вольтметра к клемме (+) аккумулятора.
|
|
|
(2)
|
Тест
|
б.
|
Включите фары и мотор вентилятора, отрегулируйте двигатель
скорость до тех пор, пока амперметр не покажет 20А, и снимите показания вольтметра.
|
|
|
(3)
|
Результат
|
а.
|
Вольтметр может показывать стандартное значение.
|
Стандартное значение: 0,2 В макс.
|
|
|
б.
|
Если значение вольтметра выше ожидаемого
(выше 0,2 В макс.), подозревается неисправность проводки. В этом
случае проверьте проводку от клеммы "В" генератора
к клемме аккумулятора (+). Проверьте наличие ослабленных соединений,
изменение цвета из-за перегрева жгута и т.п. Исправить
их перед повторным тестированием.
|
|
в.
|
По завершении проверки установите обороты двигателя на
на холостом ходу. Выключите фары, двигатель вентилятора и зажигание.
выключатель.
|
|
|
|
2.
|
Тест выходного тока
Этот тест определяет, дает ли генератор выходной ток
что эквивалентно нормальному выходу.
|
(1)
|
Подготовка
|
а.
|
Перед испытанием проверьте следующие пункты и исправьте
как надо.
Проверьте аккумулятор, установленный в автомобиле, чтобы убедиться, что
что он в хорошем состоянии. Обратитесь к разделу «Аккумулятор».
раздел для проверки батареи.
Батарея, используемая для проверки выходного тока, должна быть
частично разряжен.
При полностью заряженном аккумуляторе тест может не проводиться
правильно из-за недостаточной нагрузки.
Проверьте натяжение ремня привода генератора. Ссылаться
в раздел «Осмотр приводного ремня» для проверки
натяжение ремня.
|
|
в.
|
Отсоедините кабель заземления аккумуляторной батареи.
|
|
д.
|
Отсоедините выходной провод генератора от генератора.
Терминал «Б».
|
|
е.
|
Подключите амперметр постоянного тока (от 0 до 150 А) последовательно между
клемму «В» и отсоединенный выходной провод. Быть
обязательно подключите провод (-) амперметра к
отсоединенный выходной провод.
|
•
|
Надежно затяните каждое соединение, как
будет течь сильный поток. Не полагайтесь
на клипсы.
|
|
|
|
ф.
|
Подключите вольтметр (от 0 до 20 В) между клеммой «В»
и земля. Подсоедините провод (+) к генератору.
Клемма «В» и провод (-) должны быть заземлены.
|
|
г.
|
Подсоедините кабель заземления аккумулятора.
|
|
час
|
Оставьте капот двигателя открытым.
|
|
|
(2)
|
Тест
|
а.
|
Убедитесь, что вольтметр показывает одинаковое значение
как напряжение аккумулятора. Если вольтметр показывает 0 В, откройте
замыкание в проводе между клеммой "В" генератора
и клемма аккумулятора (+) или плохое заземление.
|
|
б.
|
Запустите двигатель и включите фары.
|
|
в.
|
Установите фары на дальний свет и вентилятор отопителя.
переключитесь на HIGH, быстро увеличьте скорость двигателя до
2500 об/мин и считать максимальное значение выходного тока
показывает амперметр.
|
•
|
После запуска двигателя зарядка
ток быстро падает. Следовательно
вышеуказанная операция должна быть выполнена быстро
для правильного считывания максимального значения тока.
|
|
|
|
|
(3)
|
Результат
|
а.
|
Показания амперметра должны быть выше предельного значения.
Если он ниже, несмотря на то, что выходной провод генератора
в хорошем состоянии, снять генератор с автомобиля
и протестировать его.
|
Предельное значение: 60% от текущей ставки
|
|
• Отображается номинальное значение выходного тока.
на заводской табличке, прикрепленной к корпусу генератора.
|
|
•
|
Значение выходного тока изменяется с
электрическая нагрузка и температура
самого генератора. Поэтому,
номинальный выходной ток не может быть
полученный. Если это так, держите
включить фары, чтобы разрядить аккумулятор
или используйте фары других транспортных средств для увеличения
электрическая нагрузка.
Номинальный выходной ток не может быть
получается, если температура генератора
сама или температура окружающей среды слишком
высокий. В таком случае снизьте температуру
перед повторным тестированием.
|
|
|
|
б.
|
После завершения проверки выходного тока уменьшите
скорость двигателя до холостого хода и выключите зажигание.
|
|
в.
|
Отсоедините отрицательную (-) клемму аккумуляторной батареи.
|
|
д.
|
Снимите амперметр, вольтметр и тахометр двигателя.
|
|
е.
|
Подсоедините выходной провод генератора к генератору.
Терминал «Б».
|
|
ф.
|
Подсоедините отрицательную (-) клемму аккумуляторной батареи.
|
|
|
|
3.
|
Испытание регулируемым напряжением
Целью этого теста является проверка того, что электронный регулятор напряжения
корректно регулирует напряжение.
|
(1)
|
Подготовка
|
а.
|
Перед испытанием проверьте следующие пункты и исправьте
если необходимо.
Убедитесь, что аккумуляторная батарея, установленная на автомобиле, полностью
заряжен. Обратитесь к разделу «Аккумулятор» для проверки
батарея.
Проверьте натяжение ремня привода генератора. Обратитесь к
Раздел «Проверить приводной ремень» для проверки натяжения ремня.
|
|
б.
|
Поверните ключ зажигания в положение «ВЫКЛ».
|
|
в.
|
Отсоедините отрицательную (-) клемму аккумуляторной батареи.
|
|
д.
|
Подсоедините цифровой вольтметр к клемме «В».
генератора и массы. Подсоедините провод (+)
вольтметр к клемме «В» генератора.
Подсоедините провод (-) к хорошему заземлению или аккумулятору (-).
Терминал.
|
|
е.
|
Отсоедините выходной провод генератора от генератора.
Терминал «Б».
|
|
ф.
|
Подключите амперметр постоянного тока (от 0 до 150 А) последовательно между
Клемма «В» и отсоединенный выходной провод. Соединять
(-) подводящий провод амперметра к отключенному
выходной провод.
|
|
г.
|
Подсоедините отрицательную (-) клемму аккумуляторной батареи.
|
|
|
(2)
|
Тест
|
а.
|
Включите зажигание и убедитесь, что
вольтметр показывает следующее значение.
|
Напряжение: напряжение батареи
|
Если он показывает 0 В, в проводе есть обрыв.
между клеммой "В" генератора и аккумулятором
и клемма аккумулятора (-).
|
|
б.
|
Запустить двигатель. Выключите все осветительные приборы и аксессуары.
|
|
в.
|
Запустите двигатель на скорости около 2500 об/мин и прочтите
вольтметр, когда выходной ток генератора падает
до 10 А или менее
|
|
|
(3)
|
Результат
|
а.
|
Если показания вольтметра не соответствуют стандарту
значение, регулятор напряжения или генератор неисправен.
|
Регулируемое напряжение: 11,7–15,3 В
|
|
|
б.
|
Если показания вольтметра не соответствуют стандарту
значение, регулятор напряжения или генератор неисправен.
|
|
в.
|
Отсоедините отрицательную (-) клемму аккумуляторной батареи.
|
|
д.
|
Снимите вольтметр и амперметр.
|
|
е.
|
Подсоедините выходной провод генератора к генератору.
Терминал «Б».
|
|
ф.
|
Подсоедините отрицательную (-) клемму аккумуляторной батареи.
|
|
|
Проверка заданного электрического значения (с помощью вольтметра и амперметра клещевого типа)
|
1.
|
Испытание на падение напряжения выходного провода генератора переменного тока
Этот тест определяет, подключена ли проводка между генератором
Клемма «В» и клемма аккумулятора (+) исправны по падению напряжения
метод.
|
(1)
|
Подготовка
|
а.
|
Поверните ключ зажигания в положение «ВЫКЛ».
|
|
б.
|
Установите амперметр клещевого типа между положительным
(+) и клемма «В» генератора.
|
|
в.
|
Подсоедините провод (+) вольтметра к клемме «В».
генератора и (-) подводящий провод вольтметра к
клемма (+) аккумулятора.
|
|
|
(2)
|
Тест
|
б.
|
Включите фары и мотор вентилятора, отрегулируйте двигатель
скорость до тех пор, пока амперметр не покажет 20А, и снимите показания вольтметра.
|
|
|
(3)
|
Результат
|
а.
|
Вольтметр может показывать стандартное значение.
|
Стандартное значение: 0,2 В макс.
|
|
|
б.
|
Если значение вольтметра выше ожидаемого
(выше 0,2 В макс.), подозревается неисправность проводки. В этом
случае проверьте проводку от клеммы "В" генератора
к клемме аккумулятора (+). Проверьте наличие ослабленных соединений,
изменение цвета из-за перегрева жгута и т.п. Исправить
их перед повторным тестированием.
|
|
в.
|
По завершении проверки установите обороты двигателя на
на холостом ходу. Выключите фары, двигатель вентилятора и зажигание.
выключатель.
|
|
|
|
2.
|
Тест выходного тока
Этот тест определяет, дает ли генератор выходной ток
что эквивалентно нормальному выходу.
|
(1)
|
Подготовка
|
а.
|
Перед испытанием проверьте следующие пункты и исправьте
как надо.
Проверьте аккумулятор, установленный в автомобиле, чтобы убедиться, что
что это хорошее состояние. См. раздел «Аккумулятор».
для проверки аккумулятора.
Батарея, используемая для проверки выходного тока, должна быть
частично разряжен.
При полностью заряженном аккумуляторе тест может не проводиться
правильно из-за недостаточной нагрузки.
Проверьте натяжение ремня привода генератора. Ссылаться
в раздел «Осмотр приводного ремня» для проверки
натяжение ремня.
|
|
в.
|
Отсоедините отрицательную (-) клемму аккумуляторной батареи.
|
|
д.
|
Установите амперметр клещевого типа между положительным
(+) и клемма «В» генератора.
|
|
е.
|
Подключите амперметр постоянного тока (от 0 до 150 А) последовательно между
клемму «В» и отсоединенный выходной провод. Быть
обязательно подключите провод (-) амперметра к
отсоединенный выходной провод.
|
•
|
Надежно затяните каждое соединение, как
будет течь сильный поток. Не полагайтесь
на клипсы.
|
|
|
|
ф.
|
Подключите вольтметр (от 0 до 20 В) между клеммой «В»
и земля. Подсоедините провод (+) к генератору.
Клемма «В» и провод (-) должны быть заземлены.
|
|
г.
|
Подсоедините отрицательную (-) клемму аккумуляторной батареи.
|
|
час
|
Оставьте капот двигателя открытым.
|
|
|
(2)
|
Тест
|
а.
|
Убедитесь, что вольтметр показывает одинаковое значение
как напряжение аккумулятора. Если вольтметр показывает 0 В, откройте
замыкание в проводе между клеммой "В" генератора
и клемма аккумулятора (+) или плохое заземление.
|
|
б.
|
Запустите двигатель и включите фары.
|
|
в.
|
Установите фары на дальний свет и вентилятор отопителя.
переключитесь на HIGH, быстро увеличьте скорость двигателя до
2500 об/мин и считать максимальное значение выходного тока
показывает амперметр.
|
•
|
После запуска двигателя зарядка
ток быстро падает. Следовательно
вышеуказанная операция должна быть выполнена быстро
для правильного считывания максимального значения тока.
|
|
|
|
|
(3)
|
Результат
|
а.
|
Показания амперметра должны быть выше предельного значения.
Если он ниже, несмотря на то, что выходной провод генератора
в хорошем состоянии, снять генератор с автомобиля
и протестировать его.
|
Предельное значение: 60% от текущей ставки
|
|
• Отображается номинальное значение выходного тока.
на заводской табличке, прикрепленной к корпусу генератора.
|
|
•
|
Значение выходного тока изменяется с
электрическая нагрузка и температура
самого генератора. Поэтому,
номинальный выходной ток не может быть
полученный. Если это так, держите
включить фары, чтобы разрядить аккумулятор
или используйте фары других транспортных средств для увеличения
электрическая нагрузка.
Номинальный выходной ток не может быть
получается, если температура генератора
сама или температура окружающей среды слишком
высокий. В таком случае снизьте температуру
перед повторным тестированием.
|
|
|
|
б.
|
После завершения проверки выходного тока уменьшите
скорость двигателя до холостого хода и выключить зажигание
|
|
в.
|
Отсоедините отрицательную (-) клемму аккумуляторной батареи.
|
|
д.
|
Снимите амперметр, вольтметр и тахометр двигателя.
|
|
е.
|
Подсоедините выходной провод генератора к генератору.
Терминал «Б».
|
|
ф.
|
Подсоедините отрицательную (-) клемму аккумуляторной батареи.
|
|
|
|
3.
|
Испытание регулируемым напряжением
Целью этого теста является проверка того, что электронный регулятор напряжения
корректно регулирует напряжение.
|
(1)
|
Подготовка
|
а.
|
Перед испытанием проверьте следующие пункты и исправьте
если необходимо.
Убедитесь, что аккумуляторная батарея, установленная на автомобиле, полностью
заряжен. Обратитесь к разделу «Аккумулятор» для проверки
батарея.
Проверьте натяжение ремня привода генератора. Обратитесь к
Раздел «Проверить приводной ремень» для проверки натяжения ремня.
|
|
б.
|
Поверните ключ зажигания в положение «ВЫКЛ».
|
|
в.
|
Отсоедините отрицательную (-) клемму аккумуляторной батареи.
|
|
д.
|
Подсоедините цифровой вольтметр к клемме «В».
генератора и массы. Подсоедините провод (+)
вольтметр к клемме «В» генератора.
Подсоедините провод (-) к хорошему заземлению или аккумулятору (-).
Терминал.
|
|
е.
|
Отсоедините выходной провод генератора от генератора.
Терминал «Б».
|
|
ф.
|
Подключите амперметр постоянного тока (от 0 до 150 А) последовательно между
Клемма «В» и отсоединенный выходной провод. Подключите
(-) подводящий провод амперметра к отключенному
выходной провод.
|
|
г.
|
Подсоедините отрицательную (-) клемму аккумуляторной батареи.
|
|
|
(2)
|
Тест
|
а.
|
Включите зажигание и убедитесь, что
вольтметр показывает следующее значение.
|
Напряжение: напряжение батареи
|
Если он показывает 0 В, в проводе есть обрыв.
между клеммой "В" генератора и аккумулятором
и клемма аккумулятора (-).
|
|
б.
|
Запустить двигатель. Выключите все осветительные приборы и аксессуары.
|
|
в.
|
Запустите двигатель на скорости около 2500 об/мин и прочтите
вольтметр, когда выходной ток генератора падает
до 10А или менее
|
|
|
(3)
|
Результат
|
а.
|
Если показания вольтметра не соответствуют норме
значение, регулятор напряжения или генератор неисправен.
|
Регулируемое напряжение: 11,7–15,3 В
|
|
|
б.
|
Если показания вольтметра не соответствуют норме
значение, регулятор напряжения или генератор неисправен.
|
|
в.
|
Отсоедините отрицательную (-) клемму аккумуляторной батареи.
|
|
д.
|
Снимите вольтметр и амперметр.
|
|
е.
|
Подсоедините выходной провод генератора к генератору.
Терминал «Б».
|
|
ф.
|
Подсоедините отрицательную (-) клемму аккумуляторной батареи.
|
|
|
Контроль паразитных токов автомобиля
[Использование амперметра]
|
1.
|
Выключите все электрические устройства, а затем включите зажигание.
ВЫКЛЮЧЕННЫЙ.
|
|
2.
|
Закройте все двери, кроме капота двигателя, а затем заприте все двери.
|
(1)
|
Отсоедините разъем выключателя капота.
|
|
(2)
|
Закройте крышку багажника.
|
|
(3)
|
Закройте двери или снимите дверные выключатели.
|
|
|
3.
|
Подождите несколько минут, пока электрические системы автомобиля не отключатся.
Режим сна.
|
•
|
Для точного измерения паразитного тока автомобиля
все электрические системы должны перейти в спящий режим. (Это
занимает не менее одного часа или не более одного дня.) Однако
приблизительный паразитный ток автомобиля может быть измерен
через 10-20 минут.
|
|
|
|
4.
|
Подключите амперметр последовательно между клеммой аккумулятора (-) и
кабель заземления, а затем отсоедините зажим от клеммы аккумулятора (-).
медленно.
|
•
|
Будьте осторожны, чтобы подводящие провода амперметра не
оторваться от клеммы (-) аккумулятора и массы
кабель, чтобы предотвратить сброс батареи. В случае
батарея сбрасывается, снова подключите кабель батареи,
затем запустите двигатель или поверните ключ зажигания
ВКЛ более 10 сек. Повторите процедуру с №.
1.
Для предотвращения сброса батареи во время проверки:
|
|
1)
|
Соедините соединительным кабелем клемму аккумулятора (-).
и заземляющий кабель.
|
|
2)
|
Отсоедините кабель заземления от клеммы (-) аккумуляторной батареи.
|
|
3)
|
Подсоедините амперметр к клемме аккумулятора (-).
и заземляющий кабель.
|
|
4)
|
После отсоединения соединительного кабеля считайте текущий
номинал амперметра.
|
|
|
|
5.
|
Считайте текущее значение амперметра.
|
•
|
Если паразитный ток превышает предельное значение, выполните поиск
ненормальная цепь, удалив предохранители один за другим и проверив
для паразитного тока.
|
|
•
|
Подсоедините только предохранитель, подозреваемый в паразитном токе, и выполните поиск.
неисправного блока, удалив компоненты, подключенные к
цепь одну за другой, пока паразитная тяга не упадет ниже
предельное значение.
|
|
Предельное значение (через 10–20 мин.): Ниже 50 мА
|
|
[Использование амперметра клещевого типа]
|
6.
|
Выключите все электрические устройства, а затем включите зажигание.
ВЫКЛЮЧЕННЫЙ.
|
|
7.
|
Закройте все двери, кроме капота двигателя, а затем заприте все двери.
|
(1)
|
Отсоедините разъем выключателя капота.
|
|
(2)
|
Закройте крышку багажника.
|
|
(3)
|
Закройте двери или снимите дверные выключатели.
|
|
|
8.
|
Подождите несколько минут, пока электрические системы автомобиля не отключатся.
Режим сна.
|
•
|
Для точного измерения паразитного тока автомобиля
все электрические системы должны перейти в спящий режим. (Это
занимает не менее одного часа или не более одного дня.) Однако
приблизительный паразитный ток автомобиля может быть измерен
через 10-20 минут.
|
|
|
|
9.
|
Установите амперметр клещевого типа на отрицательную (-) клемму аккумуляторной батареи.
|
|
10.
|
Считайте текущее значение амперметра.
|
•
|
Если паразитный ток превышает предельное значение, выполните поиск
ненормальная цепь, удалив предохранители один за другим и проверив
для паразитного тока.
|
|
•
|
Подсоедините только предохранитель, подозреваемый в паразитном токе, и выполните поиск.
неисправного блока, удалив компоненты, подключенные к
цепь одну за другой, пока паразитная тяга не упадет ниже
предельное значение.
|
|
Предельное значение (через 10–20 мин.): Ниже 50 мА
|
|
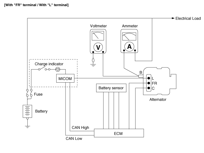
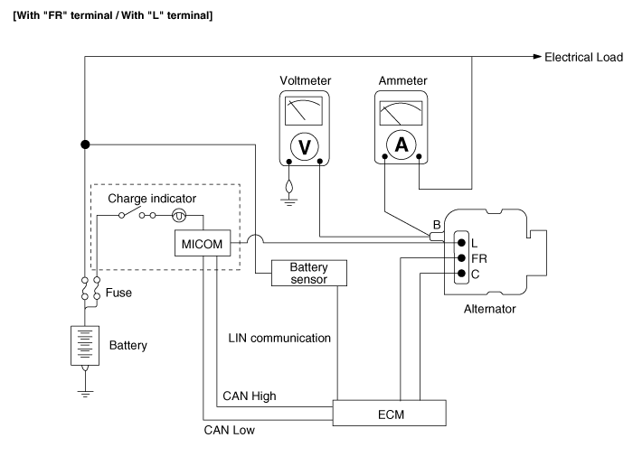
Принципиальная электрическая схема
...
Дополнительная информация:
Hyundai Kona (OS) 2018-2023 Руководство по обслуживанию: Технические характеристики датчика абсолютного давления в коллекторе (MAPS)
Спецификация
Давление
[кПа (кгс/см², psi)]
Выходное напряжение (В)
32,5 (0,33, 4,71)
0,5
284 (2,90, 41,19)
4,5
...
Hyundai Kona (OS) 2018-2023 Руководство по эксплуатации: Управление комбинацией приборов
Подсветка панели приборов
Когда включены габаритные огни или фары автомобиля, нажмите кнопку подсветки
кнопка управления для регулировки яркости подсветки панели приборов.
При нажатии на кнопку управления освещением включается подсветка салона.
также регулируется интенсивность.
ВА ...