Hyundai Kona: Система ГРМ / Процедуры ремонта приводного ремня

Удаление
1.
Отсоедините отрицательную клемму аккумуляторной батареи.
2.
Ослабьте болты крепления натяжителя генератора (А).
3.
Ослабьте регулировочный болт (В) по часовой стрелке, слегка натянув его.

4.
Снимите приводной ремень (А).

осмотр
Проверка приводного ремня
1.
Визуально проверьте ремень на наличие чрезмерного износа, потертых шнуров и т. д.
При обнаружении дефекта замените приводной ремень.
Трещины на ребре ремня считаются допустимыми. Если на ремне отсутствуют куски ребер, его следует быть заменены.

Корректирование
Измерение и регулировка натяжения приводного ремня
Измерение натяжения ремня
Измерьте натяжение ремня с помощью механического датчика натяжения или звукового натяжителя. метр.
Напряжение
Новый пояс:
980,7–1078,7 Н·м (100,0–110,0 кгс·м, 723,3–795,6 фунт-фут)
Используемый ремень:
706,1–804,1 Н·м (72,0–82,0 кгс·м, 520,8–593,1 фунт-фут)
Если двигатель проработал 5 минут и более, натяжение ремня необходимо отрегулировать как бывший в употреблении ремень.
При установке поликлинового ремня все канавки на шкиве должны быть закрыты ребрами ремня.
Ослабленный ремень вызывает шум проскальзывания.
Слишком натянутый ремень приводит к износу подшипников генератора и водяного насоса. повреждать.
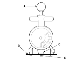
С помощью механического тензорезистора (типа БТ-33-73Ф, БТГ-2)
1.
Нажимая на ручку (А) манометра, вставьте ремень (В) между шкив и шкив (или натяжной ролик) в зазор между шпинделем (C) и крюком (Д).

2.
Отпустив ручку (А), прочтите значение на циферблате, указанном индикатор (В).

С помощью акустического тензометра (типа У-505/507)
3.
Введите характеристики ремня в измеритель натяжения.
Тип ремня
Место измерения
Входные данные
М (Масса, г/м.р.)
W (Ширина, ребро)
S (Размах, мм)
С кондиционером
Шкив коленчатого вала к шкиву компрессора кондиционера
16,0
006.0
178,9
Без кондиционера
Натяжитель к шкиву генератора
16,0
006.0
Фактическое значение измерения

Измерение S (промежуток): Рассчитайте среднее значение после измерения расстояния 3-4 раза.

Д : Айдлерд
г : шкив генератора

4.
Найдите микрофон (B) ближе к центру ремня (A) и ударить по ремню пальцем 2-3 раза. Прочитайте значение на дисплее.
[С кондиционером]

[Без кондиционера]

Если необходима регулировка:
5.
Ослабьте крепежные болты (А).
6.
Слегка затяните регулировочный болт (B) по часовой стрелке; ослабить болт против часовой стрелки с высоким натяжением.

7.
Перепроверьте натяжение ремня.
8.
После регулировки натяжения затяните сквозные болты.
Момент затяжки
Болт 12 мм:
24,3–26,9 Н·м (2,48–2,74 кгс·м, 17,9–19,8 фунт-фут)
[Номер детали: 11403-08407B]
Болт 12 мм:
26,9–32,4 Н·м (2,7–3,3 кгс·м, 19,8–23,9 фунт-фут)
[Номер детали: 11405-08406K]
Болт 14 мм (0,55 дюйма):
29,4–41,2 Н·м (3,0–4,2 кгс·м, 21,7–30,4 фунт-фут)
Монтаж
1.
Установите приводной ремень (А).

2.
Отрегулируйте натяжение, затянув болт регулировки натяжения генератора (В).
3.
Установите крепежные болты (А).
Момент затяжки
Болт 12 мм:
24,3–26,9 Н·м (2,48–2,74 кгс·м, 17,9–19,8 фунт-фут) [Часть №: 11403-08407B]
Болт 12 мм:
26,9–32,4 Н·м (2,7–3,3 кгс·м, 19,8–23,9 фунт-фут) [Номер детали : 11405-08406K]
Болт 14 мм (0,55 дюйма):
29,4–41,2 Н·м (3,0–4,2 кгс·м, 21,7–30,4 фунт-фут)

Компоненты приводного ремня и их расположение
Компоненты 1. Приводной ремень ...

Компоненты холостого хода и расположение компонентов
Компоненты 1. Бездельник ...
Дополнительная информация:

Hyundai Kona (OS) 2018-2023 Руководство по техническому обслуживанию: Процедуры ремонта узла передачи переднего колеса
Удаление 1. Удалите следующие элементы. (См. Система подвески — «Подрамник») 2. Снимите карданный вал (А). Момент затяжки : 49,0 - 63,7 Н.м (5,0 - 6,5 кгс.м, 36,1 - 47. ...

Руководство по эксплуатации Ford Fusion 2013–2020: Замена аккумулятора 12 В
ВНИМАНИЕ: Батареи обычно выделяют взрывоопасные газы, которые могут причинить телесные повреждения. Поэтому не допускать пламя, искры или зажженные вещества, чтобы приблизиться к аккумулятору. При работе рядом с аккумулятором всегда защитите свое лицо и защитите глаза. Всегда обеспечивайте правильную вентиляцию. ПРЕДУПРЕЖДЕНИЕ ...