Hyundai Kona: Головка блока цилиндров в сборе / Процедуры ремонта CVVT и распределительного вала

Удаление
1.
Снимите крышку головки блока цилиндров.
(См. раздел Головка цилиндра в сборе — «Крышка головки цилиндра»)
2.
Поверните демпферный шкив коленчатого вала так, чтобы поршень № 1 находился в верхней мертвой точке. центр.
(1)
Поверните шкив демпфера коленчатого вала и совместите его канавку с метка на крышке цепи привода ГРМ (метка 0° на шкала).

(2)
Убедитесь, что установочные метки ВМТ на впускном и выпускном CVVT звездочки расположены по прямой линии на поверхности головки блока цилиндров как показано на рисунке. Если нет, поверните демпфер коленчатого вала шкива на один оборот (360°).

Не поворачивайте демпферный шкив коленчатого вала против часовой стрелки.
(3)
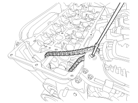
Пометьте звенья цепи ГРМ в соответствии с метками ГРМ. на звездочках CVVT несмываемым маркером.

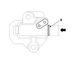
3.
Снимите переходник (А) клапана управления выпускным маслом (OCV).

4.
Снимите крышки подшипников распределительных валов (А) в порядке, показанном на рисунке.

5.
Снимите опорный кронштейн крепления двигателя.
(1)
установить домкрат под масляный поддон.

Поместите деревянный брусок между домкратом и масляный поддон, чтобы предотвратить повреждение масляного поддона.
(2)
Отсоедините кабель заземления двигателя (А).

(3)
Снимите опорный кронштейн крепления двигателя (А).
(См. Двигатель и трансмиссия в сборе — «Подвеска двигателя»)
(4)
Слегка приподнимите двигатель с помощью домкрата, чтобы освободить место.
6.
Снимите болт сервисного отверстия (А).

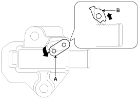
7.
Заблокируйте натяжитель цепи ГРМ в полностью втянутом положении.
(1)
Вставьте отмычку в сервисное отверстие в крышке цепи привода ГРМ. и опустите отверстие в левой части храповой пластины (A) на натяжителе, чтобы собачка (B: расположена внутри натяжителя за пластиной храповика) для подъема.

(2)
Когда собачка поднята, попросите помощника поднять выпускной CVVT. и распределительный вал (A), чтобы позволить плунжеру натяжителя (B) втянуться.

(3)
Когда поршень натяжителя находится в полностью втянутом положении, снова поднимите отверстие в левой части храповой пластины (A) через сервисное отверстие в крышке цепи для выравнивания храповика отверстие пластины с отверстием в корпусе натяжителя за храповиком пластину, затем заблокируйте натяжитель, вставив отмычку через пластину храповика и отверстия корпуса натяжителя.

8.
Отделите выпускной распределительный вал (А) от выпускного CVVT, сняв болт.

При установке болта крепления CVVT удерживайте распределительный вал гаечным ключом, чтобы распредвал не вращался.
9.
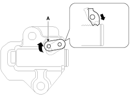
Снимите выпускной CVVT (A) с цепи привода ГРМ.

10.
Снимите впускной CVVT и распределительный вал (A).

Закрепите цепь ГРМ на подвеске двигателя с помощью кабельная стяжка или ремень, чтобы цепь привода ГРМ не могла упасть при снятии впускного CVVT и распределительного вала.

11.
Снимите впускной CVVT (A) с впускного распределительного вала (B).

При снятии болта CVVT держите шестигранную часть (B) на распределительном валу с помощью ключа, чтобы предотвратить от вращения.
осмотр
распределительный вал
1.
Измерьте высоту выступа кулачка с помощью микрометра и проверьте поверхность выступа кулачка на предмет износа. При необходимости замените распределительный вал.
Высота кулачка
Впуск: 44,15 мм (1,738 дюйма)
Выхлоп: 42,90 мм (1,689 дюйма)

2.
Осмотрите поверхность кулачка на наличие ненормального износа и повреждений и замените если необходимо.
3.
Проверьте поверхность шейки распределительного вала на предмет износа. Если шейка распределительного вала сильно повреждена, замените распределительный вал.
4.
Проверьте зазор шейки распределительного вала.
(1)
Очистите шейки распределительных валов и крышки подшипников.
(2)
Поместите распределительные валы в головку блока цилиндров.
(3)
Наложите полоску пластигажа на каждую шейку распределительного вала.

(4)
Установите крышки подшипников и затяните болты до указанного крутящий момент.
Момент затяжки
1-й шаг
Болт M6: 5,9 Н·м (0,6 кгс·м, 4,3 фунт-фут)
Болт M8: 9,8 Н·м (1,0 кгс·м, 7,2 фунт-фут)
2-й шаг
Болты М6:
11,8–12,7 Н·м (1,2–1,3 кгс·м, 8,7–9,4 фунт-фут)
Болты М8:
18,6–22,6 Н·м (1,9–2,3 кгс·м, 13,7–16,6 фунт-фут)
Не поворачивайте распределительный вал.
(5)
Снимите крышки подшипников.
(6)
Измерьте пластигаж в самом широком месте. Если зазор больше, чем указано в спецификации, замените распределительный вал. Если При необходимости замените крышки подшипников и головку блока цилиндров. множество.
Масляный зазор крышки подшипника распределительного вала
Стандарт:
0,027–0,058 мм (0,0011–0,0023 дюйма)
Предел: 0,1 мм (0,0039 дюйма)

5.
Осмотрите осевой люфт распределительного вала.
(1)
Осмотрите осевой люфт распределительного вала.
(2)
Измерьте осевой люфт при перемещении распределительного вала вперед и назад. с помощью стрелочного индикатора. Если осевой люфт больше указанного в спецификации, замените распределительный вал. При необходимости заменить крышки подшипников и ГБЦ в комплекте.
Осевой люфт распределительного вала
Стандарт: 0,1–0,2 мм (0,0039–0,0079 дюйма)

Если масляный зазор больше максимального, замените распределительный вал. При необходимости заменить головку блока цилиндров.
(3)
Снимите распределительные валы.
CVVT (с бесступенчатой ​​регулировкой фаз газораспределения) в сборе
1.
Осмотрите CVVT на плавность вращения.
(1)
Зажмите распределительный вал с помощью тисков. Будьте осторожны, чтобы не повредить кулачки и шейки в тисках.
(2)
Убедитесь, что CVVT заблокирован, повернув его по часовой стрелке или против часовой стрелки. Он не должен вращаться.
(3)
Впускной CVVT: Закройте одно из двух отверстий опережения в распределительном валу. журнал с лентой.
CVVT выпускных клапанов: Закройте одно из двух отверстий в распределительном валу. журнал с лентой.
(4)
Впуск CVVT : Нанести прибл. 150 кПа (1,5 кгс/см, 21 psi) сжатого воздуха в незапечатанное отверстие продвижения, чтобы разблокировать замок.
Выхлоп CVVT : Приблиз. 150 кПа (1,5 кгс/см, 21 psi) сжатого воздуха в незагерметизированное отверстие замедлителя, чтобы разблокировать замок.
Прикрывайте масляные каналы куском ткани, когда подача сжатого воздуха для предотвращения попадания масла распыление.
(5)
Впускной CVVT: При подаче сжатого воздуха поверните CVVT в направление продвижения (против часовой стрелки) в пределах его фазы диапазоне и убедитесь, что CVVT вращается плавно.
Выпускной CVVT: При подаче сжатого воздуха поверните CVVT. в направлении замедления (по часовой стрелке) и убедитесь, что CVVT плавно поворачивается.
(6)
Впускной CVVT: поверните CVVT в крайнее замедленное положение. (по часовой стрелке), а затем убедитесь, что CVVT заблокирован.
CVVT выхлопа: поверните CVVT в крайнее переднее положение. (против часовой стрелки), а затем убедитесь, что CVVT заблокирован.
Монтаж
1.
Установите впускной CVVT (A) на впускной распределительный вал.
Момент затяжки :
63,7–73,5 Н·м (6,5–7,5 кгс·м, 47,0–54,2 фунт-фут)

При установке болта CVVT удерживайте шестигранную часть (B) на распределительном валу с помощью ключа, чтобы предотвратить от вращения.
2.
Установите впускной CVVT и распределительный вал (A), с установочной меткой на впускная звездочка CVVT совмещена с меткой (окрашенным звеном) на ГРМ цепь.

3.
Установите выпускной CVVT (A), с установочной меткой на выпускном CVVT. звездочка совмещена с меткой (окрашенным звеном) на цепи привода ГРМ.

4.
Установите распределительный вал выпускных клапанов (А) на выпускной CVVT.
Момент затяжки :
63,7–73,5 Н·м (6,5–7,5 кгс·м, 47,0–54,2 фунт-фут)

5.
Выньте отмычку из сервисного отверстия в крышке цепи привода ГРМ.

6.
Убедитесь, что каждая установочная метка на впускной и выпускной звездочках CVVT выравнивается, как показано на картинке.

7.
Установите болт (А) в сервисное отверстие в крышке цепи привода ГРМ.
Момент затяжки :
27,5–30,4 Н·м (2,8–3,1 кгс·м, 20,3–22,4 фунт-фут)

8.
Установите опорный кронштейн крепления двигателя.
(См. Двигатель и трансмиссия в сборе — «Подвеска двигателя»)
(1)
Подсоедините кабель заземления двигателя (А).
Момент затяжки :
10,8–13,7 Н·м (1,1–1,4 кгс·м, 8,0–10,1 фунт-фут)

(2)
Снимите домкрат с масляного поддона.
9.
Установите крышки подшипников распределительных валов (А) в порядке, показанном на рисунке. и затяните болты с указанным моментом.
Момент затяжки
1-й шаг
Болт M6: 5,9 Н·м (0,6 кгс·м, 4,3 фунт-фут)
Болт M8: 9,8 Н·м (1,0 кгс·м, 7,2 фунт-фут)
2-й шаг
Болты М6:
11,8–12,7 Н·м (1,2–1,3 кгс·м, 8,7–9,4 фунт-фут)
Болты М8:
18,6–22,6 Н·м (1,9–2,3 кгс·м, 13,7–16,6 фунт-фут)

10.
Установите переходник (A) клапана управления выпускным маслом (OCV).
Момент затяжки :
9,8–11,8 Н·м (1,0–1,2 кгс·м, 7,2–8,7 фунт-фут)

Убедитесь, что уплотнительное кольцо крышки переднего подшипника распределительного вала правильно установлен на место при установке адаптера OCV.
11.
Установите крышку головки блока цилиндров.
(См. раздел Головка цилиндра в сборе — «Крышка головки цилиндра»)
CVVT и распределительный вал Компоненты и расположение компонентов
Компоненты 1. Распредвал выпускных клапанов 2. Впускной распредвал 3. Выпускной вариатор 4. Впускной вариатор 5. Крышка подшипника распредвала 6. Крышка переднего подшипника распределительного вала. 7. Уплотнительное кольцо ...

Головка блока цилиндров Компоненты и расположение компонентов
Компоненты 1. Головка блока цилиндров в сборе 2. ГНД 3. Замок фиксатора 4. Фиксатор 5. Уплотнение штока клапана 6. Пружина клапана 7. Седло пружины клапана 8. OCV (неф...
Дополнительная информация:

Hyundai Kona (OS) 2018-2023 Руководство по обслуживанию: Технические характеристики датчика температуры выхлопных газов (EGTS)
Спецификация Датчик температуры отработавших газов (EGTS) №1, 2 ▷ Тип: Термисторный тип Температура [°C (°F)] Сопротивление (кОм) -40 (-40) 0,17 0 (-32) 0,201 100 (212) ...

Hyundai Kona (OS) 2018-2023 Service Manual: Методы ремонта датчика температуры испарителя
осмотр 1. Выключите зажигание. 2. Отсоедините разъем датчика температуры испарителя. 3. Измерьте сопротивление между выводами "+" и "-" Т...