Hyundai Kona: Crash Pad / Компоненты и расположение компонентов

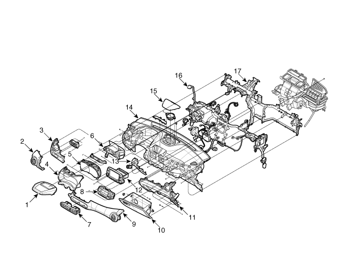
Компоненты (1)

1. Защитная накладка в сборе
2. Боковая крышка аварийного щитка [LH]
3. Боковая крышка аварийной площадки [RH]
4. Нижняя панель аварийного щитка
5. Нижняя панель кожуха рулевой колонки

Компонент (2)

1. Верхняя панель кластера
2. Боковой вентиляционный канал в сборе [LH]
3. Накладка на краш-панель в сборе [LH]
4. Нижняя панель передней панели кластера
5. Сборка кластера
6. Проекционный дисплей
7. Центральный вентиляционный канал в сборе
8. Блок управления отопителем и кондиционером
9. Накладка аварийного щитка в сборе [RH]
10. Перчаточный ящик
11. Крышка корпуса перчаточного ящика
12. Аудио сборка
13. Центральная панель аварийной площадки в сборе
14. Сборка главной подушки безопасности
15. Решетка центрального динамика
16. Проводка аварийной площадки
17. Перекладина капота в сборе

Аварийная площадка
...

Кластерная лицевая панель Компоненты и расположение компонентов
Расположение компонента 1. Приборная панель кластера ...
Дополнительная информация:

Руководство по эксплуатации Hyundai Kona (OS) 2018-2023: Дополнительные меры предосторожности
Пассажиры не должны вставать или менять места во время движения автомобиля. Пассажир, не пристегнутый ремнем безопасности во время аварии или аварийной остановки, может быть брошенным внутрь автомобиля, другими пассажирами или быть выброшенным от автомобиля. Не используйте никакие аксессуары на сиденье b ...

Hyundai Kona (OS) 2018-2023 Руководство по эксплуатации: Переключатель стеклоочистителя и омывателя заднего стекла
Выключатель стеклоочистителя и омывателя заднего стекла расположен на конце дворника и рычаг включения омывателя. Поверните переключатель в нужное положение, чтобы включить задний стеклоочиститель и омыватель. 2 / HI — Высокая скорость стеклоочистителя 1 / LO — Низкая скорость стеклоочистителя O / OFF — Выкл. Толкните рычаг от себя, чтобы распылить омыватель заднего стекла...