Hyundai i-20 manuels

Hyundai i-20 (GB) 2014-2023 Руководство по техническому обслуживанию автомобиля: Описание системы CVVT (бесступенчатая регулировка фаз газораспределения) и операция

Hyundai i-20 (GB) 2014-2023 Руководство по эксплуатации автомобиля / Система контроля выбросов / СИСТЕМА УПРАВЛЕНИЯ ПОБЕГОМ / CVVT (бесступенчатая регулировка фаз газораспределения) Описание системы и операция

Описание
Система непрерывного изменения фаз газораспределения (CVVT) опережает или задерживает фазы газораспределения выпускного и впускного клапана по сигналу Управление ECM рассчитывается по нагрузке и частоте вращения двигателя.
При управлении CVVT возникает клапанный зазор или перекрытие, в результате чего лучшая экономия топлива и уменьшенное количество выхлопных газов (NOx, ХК). CVVT улучшает работу двигателя за счет снижения насосных потерь. и внутренний эффект рециркуляции отработавших газов, повышающий стабильность и эффективность сгорания. объемное и нарастающее расширение.
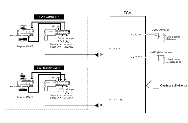
Эта система состоит из:
клапан управления маслом CVVT (OCV), который подает моторное масло к фазовращателю или слить моторное масло из фазовращателя в соответствии с на сигнал PWM (импульсный с модуляцией) от ECM,
Датчик температуры масла CVVT (OTS), который измеряет температуру машинное масло,
и кулачковый синхронизатор, который изменяет фазу кулачка с помощью гидравлическая сила моторного масла.
Моторное масло, выпускаемое клапаном управления маслом CVVT, изменяет фазы кулачка в направлении (опережение впуска/задержка выпуска) или в противоположное направление (задержка впуска/опережение выпуска) вращения двигатель, вращая ротор, соединенный с распределительным валом внутри кулачковый фазер.

Принцип действия
CVVT имеет механизм, который вращает клапан ротора с усилием гидравлический, создаваемый моторным маслом, подаваемым в камеру опережения или задержка в соответствии с управлением клапаном управления маслом CVVT.

[Системный режим CVVT]

(1) Низкая скорость/низкая нагрузка
(2) Частичная нагрузка

(3) Низкая скорость/высокая нагрузка
(4) Быстрая скорость/высокая нагрузка


Руководить
Состояние
Выхлопной клапан
Впускной клапан
Клапан
Распределение
Эффект
Клапан
Распределение
Эффект
(1) Низкая скорость
/низкая нагрузка
полностью
ПРОДВИГАТЬ
* Клапанный зазор
* Улучшенная стабильность горения
полностью
ЗАДЕРЖИВАТЬ
* Клапанный зазор
* Улучшенная стабильность горения
(2) Частичная нагрузка
ЗАДЕРЖИВАТЬ
* Повышенная релаксационная работа
* Снижение потерь при изменении нагрузки
* Снижение НС
ЗАДЕРЖИВАТЬ
* Снижение потерь при изменении нагрузки
(3) Низкая скорость
/высокая нагрузка
ЗАДЕРЖИВАТЬ
* Повышенная релаксационная работа
ПРОДВИГАТЬ
* Предотвращение обратного впускного потока (улучшенный объемная эффективность)
(4) Высокая скорость
/высокая нагрузка
ПРОДВИГАТЬ
* Снижение потерь при изменении нагрузки
ЗАДЕРЖИВАТЬ
* Улучшена эффективность громкости

Процедуры ремонта каталитического нейтрализатора
ДЕПОЗИТ Каталитический нейтрализатор (WCC) См. Механическая система двигателя — «Выпускной коллектор». Каталитический нейтрализатор (UCC) ...

Система управления двигателем/топливом
...
Другие материалы:

МАСЛЯНЫЙ ДИФФЕР Процедуры ремонта
ДЕПОЗИТ 1. Снимите нижнюю крышку моторного отсека. (См. Двигатель и трансмиссия в сборе — «Крышка нижняя часть моторного отсека") 2. Слейте моторное масло. ...

Поиск неисправностей
ПОИСК НЕИСПРАВНОСТЕЙ Если функция ISG не работает, несмотря на отсутствие кодов неисправности, проверьте систему ISG, как показано ниже. GDS показывает текущие данные о функции ISG для проверки. ...