Hyundai i-20 (GB) 2014-2023 Автосервис Руководство: Устранение неисправностей
Стандартная форма устранения неполадок
Примечания по диагностике
Явления, перечисленные в таблице ниже, не являются ненормальными.
Состояние
|
ОБЪЯСНЕНИЕ
|
Звуковое предупреждение о проверке системы
|
При запуске двигателя иногда может быть слышен громкий шум
изнутри моторного отсека. Это связано с тем, что операция
системы
контроль завершен
|
Шум работы АБС
|
|
1)
|
Шум от двигателя, расположенного внутри гидравлического блока ABS
(шипит).
|
|
2)
|
Раздается звук, и педаль тормоза начинает вибрировать (шум
царапание).
|
|
3)
|
При срабатывании ABS издается звук шасси автомобиля.
из-за
повторное нажатие и отпускание тормоза
(Стук: подвеска; визг: шины)
|
|
Работа ABS (длинный тормозной путь)
|
На заснеженных или гравийных дорогах тормозной путь
транспортного средства, оснащенного АБС, иногда может быть дольше, чем для других
транспортные средства. Соответственно, предупредите клиента об осторожном вождении, уменьшив
скорость автомобиля на таких покрытиях.
|
Условия диагностики могут различаться в зависимости от кода неисправности.
Диагностический код неисправности был стерт, убедитесь, что условия
соответствовать требованиям, указанным в «Комментариях».
|
Бланк заказа АБС
ТАБЛИЦА ДИАГНОСТИЧЕСКИХ СИМПТОМОВ
Симптом
|
Подозрительный район
|
АБС не работает.
|
Только если 1~4 все в норме и проблема все еще присутствует,
заменить ГЭБУ.
|
1)
|
ПРОВЕРЬТЕ КОД ОШИБКИ ПОВТОРНЫМ ПОДТВЕРЖДЕНИЕМ КОДА ВЫХОДА
НОРМАЛЬНО.
|
|
2)
|
Цепь источника питания
|
|
3)
|
Цепь датчика скорости.
|
|
4)
|
ПРОВЕРЬТЕ, ЧТО ГИДРАВЛИЧЕСКИЙ КОНТУР НЕТ УТЕЧКИ
|
|
АБС периодически не работает.
|
Только если 1~4 все в норме и проблема все еще присутствует,
замените узел привода АБС.
|
1)
|
ПРОВЕРЬТЕ КОД ОШИБКИ ПОВТОРНЫМ ПОДТВЕРЖДЕНИЕМ КОДА ВЫХОДА
НОРМАЛЬНО.
|
|
2)
|
Цепь датчика скорости вращения колеса
|
|
3)
|
Цепь выключателя стоп-сигнала
|
|
4)
|
ПРОВЕРЬТЕ, ЧТО ГИДРАВЛИЧЕСКИЙ КОНТУР НЕТ УТЕЧКИ
|
|
Связь с ГДС
невозможно.
(Связь с любой системой
Невозможно)
|
|
1)
|
Цепь источника питания
|
|
Связь с ГДС
невозможно.
(Связь только с ABS
Невозможно)
|
|
1)
|
Цепь источника питания
|
|
Когда ключ зажигания включен
(двигатель выключен),
лампочка АБС не загорается
|
|
1)
|
Цепь сигнальной лампы АБС
|
|
Даже после запуска двигателя АБС
Контрольная лампа АБС продолжает гореть
|
|
1)
|
Цепь сигнальной лампы АБС
|
|
|
Во время работы ABS педаль тормоза может начать
вибрировать или может быть невозможно нажать. Такие явления
из-за периодических изменений гидравлического давления в
внутри тормозной магистрали, чтобы предотвратить заклинивание
колеса и не являются ненормальными.
|
Условия обнаружения
Признаки неисправности
|
Возможная причина
|
Работа тормозов зависит от вождения и дорожных условий.
дорожное покрытие. Поэтому диагностика может быть затруднена. Однако,
если отображается нормальный код неисправности, проверьте следующую возможную причину. Когда
проблема сохраняется, замените модуль управления ABS.
|
|
–
|
Неисправная цепь источника питания
|
|
–
|
Неисправность цепи датчика скорости вращения колеса
|
|
–
|
Неисправность гидравлического контура из-за утечек
|
|
ПРОЦЕДУРЫ КОНТРОЛЯ
ПРОВЕРКА ДКН
|
1.
|
Подключите ГРС к диагностическому разъему и включите зажигание.
на ВКЛ.
|
|
2.
|
Убедитесь, что выводится код DTC.
|
|
3.
|
Выводится ли код DTC?
|
|
▶ Проверьте цепь
от источника питания.
|
|
|
▶ Сотрите код неисправности и проверьте
снова с помощью GDS.
|
|
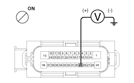
ПРОВЕРЬТЕ ЦЕПЬ ПИТАНИЯ
|
1.
|
Отсоедините разъем блока управления ABS.
|
|
2.
|
Включите зажигание, измерьте напряжение между
контакт 29 бокового разъема жгута проводов модуля управления
АБС и масса тела.
|
Спецификация: Приблизительно B+
|
|
|
3.
|
Соответствует ли напряжение стандарту?
|
|
▶ Проверьте цепь
масса.
|
|
|
▶ Проверьте жгут проводов.
кабель или разъем между предохранителем (10 А) в блоке
соединение моторного отсека и модуль управления
АБС. Ремонт по мере необходимости.
|
|
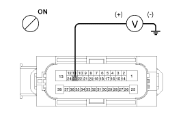
ПРОВЕРЬТЕ ЦЕПЬ ЗАЗЕМЛЕНИЯ
|
1.
|
Отсоедините разъем блока управления ABS.
|
|
2.
|
Проверьте целостность цепи между выводами 13 и 38 разъема на
Жгут проводов модуля управления ABS и точка заземления.
|
|
3.
|
Есть ли преемственность?
|
|
▶ Проверьте цепь
датчик скорости колеса.
|
|
|
▶ Отремонтируйте цепь
обрыв проводки и точки заземления.
|
|
Проверьте цепь датчика скорости вращения колеса.
|
1.
|
См. процедуры поиска и устранения неисправностей DTC.
|
|
2.
|
Это нормально?
|
|
▶ Убедитесь, что цепь
гидравлика не течет.
|
|
|
▶ Отремонтируйте или замените
датчик скорости колеса.
|
|
Убедитесь, что гидравлический контур не имеет утечек
|
1.
|
См. гидравлические линии.
|
|
2.
|
Проверьте наличие утечек в гидравлических линиях.
|
|
3.
|
Это нормально?
|
|
▶ Проблема остается
присутствует, замените блок управления АБС.
|
|
|
▶ Устранить утечки
на гидравлических линиях.
|
|
ABS не работает (с перерывами).
|
Условия обнаружения
Признаки неисправности
|
Возможная причина
|
Работа тормозов зависит от вождения и дорожных условий.
дорожное покрытие. Поэтому диагностика может быть затруднена. Однако,
если отображается нормальный код неисправности, проверьте следующую возможную причину. Когда
проблема сохраняется, замените модуль управления ABS.
|
|
–
|
Неисправная цепь источника питания
|
|
–
|
Неисправность цепи датчика скорости вращения колеса
|
|
–
|
Неисправность гидравлического контура из-за утечек
|
|
ПРОЦЕДУРЫ КОНТРОЛЯ
ПРОВЕРКА ДКН
|
1.
|
Подключите ГРС к диагностическому разъему и включите зажигание.
на ВКЛ.
|
|
2.
|
Убедитесь, что выводится код DTC.
|
|
3.
|
Выводится ли код DTC?
|
|
▶ Проверьте цепь
датчик скорости колеса.
|
|
|
▶ Сотрите код неисправности и проверьте
снова с помощью GDS.
|
|
Проверьте цепь датчика скорости вращения колеса.
|
1.
|
См. процедуры поиска и устранения неисправностей DTC.
|
|
2.
|
Это нормально?
|
|
▶ Проверьте цепь
выключателя стоп-сигналов.
|
|
|
▶ Отремонтируйте или замените
датчик скорости колеса.
|
|
Проверьте цепь выключателя стоп-сигнала
|
1.
|
Убедитесь, что стоп-сигнал загорается при нажатии на педаль тормоза.
нажимается и гаснет при отпускании педали тормоза.
|
|
2.
|
Измерьте напряжение между контактом 23 разъема со стороны жгута проводов.
Жгут проводов модуля управления ABS и масса кузова при
педаль тормоза нажата.
|
Спецификация: Приблизительно B+
|
|
|
3.
|
Соответствует ли напряжение стандарту?
|
|
▶ Убедитесь, что цепь
гидравлика не течет.
|
|
|
▶ Отремонтируйте переключатель
стоп-сигналы. Устраните любой разрыв в кабеле
между блоком управления АБС и выключателем света
останавливаться.
|
|
Убедитесь, что гидравлический контур не имеет утечек
|
1.
|
См. гидравлические линии.
|
|
2.
|
Проверьте наличие утечек в гидравлических линиях.
|
|
3.
|
Это нормально?
|
|
▶ Проблема остается
присутствует, замените блок управления АБС.
|
|
|
▶ Устранить утечки
на гидравлических линиях.
|
|
Связь с GDS невозможна.
(Связь с любой системой невозможна)
|
Условия обнаружения
Признаки неисправности
|
Возможная причина
|
Вероятный отказ системы питания (включая заземление) линии
диагностики.
|
|
–
|
Неисправная цепь источника питания
|
|
ПРОЦЕДУРЫ КОНТРОЛЯ
ПРОВЕРЬТЕ ДИАГНОСТИЧЕСКУЮ ЦЕПЬ ПИТАНИЯ
|
1.
|
Измерьте напряжение между выводом 16 разъема канала передачи данных.
и массы тела.
|
Спецификация: Приблизительно B+
|
|
|
2.
|
Напряжение в норме?
|
|
▶ Проверьте цепь
диагностическая масса.
|
|
|
▶Устраните разрыв цепи
в проводке. Проверьте и замените блок предохранителей
стык моторного отсека.
|
|
ПРОВЕРЬТЕ ДИАГНОСТИЧЕСКУЮ ЦЕПЬ МАССА
|
1.
|
Проверьте целостность цепи между выводом 4 соединительного разъема
данные и масса тела.
|
|
2.
|
Есть ли преемственность?
|
|
▶ Отремонтируйте цепь
обрыв в проводке между клеммой 4 соединительного разъема
точка данных и точка заземления.
|
|
Связь с GDS невозможна.
(Только связь с ABS невозможна.)
|
Условия обнаружения
Признаки неисправности
|
Возможная причина
|
Если связь с GDS невозможна, причиной может быть
обрыв в цепи питания HECU или в цепи
обрыв в цепи диагностического выхода.
|
|
–
|
Неисправная цепь источника питания
|
|
ПРОЦЕДУРЫ КОНТРОЛЯ
Проверьте целостность линии CAN.
|
1.
|
Отсоедините разъем блока управления ABS.
|
|
2.
|
Проверьте целостность цепи между выводами 26, 14 разъема модуля.
блок управления и выводы 3, 11 разъема канала передачи данных.
|
|
3.
|
Есть ли преемственность?
|
|
▶ Контролируйте источник
Питание блока управления АБС.
|
|
|
▶ Исправьте цепь
обрыв в проводке.
|
|
ПРОВЕРЬТЕ ИСТОЧНИК ПИТАНИЯ МОДУЛЯ УПРАВЛЕНИЯ АБС
|
1.
|
Отсоедините разъем блока управления ABS.
|
|
2.
|
Включите зажигание, измерьте напряжение между
контакт 29 бокового разъема жгута проводов модуля управления
АБС и масса тела.
|
Спецификация: Приблизительно B+
|
|
|
3.
|
Напряжение в норме?
|
|
▶ Убедитесь, что заземление
не плохо.
|
|
|
▶ Проверьте жгут проводов.
кабель или разъем между предохранителем (10 А) в блоке
распределительную коробку моторного отсека и блок управления ABS.
При необходимости отремонтируйте.
|
|
ПРОВЕРЬТЕ, ЧТО МАССА НЕ ПЛОХАЯ
|
1.
|
Проверьте целостность цепи между выводом 4 соединительного разъема
данные и точка заземления.
|
|
▶ Замените модуль
Переключатель управления ABS и проверьте еще раз.
|
|
|
▶ Отремонтируйте цепь
обрыв в проводке или неправильное заземление.
|
|
Когда ключ зажигания находится в положении ON (двигатель выключен), сигнальная лампа
АБС не включается.
|
Условия обнаружения
Признаки неисправности
|
Возможная причина
|
Когда на блок HECU подается питание, загорается контрольная лампа ABS.
на OFF во время первоначальной проверки. Итак, если свет не загорается,
это может быть связано с обрывом цепи питания
сигнальная лампа, перегоревшая лампочка,
обрыв в двух цепях между контрольной лампой АБС
и
HECU и неисправный HECU
|
|
–
|
Неисправная лампочка АБС
|
|
–
|
Перегоревший предохранитель привязан к АБС в распределительном блоке.
моторного отсека
|
|
–
|
Неисправный модуль сигнальной лампы ABS
|
|
ПРОЦЕДУРЫ КОНТРОЛЯ
ПОДТВЕРЖДЕНИЕ ПРОБЛЕМЫ
|
1.
|
Отсоедините разъем модуля управления ABS и включите переключатель.
зажигание в положение ВКЛ.
|
|
2.
|
Индикатор АБС загорается?
|
|
▶ Проверьте еще раз
после замены ABS HECU.
|
|
|
▶ Контролируйте источник
Питание контрольной лампы АБС.
|
|
ПРОВЕРЬТЕ ИСТОЧНИК ПИТАНИЯ ПРЕДУПРЕЖДАЮЩЕЙ ЛАМПЫ АБС
|
1.
|
Отсоедините разъем (M01-C) от комбинации приборов и активируйте
замок зажигания.
|
|
2.
|
Измерьте напряжение между клеммой (M01-C) 16 разъема со стороны жгута проводов.
поезда и массы кузова.
|
Спецификация: Приблизительно B+
|
|
|
3.
|
Напряжение в норме?
|
|
▶ Проверьте сопротивление
Контрольная лампа АБС Цепь CAN.
|
|
|
▶ Проверьте предохранитель
ворота.
|
|
Проверьте сопротивление цепи CAN контрольной лампы ABS.
|
1.
|
Отсоедините разъем комбинации приборов (M01-A) и установите
ключ зажигания в положение OFF.
|
|
2.
|
Измерьте сопротивление между контактами (M01-A) 20 и 19 разъема.
со стороны жгута комбинации приборов.
|
|
3.
|
Сопротивление в пределах нормы?
|
|
▶ Закрепите лампочку
Контрольная лампа ABS или вся комбинация приборов.
|
|
|
▶ Проверьте
Сигнальная лампа ABS Проводка цепи CAN.
|
|
Проверьте проводку цепи CAN контрольной лампы ABS.
|
1.
|
Отсоедините разъем комбинации приборов (M01-A) и разъем
ABS HECU, затем выключите зажигание.
|
|
2.
|
Проверка целостности цепи между клеммой (M01-A) 20 разъема на
жгут проводов комбинации приборов и контакт 26 со стороны жгута проводов ABS HECU.
Проверка целостности цепи между клеммой (M01-A) 19 разъема на
Жгут проводов комбинации приборов и клемма 14 со стороны жгута проводов ABS HECU.
|
|
3.
|
Сопротивление в пределах нормы?
|
|
▶ Устраните короткое замыкание
между контактами 26, 14 разъема жгута проводов
ABS HECU и модуль контрольной лампы ABS.
|
|
|
▶ Устраните короткое замыкание
между контактами 26, 14 разъема жгута проводов
ABS HECU и модуль контрольной лампы ABS.
|
|
Даже после запуска двигателя контрольная лампа ABS продолжает гореть
МЫ.
|
Условия обнаружения
Признаки неисправности
|
Возможная причина
|
Если блок HECU определяет наличие проблемы, он включает сигнальную лампу ABS, в то время как
что это мешает одновременно использовать АБС. В этот момент HECU регистрирует
памяти код неисправности. Хотя выводится обычный код,
Контрольная лампа ABS продолжает гореть, причина может быть в
обрыв или короткое замыкание в цепи контрольной лампы
АБС.
|
|
–
|
Неисправный узел комбинации приборов
|
|
–
|
Неисправный модуль сигнальной лампы ABS
|
|
ПРОЦЕДУРЫ КОНТРОЛЯ
ПРОВЕРЬТЕ ВЫВОД DTC
|
1.
|
Подключите GDS к 16-контактному разъему передачи данных, расположенному
за защитной накладкой со стороны водителя.
|
|
2.
|
Проверьте вывод кода неисправности с помощью GDS.
|
|
3.
|
Выводится ли код неисправности?
|
|
▶ Выполните процедуру
поиск неисправности ДТП. (см. устранение неполадок
код неисправности)
|
|
|
▶ Проверьте сопротивление
Контрольная лампа АБС Цепь CAN.
|
|
Проверьте сопротивление цепи CAN контрольной лампы ABS.
|
1.
|
Отсоедините разъем комбинации приборов (M01-A) и установите
ключ зажигания в положение OFF.
|
|
2.
|
Измерьте сопротивление между контактами (M01-A) 20 и 19 разъема.
со стороны жгута комбинации приборов.
|
|
3.
|
Сопротивление в пределах нормы?
|
|
▶ Отремонтируйте лампочку
Контрольная лампа ABS или вся комбинация приборов.
|
|
|
▶ Проверьте проводку
Контрольная лампа АБС Цепь CAN.
|
|
Проверьте проводку цепи CAN контрольной лампы ABS.
|
1.
|
Отсоедините разъем комбинации приборов (M01-A) и разъем
ABS HECU, затем выключите зажигание.
|
|
2.
|
Проверка целостности цепи между клеммой (M01-A) 20 разъема на
жгут проводов комбинации приборов и контакт 26 со стороны жгута проводов ABS HECU.
Проверка целостности цепи между клеммой (M01-A) 19 разъема на
Жгут проводов комбинации приборов и клемма 14 со стороны жгута проводов ABS HECU.
|
|
3.
|
Сопротивление в пределах нормы?
|
|
▶ Устраните короткое замыкание
между контактами 26, 14 разъема жгута проводов
ABS HECU и модуль контрольной лампы ABS.
|
|
|
▶ Устраните короткое замыкание
между контактами 26, 14 разъема жгута проводов
ABS HECU и модуль контрольной лампы ABS.
|
|
Схематические диаграммы
ТЕРМИНАЛ ФУНКЦИЯ
Соединительный терминал
Ток (AMPS)
сопротивление кабеля макс. уполномоченный (ОМС) ...
Другие материалы:
омыватель ветрового стекла
В положении ВЫКЛ осторожно потяните рычаг на себя, чтобы распылить
омывающей жидкости на ветровое стекло и для активации циклов стеклоочистителей 1-3
дворники. Используйте эту функцию, когда ветровое стекло загрязнено. Струя
жидкости и подметание стеклоочистителей заканчивается л ...
ИНЖЕКТОР Описание и работа
Описание
Форсунка GDI похожа на стандартную форсунку, но распыляет топливо.
при гораздо более высоком давлении непосредственно в камере сгорания
и имеет завихритель для достижения завихрения топлива
к его судьбе...