Hyundai i-20 manuels

Hyundai i-20 (GB) 2014-2023 Руководство по ремонту автомобилей: Порядок ремонта

ДЕПОЗИТ
1.
Слегка ослабьте колесные гайки.
Поднимите автомобиль и убедитесь, что он надежно закреплен.
2.
Снимите переднее колесо и шину в сборе со ступицы.
Момент затяжки:
107,9 ~ 127,5 Н·м (11,0 ~ 13,0 кгс·м, 79,6 ~ 94,0 фунт-фут)
Будьте осторожны, чтобы не повредить болты ступицу при снятии шины и переднего колеса.
3.
Снимите болты крепления тормозного суппорта, затем удерживайте тормозной суппорт в сборе с проволокой.
Момент затяжки:
78,4 ~ 98,0 Н·м (8,0 ~ 10,0 кгс·м, 57,8 ~ 72,3 фунт-фут)

4.
Отверните болт кронштейна и снимите датчик скорости вращения колеса. (В).
Момент затяжки:
7,8–11,8 Н·м (0,8–1,2 кгс·м, 5,8–8,7 фунт·фут)

5.
Ослабьте гайку кокера (А).
Момент затяжки:
274,6 ~ 294,2 Н·м (28,0 ~ 30,0 кгс·м, 202,5 ​​~ 217,1 фунт-фут)

Требуется замена гайки крепления передней ступицы. по новой.
После установки коксовой гайки деформируйте ее молотком и зубилом, как показано ниже.
Глубина уплотнения (1,5 мм (0,591 дюйма)

6.
Снимите фитинг стабилизатора поперечной устойчивости (В) с поперечины в сборе. (А) ослабив гайку.
Момент затяжки:
98,1 ~ 117,7 Н·м (10,0 ~ 12,0 кгс·м, 72,3 ~ 86,8 фунт-фут)

7.
Снимите шплинт и ослабьте корончатую гайку (А).
Момент затяжки:
23,5 ~ 33,3 Н·м (2,4 ~ 3,4 кгс·м, 19,4 ~ 24,5 фунт-фут)

8.
Отделить шаровой шарнир от конца рулевой тяги с ССТ (09568-1С100).

9.
Ослабьте гайку (А) и отделите шаровой шарнир от нижнего рычага. ракеты.
Момент затяжки:
58,8 ~ 70,6 Нм (6,0 ~ 7,2 кгс·м, 43,4 ~ 52,1 фунт-фут)

Шаровой шарнир нижнего рычага не должен быть поврежден.
Шаровой шарнир нижнего рычага не должен быть повернута более чем на 22 градуса.
10.
Отсоедините приводной вал (А) от передней ступицы в сборе.

11.
Снимите держатель тормозного шланга с поворотного кулака.
Момент затяжки:
6,9 ~ 10,8 Нм (0,7 ~ 1,1 кгс·м; 5,1 ~ 8,0 фунт-фут)

12.
Снимите тормозной диск, ослабив винт.
Момент затяжки
A: 4,9 ~ 5,9 Н·м (0,5 ~ 0,6 кгс·м, 3,6 ~ 4,3 фунт-фут)

13.
Снимите поворотный кулак, ослабив болты крепления стойки сила.
Момент затяжки:
98,1 ~ 117,7 Н·м (10,0 ~ 12,0 кгс·м, 72,3 ~ 86,8 фунт-фут)

РАЗБОРКА
1.
Снимите эластичное кольцо (А).

2.
Снимите узел ступицы с узла поворотного кулака.
(1)
Установите узел переднего поворотного кулака (А), нажав на него.
(2)
Установите подходящий переходник (B) на вал узла. центр.
(3)
Снимите узел ступицы (C) с узла шпинделя (A). нажатием.

3.
Снимите внутреннее кольцо подшипника ступицы со ступицы в сборе.
(1)
Установите подходящий инструмент (A), чтобы снять внутреннее кольцо. подшипника ступицы на ступице в сборе.
(2)
Установите узел ступицы и инструмент (A) на подходящий переходник. (Б).
(3)
Установите подходящий переходник (C) на вал узла. центр.
(4)
Снимите внутреннее кольцо подшипника ступицы (D) с узла. ступицы нажатием.

4.
Снимите пылезащитную крышку (А).

5.
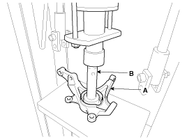
Снимите наружное кольцо подшипника ступицы с узла. ракета.
(1)
Установите узел ступицы (A) на подходящий переходник (B).
(2)
Установите подходящий переходник (C) на внешнее кольцо подшипника. ступицы.
(3)
Снимите наружное кольцо подшипника ступицы с узла. ракеты нажатием.

6.
Замените подшипник ступицы на новый.
Сборка
1.
Установите подшипник ступицы на узел шпинделя.
(1)
Нажмите на узел ракеты (A).
(2)
Установите новый подшипник ступицы на узел шпинделя. (В).
(3)
Установите подходящий переходник (B) на подшипник ступицы.
(4)
Установите подшипник ступицы на узел шпинделя, нажатие.

Не нажимайте на внутреннюю обойму подшипника. ступицы, так как это может привести к повреждению узла несущий.
Всегда используйте комплект подшипников новое колесо.
2.
Установите пылезащитный экран (А).

3.
Установите узел ступицы на узел шпинделя.
(1)
Установите узел ступицы (A) на подходящий переходник (B).
(2)
Поместите узел поворотного кулака (С) на узел ступицы (А).
(3)
Установите подходящий переходник (D) на подшипник ступицы.
(4)
Установите узел ступицы (A) на узел шпинделя. (С) нажатие.

Не нажимайте на внутреннюю обойму подшипника. ступицы, так как это может привести к повреждению узла несущий.
4.
Установите стопорное кольцо (А).

Контроль
1.
Убедитесь, что ступица не имеет трещин и что шлицы не не ношенный.
2.
Убедитесь, что тормозной диск не поцарапан и не поврежден.
3.
Убедитесь, что шпиндель не треснул.
4.
Убедитесь, что подшипник не имеет трещин и повреждений.
Компоненты и расположение компонентов
КОМПОНЕНТЫ 1. Тормозной диск 2. Ступица в сборе 3. Пылезащитный чехол 4. Весь сустав 5. Приводной вал ...

Приводной вал
...
Другие материалы:

Компоненты поручня для пассажира и их расположение
РАСПОЛОЖЕНИЕ КОМПОНЕНТОВ 1. Пассажирская ручка ...

Процедуры ремонта
Контроль Выполните описанную ниже процедуру, чтобы убедиться, что функция ECM не работает. нормальный. 1. Поместите ключ зажигания в положение «ON». 2. Закройте передний датчик. 3. Место...