Hyundai i-20 manuels

Hyundai i-20 (GB) 2014-2023 Руководство по ремонту автомобилей: ПЕРЕДНЯЯ СТОЙКА В СБОРЕ Порядок ремонта

ДЕПОЗИТ
1.
Снимите переднее колесо и шину.
Момент затяжки:
107,9 ~ 127,5 Н·м (11,0 ~ 13,0 кгс·м, 79,6 ~ 94,0 фунт-фут)
Будьте осторожны, чтобы не повредить болты ступицу при снятии шины и переднего колеса.
2.
Снимите тормозной шланг, ослабив болты крепления.
Момент затяжки:
6,9 ~ 10,8 Н·м (0,7 ~ 1,1 кгс·м, 5,0 ~ 8,0 фунт-фут)

3.
Снимите кронштейн датчика скорости вращения колеса (В), отвинтив крепежные болты. [Для применяемого типа ABS]
Момент затяжки:
6,9 ~ 10,8 Н·м (0,7 ~ 1,1 кгс·м, 5,0 ~ 8,0 фунт-фут)

4.
Снимите фитинг стабилизатора поперечной устойчивости (В) с поперечины в сборе. (А) ослабив гайку.
Момент затяжки:
98,1 ~ 117,7 Н·м (10,0 ~ 12,0 кгс·м, 72,3 ~ 86,8 фунт-фут)

Кожух стабилизатора не должен быть поврежден.
Гайку необходимо ослабить после закрепления детали шестиугольный.

5.
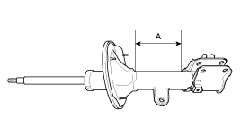
Ослабьте крышку стойки (А), а затем ослабьте гайку фиксация (В).
Момент затяжки E….
49,0 ~ 63,7 Нм (5,0 ~ 6,5 кгс·м, 36,2 ~ 47,0 фунт-фут)

6.
Снимите поворотный кулак, ослабив болты крепления стойки сила.
Момент затяжки:
98,1 ~ 117,7 Н·м (10,0 ~ 12,0 кгс·м, 72,3 ~ 86,8 фунт-фут)

7.
Для установки выполните процедуру, обратную снятию.
Контроль
1.
Убедитесь, что подшипник стойки не изношен и не поврежден.
2.
Убедитесь, что нижнее и верхнее седла пружины не повреждены. не ухудшилось
3.
Сожмите и выдвиньте шток поршня (А) и убедитесь, что нет ненормальное сопротивление или ненормальный шум во время работы.

Депозит
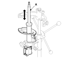
(1)
Полностью выдвиньте шток поршня.
(2)
Проделайте отверстие в секции «А», чтобы удалить газ из цилиндр.

Выходящий газ безвреден, но следите за летящей стружкой при сверлении.
РАЗБОРКА
1.
Сожмите винтовую пружину (А) с помощью специального инструмента (09546-26000).
Не сжимайте пружину больше, чем необходимо.

2.
Ослабьте самостопорящиеся гайки (С) стойки (В).
3.
Снимите изолятор, седло пружины, цилиндрическую пружину и пыльник стойки.
4.
Для повторной сборки выполните процедуру, обратную разборке.
ПЕРЕДНЯЯ СТОЙКА В СБОРЕ Компоненты и расположение компонентов
КОМПОНЕНТЫ 1. Контргайка 2. Пылезащитный изоляционный колпачок 3. Изолятор подножки 4. Опрокидывание стойки 5. Верхнее сиденье рес...

Процедуры ремонта переднего нижнего рычага
ДЕПОЗИТ 1. Снимите переднее колесо и шину. Момент затяжки: 107,9 ~ 127,5 Н·м (11,0 ~ 13,0 кгс·м, 79,6 ~ 94,0 фунт-фут) ...
Другие материалы:

С датчиком салона Описание и работа
Описание Датчик содержит термистор, который измеряет температуру внутри. Сигнал, определяемый значением сопротивления, которое изменяется по отношению к воспринимаемая температура в салоне, отправляется на блок управления отоплением и следи...

Меры предосторожности зимой
Используйте высококачественную гликолевую охлаждающую жидкость. В вашем автомобиле используется высококачественная гликолевая охлаждающая жидкость. качество системы охлаждения. Это единственный тип жидкости охлаждение, которое следует использовать, потому что оно помогает ...