Hyundai i-20 manuels

Hyundai i-20 (GB) 2014-2023 Автосервис Руководство: Схемы схемы

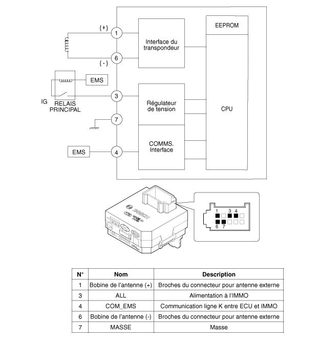
Принципиальная электрическая схема

СИСТЕМА ИММОБИЛИЗАТОРА
...

Описание и работа
Описание Система иммобилайзера отключит автомобиль, если соответствующий ключ зажигания не используется, кроме имеющихся на данный момент противоугонных систем...
Другие материалы:

ДАТЧИК ПЕРЕДНЕГО УДАРА (FIS) Описание и работа
Описание • Датчик фронтального удара (FIS) установлен в верхней части боковой панели. во внешнем модуле (FEM). Это пассивные датчики. которые обнаруживают ускорение из-за столкновений в их Эм-м-м...

Процедуры ремонта ручки открытия замка капота
ЗАМЕНА 1. Снимите ручку открывания замка капота. 2. Отсоедините трос ручки разблокировки от троса крышка (А). 3. После ослабления фи...