Hyundai i-20 manuels

Hyundai i-20 (GB) 2014-2023 Автосервис Руководство: Распредвал и CVVT описание и работа

Описание
Система непрерывного изменения фаз газораспределения (CVVT) опережает или замедляет фазы газораспределения впускных и выпускных клапанов в зависимости от управляющего сигнала ECM, рассчитанного на нагрузку и частоту вращения двигателя.
При управлении CVVT возникает клапанный зазор или перекрытие, в результате чего лучшая экономия топлива и уменьшенное количество выхлопных газов (NOx, HC), улучшая характеристики двигателя за счет снижения насосных потерь, внутренний эффект рециркуляции отработавших газов, улучшенная стабильность сгорания, эффективность объем и повышенное расширение.
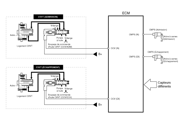
Эта система состоит из
клапан управления маслом CVVT (OCV), который подает моторное масло к фазовращателю или слить моторное масло из фазовращателя в соответствии с на сигнал PWM (импульсный с модуляцией) от ECM,
Датчик температуры масла CVVT (OTS), который измеряет температуру машинное масло,
и кулачковый синхронизатор, который изменяет фазу кулачка с помощью гидравлическая сила моторного масла.
Моторное масло, выпускаемое клапаном управления маслом CVVT, изменяет фаза кулачка в прямом направлении (опережение впуска/задержка выпуска) или в противоположном направлении (задержка впуска/опережение выпуска) вращения двигателя за счет вращения ротора, соединенного с распределительным валом внутри кулачкового фазовращателя.

Принцип действия
CVVT имеет механизм, который вращает клапан ротора с усилием гидравлический, создаваемый моторным маслом, подаваемым в камеру опережения или задержка в соответствии с управлением клапаном управления маслом CVVT.

[Системный режим CVVT]

(1) Низкая скорость/низкая нагрузка
(2) Частичная нагрузка


(3) Низкая скорость/высокая нагрузка
(4) Быстрая скорость/высокая нагрузка



Руководить
Состояние
Выхлопной клапан
Впускной клапан
Клапан
Распределение
Эффект
Клапан
Распределение
Эффект
(1) Низкая скорость
/низкая нагрузка
полностью
ПРОДВИГАТЬ
* Клапанный зазор
* Улучшенная стабильность горения
полностью
ЗАДЕРЖИВАТЬ
* Клапанный зазор
* Улучшенная стабильность горения
(2) Частичная нагрузка
ЗАДЕРЖИВАТЬ
* Повышенная релаксационная работа
* Снижение потерь при изменении нагрузки
* Снижение НС
ЗАДЕРЖИВАТЬ
* Снижение потерь при изменении нагрузки
(3) Низкая скорость
/высокая нагрузка
ЗАДЕРЖИВАТЬ
* Повышенная релаксационная работа
ПРОДВИГАТЬ
* Предотвращение обратного впускного потока (улучшенный объемная эффективность)
(4) Высокая скорость
/высокая нагрузка
ПРОДВИГАТЬ
* Снижение потерь при изменении нагрузки
ЗАДЕРЖИВАТЬ
* Улучшена эффективность громкости

Процедуры ремонта вакуумного насоса
Снятие и установка 1. Отсоедините отрицательную клемму аккумулятора. 2. Отсоедините разъемы проводки и фиксаторы жгута...

Процедуры ремонта распредвала и CVVT
ДЕПОЗИТ 1. Снимите крышку головки блока цилиндров. (См. Головка цилиндра — «Крышка головки цилиндра») 2. Бросайте помпон...
Другие материалы:

Как работает система подушек безопасности?
Модуль передней подушки безопасности водителя (1) Модуль передней подушки безопасности водителя (2) Модуль подушки безопасности переднего пассажира (3) Система предварительного натяжения ремней безопасности (передние/задние) (4) Сигнальная лампа подушки безопасности (5) Модуль управления SRS (SRSCM) (6) Датчики лобового столкновения (7) Модуль...

Технические характеристики датчика температуры окружающей среды (ATS)
Спецификация Температура [°C (°F)] СОПРОТИВЛЕНИЕ (кОм) -40 (-40) 811,1~956,8 -20 (-4) 255,6~287,7 0 (32) 91,5~98,8 20 (68) 36,6~38,0 ...