Hyundai i-20 manuels

Hyundai i-20 (GB) 2014-2023 Руководство по ремонту автомобиля: АНТЕННА Порядок ремонта

ДЕПОЗИТ
1.
Снимите заднюю облицовку потолка.
(См. Кузов — «Отделка крыши»)
2.
Отсоедините разъемы антенны на крыше (А).

3.
Снимите антенну на крыше (B), предварительно ослабив гайку (A).

СРЕДСТВО
1.
Установите антенну на крыше.
2.
Подсоедините разъем антенны на крыше.
3.
Установите заднюю обшивку крыши.
Убедитесь, что разъемы подключены правильно.
Проверьте аудиосистему.
Контроль
АНТЕННЫЙ КАБЕЛЬ
1.
Проверить наличие непрерывности между центральными полюсами кабеля антенна.

2.
Проверить наличие непрерывности между внешними полюсами кабеля антенна. Должна быть преемственность.

3.
Если непрерывности нет, замените кабель антенны.
4.
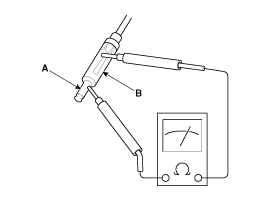
Проверьте наличие непрерывности между центральными полюсами (А) и внешние полюса (B) антенного кабеля. Не должно быть непрерывность.

5.
Если есть целостность, замените кабель антенны.
ДИНАМИКИ Процедуры ремонта
Контроль 1. Устранение неполадок динамика (1) Базовое управление динамиком Управляйте звуком через динамик...

Удаленные аудиокомпоненты и расположение компонентов
КОМПОНЕНТЫ 1. Переключатель дистанционного управления (G: Аудио + Bluetooth) 2. Переключатель дистанционного управления (D: Аудио + бортовой компьютер) ...
Другие материалы:

Обслуживание днища
Коррозионные материалы, используемые для удаления льда и снега, а также что пыль может скапливаться в нижней части корпуса. Ли эти материалы не устраняются, увеличивается образование ржавчины на части днища, такие как воздуховоды автобуса ...

Процедуры ремонта монитора задней камеры
ДЕПОЗИТ 1. Снимите корпус провода зеркала (А). 2. Снимите крепежный винт зеркала (А) и разъем (В). 3. Снимите зеркало (А), потянув вверх за...