Hyundai Genesis: схематические схемы системы управления двигателем / электромагнитного клапана регулируемого впуска (VIS)

Hyundai Genesis (DH) 2013-2016 Руководство по ремонту / Управление двигателем/топливная система / Система управления двигателем / Принципиальные схемы электромагнитного клапана регулируемого впуска (VIS)

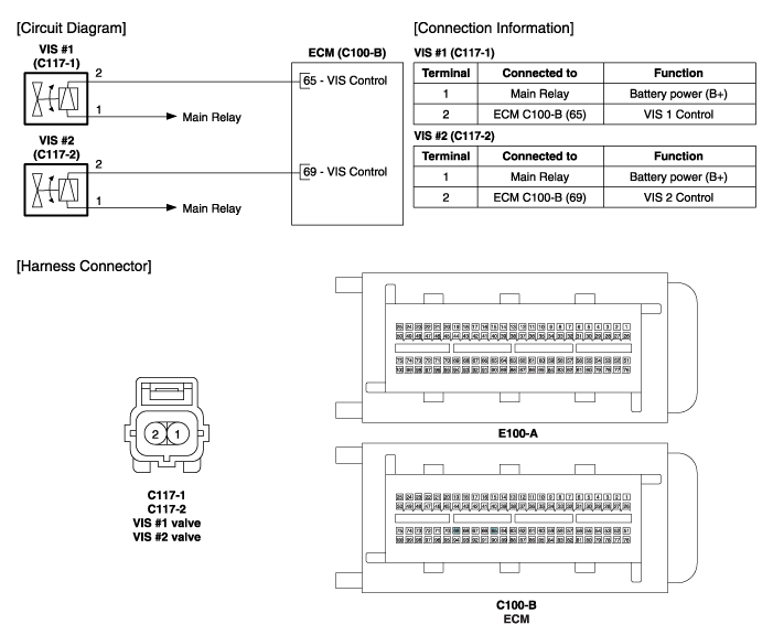
Принципиальная электрическая схема

Технические характеристики электромагнитного клапана переменного впуска (VIS)
Спецификация ПозицияХарактеристикиСопротивление катушки (?)30,0 ~ 35,0 [20°C(68°F)] ...
Процедуры ремонта электромагнитного клапана переменного впуска (VIS)
осмотр 1. Выключите зажигание. 2. Отсоедините разъем клапана VIS. 3. Измерьте сопротивление между клеммами клапана VIS 1 и 2. 4. Убедитесь, что сопротивление находится в пределах...
Дополнительная информация:

Hyundai Genesis (DH) 2013-2016 Руководство по техническому обслуживанию: Порядок ремонта


Удаление 1. Снимите кожух переднего бампера. (См. Кузов — «Крышка переднего бампера») 2. После ослабления каждого крепежного болта низкочастотного звукового сигнала (А) и звуковой сигнал высокого тона (B), отсоедините разъем (C) и снимите звуковой сигнал. Монтаж 1. После подключения разъемов звукового сигнала установите оба...

Hyundai Genesis (DH) 2013-2016 Руководство по техническому обслуживанию: Ремонт поперечины кузова


Передняя поперечина * Эти размеры, указанные на этом рисунке, являются фактическими размерами. [Единица измерения: мм (дюймы)] * Эти размеры, указанные на этом рисунке, являются фактическими размерами. [Единица измерения: мм (дюймы)] Задняя поперечина * Эти размеры, указанные на этом рисунке, представляют собой ...