Hyundai Genesis: Ковровое покрытие / Процедуры ремонта

Замена
Наденьте перчатки, чтобы не поранить руки.
При удалении с помощью плоской отвертки или съемника оберните инструменты защитной лентой, чтобы предотвратить повреждение компонентов.
При снятии элементов внутренней отделки используйте инструмент для снятия пластиковой панели, чтобы не повредить поверхность.
Будьте осторожны, чтобы не погнуть и не поцарапать обивку и панели.
1.
Снимите переднее сиденье в сборе.
(См. Переднее сиденье — «Переднее сиденье в сборе»)
2.
Снимите подушку заднего сиденья в сборе.
(См. Заднее сиденье — «Заднее сиденье в сборе»)
3.
Аккуратно снимите боковой уплотнитель передней двери.
4.
Аккуратно снимите боковой уплотнитель кузова задней двери.
5.
Снять обшивку порога передней двери.
(См. Отделка салона — «Отделка потертостей передней двери»)
6.
Снять обшивку порога задней двери.
(См. Отделка салона — «Отделка потертостей задней двери»)
7.
Снимите нижнюю облицовку центральной стойки.
(См. Отделка салона — «Отделка центральной стойки»)
8.
Снимите боковую отделку капота.
(См. Отделка салона — «Боковая отделка капота»)
9.
Снимите напольную консоль в сборе.
(См. Консоль пола — «Сборка консоли пола»)
10.
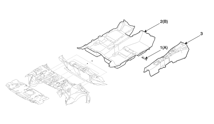
Используя отвертку или съемник, снимите скобу-заглушку ID рамы (A).
11.
Снимите педаль акселератора.
(См. Управление двигателем/топливная система — «Педаль акселератора»)
12.
Снимите напольный ковер в сборе (B).
13.
Установите в порядке, обратном снятию.
Замените все поврежденные клипсы.

1. Заглушка идентификатора кадра
2. Сборка напольного ковра
3. Тоннельная площадка

Напольный ковер
...
Передний бампер
...
Дополнительная информация:

Hyundai Genesis (DH) 2013-2016 Service Manual: Компоненты и расположение компонентов


Расположение компонента 1. Головное устройство AVN2. Передний ЖК-монитор3. Клавиатура Blue Link (синяя ссылка)4. Мультимедийный разъем5. WI-FI антенна6. Антенна на крыше7. Внешний усилитель8. Микрофон громкой связи (встроенный в потолочную консоль)9. Пульт дистанционного управления на руль (SWRC) ...

Руководство по эксплуатации Hyundai Genesis (DH) 2013-2016: Буксировка


Услуги буксировки Если необходима аварийная буксировка, мы рекомендуем, чтобы это было сделано авторизованный дилер HYUNDAI или коммерческий эвакуатор. Правильные процедуры подъема и буксировки необходимы для предотвращения повреждения автомобиль. Использование колесных тележек или планшет рекомендуется. ...