Hyundai Genesis: Система ESC (электронный контроль устойчивости) / Описание и работа

Описание ЭСК
ESC распознает критические условия вождения, такие как паника реакции в опасных ситуациях и стабилизирует автомобиль за счет торможения вмешательством в управление рулем и двигателем.
ESC добавляет дополнительную функцию, известную как Active Yaw Control (AYC). к функциям ABS, TCS, EBD и ESC. Пока функция ABS/TCS контролирует проскальзывание колес при торможении и ускорении и, таким образом, в основном вмешивается в продольную динамику автомобиля, активное рыскание Управление стабилизирует автомобиль по его вертикальной оси.
Стабильность достигается за счет торможения колесом и адаптация мгновенного крутящего момента двигателя без необходимости каких-либо действий для возьмет водитель.
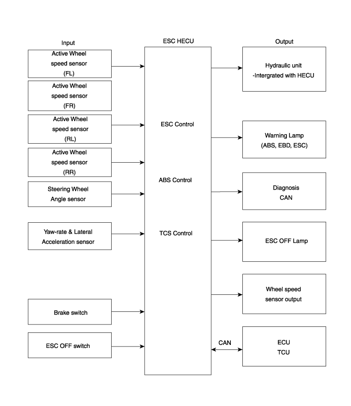
ESC в основном состоит из трех узлов: датчиков, электронного блока управления и приводов.
Функция контроля устойчивости работает при любом вождении и условия эксплуатации. В определенных условиях движения ABS/TCS функция может быть активирована одновременно с функцией ESC в реакция на команду водителя.
В случае отказа функции контроля устойчивости основная функция безопасности, ABS, продолжает работать.

Описание управления ESC
Система ESC включает функции ABS/EBD, TCS и AYC.
Функция ABS/EBD: ECU изменяет активный сигнал датчика (текущий сдвиг), поступающий от четырех колесных датчиков к прямоугольной волне. Используя входные сигналы, указанные выше, ЭБУ вычисляет транспортное средство. скорость и ускорение и замедление четырех колес. И, ECU решает, следует ли активировать ABS/EBD или нет.
Функция TCS предотвращает проскальзывание колес в направлении движения добавляя тормозное давление и уменьшая крутящий момент двигателя через CAN коммуникация. Функция TCS использует сигнал датчика скорости вращения колеса для определить проскальзывание колес с помощью функции ABS.
Функция AYC предотвращает неустойчивое маневрирование автомобиля. К определить маневр автомобиля, функция AYC использует датчик маневра сигналы (датчик скорости рыскания, датчик бокового ускорения, рулевое колесо Датчик угла).
Если маневр автомобиля нестабилен (избыточная или недостаточная поворачиваемость), Функция AYC применяет тормозное давление к определенному колесу и отправляет сигнал снижения крутящего момента двигателя по CAN.
После включения зажигания ЭБУ непрерывно диагностирует систему. отказ. (самодиагностика) Если обнаружен сбой в системе, ЭБУ информирует водителя о сбое системы посредством предупреждения BRAKE/ABS/ESC лампа. (отказоустойчивое предупреждение)

Диаграмма ввода и вывода

Режим работы регулятора скорости
Схема гидравлической системы ESC

1.
ESC не работает: нормальное торможение.
Соленоидный клапан
Преемственность
Клапан
Мотопомпа
Клапан ТК
В (НЕТ)
ВЫКЛЮЧЕННЫЙ
ОТКРЫТЬ
ВЫКЛЮЧЕННЫЙ
ВЫКЛЮЧЕННЫЙ
ВЫХОД (НЗ)
ВЫКЛЮЧЕННЫЙ
ЗАКРЫВАТЬ

2.
работа регулятора скорости
Соленоидный клапан
Преемственность
Клапан
Мотопомпа
Клапан ТК
недостаточная поворачиваемость
(Только внутри заднего колеса)
В (НЕТ)
ВЫКЛЮЧЕННЫЙ
ОТКРЫТЬ
НА
НА
ВЫХОД(НЗ)
ВЫКЛЮЧЕННЫЙ
ЗАКРЫВАТЬ
избыточная поворачиваемость
(Только снаружи переднего колеса)
В (НЕТ)
ВЫКЛЮЧЕННЫЙ
ОТКРЫТЬ
ВЫХОД(НЗ)
ВЫКЛЮЧЕННЫЙ
ЗАКРЫВАТЬ

Модуль контрольной лампы АБС
Активный модуль контрольной лампы АБС указывает на самопроверку и состояние отказа АБС. Контрольная лампа АБС должна гореть под следующие условия:
-
Во время фазы инициализации после IGN ON. (непрерывно в течение 3 секунд).
-
В случае торможения работы АБС по отказу.
-
В режиме диагностики.
-
Когда разъем ECU отделен от ECU.
-
Лампа кластера горит, когда связь с модулем CAN невозможна.
Модуль контрольной лампы EBD/стояночного тормоза
Активный модуль контрольной лампы EBD указывает на самопроверку и состояние неисправности EBD. Однако, если переключатель стояночного тормоза включена, контрольная лампа EBD всегда горит независимо от Функции ЭБД. Контрольная лампа EBD должна гореть в следующих случаях: условия:
-
Во время фазы инициализации после IGN ON. (непрерывно в течение 3 секунд).
-
Когда переключатель стояночного тормоза включен или уровень тормозной жидкости низкий.
-
Когда функция EBD вышла из строя.
-
В режиме диагностики.
-
Когда разъем ECU отделен от ECU.
-
Лампа кластера горит, когда связь с модулем CAN невозможна.
Функция ESC/сигнальная лампа
Функциональная/предупредительная лампа ESC указывает на самопроверку и состояние неисправности ESC.
Функциональная/предупредительная лампа ESC загорается при следующих условиях:
-
Во время фазы инициализации после IGN ON. (непрерывно в течение 3 секунд).
-
Когда функция ESC заблокирована из-за сбоя системы.
-
Когда управление ESC работает. (мигание - 2 Гц)
-
В режиме диагностики (кроме стандартного режима).
-
Лампа кластера горит, когда связь с модулем CAN невозможна.
Лампа выключения ESC
Лампа ESC Off указывает на самопроверку и рабочее состояние ESC.
Индикатор ESC Off работает при следующих условиях:
-
В режиме инициализации после IGN ON. (непрерывно в течение 3 секунд).
-
Лампа ESC Off загорается, когда водитель нажимает кнопку ESC Off.
Переключатель ESC вкл./выкл.
Переключатель ESC On/Off должен использоваться для переключения функции ESC между состояниями On/Off в зависимости от действий водителя.
Выключатель Вкл/Выкл должен быть нормально разомкнутым контактным выключателем мгновенного действия. Замкнутые контакты переключают цепь на зажигание.
Начальное состояние функции ESC включено, и переключатель переключается между состояниями Вкл./Выкл.
Компоненты и расположение компонентов
Компоненты 1. Модуль HECU2. Датчик угла поворота рулевого колеса (SAS)3. Датчик скорости заднего колеса 4. Датчик скорости переднего колеса ...
Схематические диаграммы
Принципиальная электрическая схема Вход/выход разъема ESC Номер контакта ОписаниеТок(м/А)Сопротивление(м/?)МАКС.1Батарея 2 (+) 137102POWERTRAIN CAN LOW302503---4---5---6---7---8---9---10- --11Выключатель стояночного тормоза10250...
Дополнительная информация:

Hyundai Genesis (DH) 2013-2016 Service Manual: Компоненты и расположение компонентов


Расположение компонента 1. Отбойник в сборе ...

Hyundai Genesis (DH) 2013-2016 Руководство по техническому обслуживанию: Коробка привода форсунки (IDB) Процедуры ремонта


Удаление 1. Выключите зажигание и отсоедините отрицательный (-) кабель аккумуляторной батареи. 2. Снимите кронштейн ECM, TCM и IDB. (См. Система управления двигателем — «ECM») 3. Отсоедините TCM (B) от кронштейна после ослабления крепежного болта (A). 4. Отсоедините ИБД (Б) от...