Hyundai Genesis: узел головки блока цилиндров / узел CVVT, описание и работа

Описание
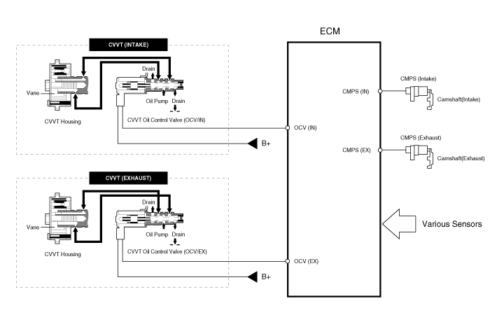
Система непрерывного изменения фаз газораспределения (CVVT) опережает или задерживает фазы газораспределения впускного и выпускного клапанов в соответствии с управляющим сигналом ECM, который рассчитывается по частоте вращения двигателя и нагрузка.
При управлении CVVT происходит перекрытие или недопуск клапана, что обеспечивает лучшую экономию топлива и уменьшает выхлопные газы (NOx, HC). CVVT улучшает работу двигателя за счет снижения потерь в насосе, внутренний эффект рециркуляции отработавших газов, улучшение стабильности сгорания, улучшение объемный КПД и увеличение работы расширения.
Эта система состоит из
-
масляный регулирующий клапан CVVT (OCV), который снабжает двигатель масло в фазовращатель или сливает моторное масло из фазовращателя в в соответствии с управляющим сигналом ECM PWM (Pulse With Modulation),
-
датчик температуры масла CVVT (OTS), который измеряет температуру моторного масла,
-
и Cam Phaser, который изменяет фазу кулачка, используя гидравлическую силу моторного масла.
Моторное масло, вытекающее из клапана управления маслом CVVT изменяет фазу кулачка в направлении (впускное опережение/выпускное замедление) или противоположное направление (замедление впуска/опережение выпуска) двигателя вращение за счет вращения ротора, соединенного с распределительным валом внутри кулачковый фазер.

Принцип работы
CVVT имеет механизм, вращающий лопасть ротора с гидравлическая сила, создаваемая моторным маслом, подаваемым на опережение или камеру замедления в соответствии с управлением масляным клапаном CVVT.

[Системный режим CVVT]

(1) Низкая скорость/низкая нагрузка
(2) Частичная нагрузка


(3) Низкая скорость/высокая нагрузка
(4) Высокая скорость/высокая нагрузка



Вождение
Состояние
Выхлопной клапан
Впускной клапан
Клапан
Сроки
Эффект
Клапан
Сроки
Эффект
(1) Низкая скорость
/Низкая нагрузка
Полностью
Продвигать
* Нижний клапан клапана
* Улучшение стабильности горения
Полностью
Замедлить
* Нижний клапан клапана
* Улучшение стабильности горения
(2) Частичная нагрузка
Замедлить
* Увеличение работы расширения
* Снижение насосных потерь
* Снижение НС
Замедлить
* Снижение насосных потерь
(3) Низкая скорость
/Высокая нагрузка
Замедлить
* Увеличение работы расширения
Продвигать
* Предотвращение обратного потока на впуске (улучшение объемной эффективности)
(4) Высокая скорость
/Высокая нагрузка
Продвигать
* Снижение насосных потерь
Замедлить
* Улучшение объемной эффективности

Компоненты сборки CVVT и расположение компонентов
Компоненты 1. Правый выхлоп CVVT2. Правый впуск CVVT3. Левый впуск CVVT4. Левый выхлоп CVVT ...
Процедуры ремонта CVVT в сборе
Удаление Непрерывная регулировка фаз газораспределения (CVVT) 1. Снимите цепь привода ГРМ. (См. Система синхронизации - «Цепь синхронизации») 2. Снимите блок CVVT. А. A: левый выхлоп CVVT Б. B: потребление ЛГ...
Дополнительная информация:

Hyundai Genesis (DH) 2013-2016 Руководство по обслуживанию: Описание и работа


Описание Система запуска включает в себя аккумуляторную батарею, стартер, соленоид переключатель, замок зажигания, переключатель блокировки (A/T), переключатель педали сцепления (М/Т), выключатель замка зажигания, соединительные провода и кабель аккумуляторной батареи. Когда ключ зажигания повернут в положение пуск, протекает ток и подается питание...

Hyundai Genesis (DH) 2013-2016 Руководство по техническому обслуживанию: Порядок ремонта


Удаление 1. Отсоедините отрицательный кабель аккумулятора от аккумулятора и подождите не менее 30 секунд. 2. Поверните рулевое колесо так, чтобы передние колеса находились в положении прямолинейного движения. 3. Снимите модуль подушки безопасности. (См. Система пассивной безопасности — «Модуль подушки безопасности водителя (DAB) и часы...