Hyundai Genesis: система контроля давления в шинах / Расположение компонентов и компонентов

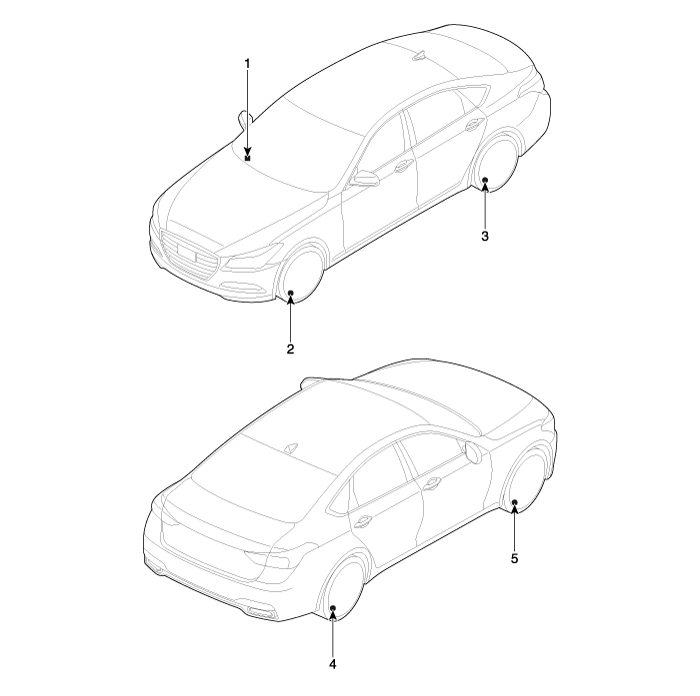
Компоненты

1. Приемник
2. Датчик TPMS (FL)
3. Датчик TPMS (RL)
4. Датчик TPMS (RR)
5. Датчик TPMS (FR)

Система контроля давления в шинах
...
Описание и работа
Описание Лампа протектора - Предупреждение о перекачке шин / утечке. 1. Состояние включения А. Когда давление в шинах ниже допустимого порога Б. Когда датчик обнаруживает быструю утечку. 2 ...
Дополнительная информация:

Hyundai Genesis (DH) 2013-2016 Руководство по техническому обслуживанию: Задний карданный вал (ТИП VL-VL) Процедуры ремонта


Замена [ЛАММДА] 1. Слегка ослабьте колесные гайки. Поднимите автомобиль и убедитесь, что он надежно закреплен. 2. Снимите заднее колесо и шину с задней ступицы. Будьте осторожны, чтобы не повредить болты ступицы при снятии заднего колеса и шины. 3. Удалите сп...

Руководство по эксплуатации Hyundai Genesis (DH) 2013-2016: Шины с радиальным кордом


Шины с радиальным кордом обеспечивают улучшенную срок службы протектора, устойчивость к дорожным опасностям и более плавная езда на высоких скоростях. Радиально- Шины, используемые на этом автомобиле, имеют поясная конструкция, и выбираются чтобы дополнить плавность хода и управляемость характеристики вашего автомобиля. Радиальные шины имеют такое же...