Hyundai Genesis: схематические схемы системы управления двигателем / датчика положения акселератора (APS)

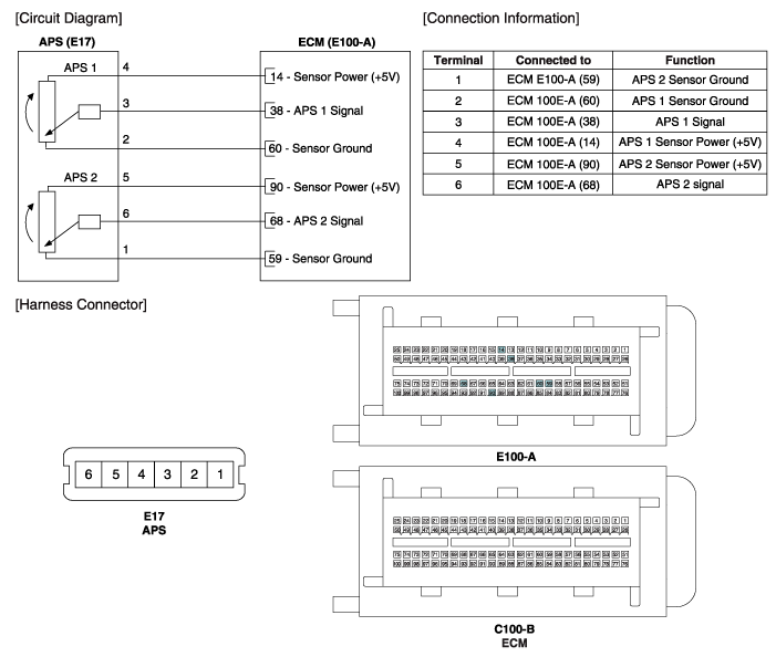
Принципиальная электрическая схема

Технические характеристики датчика положения акселератора (APS)
Спецификация AcceleratorPositionВыходное напряжение (В)APS1APS2C.T0.7 ~ 0,80,33 ~ 0,43W.O.T3,85 ~ 4,351,93 ~ 2,18 ...
Датчик положения акселератора (APS) Процедуры ремонта
осмотр 1. Подключите GDS к разъему канала передачи данных (DLC). 2. Включите зажигание. 3. Измерьте выходное напряжение APS 1 и 2 на C.T и W.O.T. Спецификация: См. т ...
Дополнительная информация:

Hyundai Genesis (DH) 2013-2016 Руководство по эксплуатации: Рекомендуемая накачка холодных шин давления


Все давления в шинах (включая запасной) следует проверять, когда шины холодные. «Холодные шины» означают транспортное средство не управлялось в течение не менее трех часов или менее чем за рулем одна миля (1,6 км). Нагретые шины обычно превышают рекомендуемые давление в холодных шинах от 4 до 6 фунтов на квадратный дюйм (от 28 до 41 ...

Hyundai Genesis (DH) 2013-2016 Руководство по техническому обслуживанию: Процедуры ремонта электромагнитного клапана регулирования давления в магистрали


осмотр 1. Выключите зажигание. 2. Отсоедините разъем электронного модуля. 3. Измерьте сопротивление между клеммами электромагнитного клапана. 4. Убедитесь, что сопротивление находится в пределах спецификации. ...