Hyundai Elantra: ABS (антиблокировочная система тормозов) / Устранение неисправностей

Стандартный поток диагностики при устранении неполадок

Примечания относительно диагностики
Явления, перечисленные в следующей таблице, не являются ненормальными.
Состояние
Объяснение
Звук проверки системы
При запуске двигателя иногда слышен глухой стук
изнутри моторного отсека. Это связано с тем, что работа системы
выполняется проверка.
Звук работы АБС
1.
Звук работы мотора внутри гидроблока АБС (свист).
2.
Звук генерируется вместе с вибрацией педали тормоза (скребком).
3.
При работе ABS звук издается шасси автомобиля из-за
многократное нажатие и отпускание тормоза
(Стук: подвеска; скрип: шины)
Работа ABS (длинный тормозной путь)
Для дорожных покрытий, таких как заснеженные и гравийные дороги, тормозной путь для автомобилей с ABS иногда может быть больше, чем это для других транспортных средств. Соответственно, посоветуйте клиенту безопасно ездить по такие дороги, снижая скорость автомобиля.
Условия обнаружения диагноза могут различаться в зависимости от кода диагноза. При проверке признака неисправности после
диагностический код был стерт, убедитесь, что выполнены требования, перечисленные в «Комментарии».

Контрольный лист АБС

Таблица признаков проблем
Симптом
Подозрительная зона
АБС не работает.
Только когда все 1~4 в норме, а проблема все еще возникает, замените HECU.
1.
Проверьте код неисправности, подтверждающий, что выводится нормальный код.
2.
Цепь источника питания.
3.
Цепь датчика скорости.
4.
Проверьте гидравлический контур на наличие утечек.
АБС не работает периодически.
Только когда все 1~4 в норме, а проблема все еще возникает, замените блок привода ABS.
1.
Проверьте код неисправности, подтверждающий, что выводится нормальный код.
2.
Цепь датчика скорости вращения колеса.
3.
Цепь выключателя стоп-сигналов.
4.
Проверьте гидравлический контур на наличие утечек.
Связь с ГДС
это невозможно.
(Связь с любой системой
невозможно)
1.
Цепь источника питания
2.
CAN-линия
Связь с ГДС
это невозможно.
(Связь только с ABS
невозможно)
1.
Цепь источника питания
2.
CAN-линия
3.
HECU
Когда ключ зажигания включен
(двигатель выключен),
контрольная лампа АБС не загорается.
1.
Цепь контрольной лампы АБС
2.
HECU
Даже после запуска двигателя АБС
сигнальная лампа остается включенной.
1.
Цепь контрольной лампы АБС
2.
HECU

Во время работы ABS педаль тормоза может вибрировать или не уметь впадать в депрессию. Такие явления обусловлены периодическими изменениями в гидравлическом давлении внутри тормозной магистрали, чтобы предотвратить колеса блокировки и не является отклонением от нормы.

Состояние обнаружения
Симптомы неисправности
Возможная причина
Работа тормозов зависит от условий вождения и дороги. состояние поверхности, поэтому диагностика может быть затруднена. Однако если нормальный Отображается DTC, проверьте следующую возможную причину. Когда проблема все еще происходит, замените модуль управления ABS.
-
Неисправная цепь источника питания
-
Неисправность цепи датчика скорости вращения колеса
-
Неисправность гидравлического контура из-за утечки
-
Неисправный HECU

Процедуры проверки
Проверка кода неисправности
1.
Подсоедините GDS к разъему канала передачи данных и включите зажигание.
2.
Убедитесь, что выводится код DTC.
3.
Выводится ли код DTC?

? Проверьте цепь источника питания.

? Сотрите код неисправности и повторите проверку с помощью GDS.

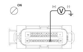
Проверьте цепь источника питания
1.
Отсоедините разъем от модуля управления АБС.
2.
Включите зажигание, измерьте напряжение между клемма 29 разъема со стороны жгута проводов модуля управления АБС и кузова земля.

Спецификация: примерно B+

3.
Напряжение соответствует спецификации?

? Проверьте цепь заземления.

? Проверьте жгут проводов или разъем между предохранителем (10А) в распределительный блок моторного отсека и блок управления ABS. Ремонт, если необходимый.

Проверьте цепь заземления
1.
Отсоедините разъем от модуля управления АБС.
2.
Проверьте целостность цепи между клеммами 13, 38 бокового разъема жгута проводов модуля управления АБС и точкой заземления.

3.
Есть ли преемственность?

? Проверьте цепь датчика скорости вращения колеса.

? Устраните разрыв в проводе и точке заземления.

Проверьте цепь датчика скорости вращения колеса.
1.
См. процедуры поиска и устранения неисправностей DTC.
2.
Это нормально?

? Проверьте гидравлический контур на наличие утечек.

? Отремонтируйте или замените датчик скорости вращения колеса.

Проверьте гидравлический контур на наличие утечек
1.
Обратитесь к гидравлическим линиям.
2.
Проверьте герметичность гидравлических линий.
3.
Это нормально?

? Проблема сохраняется, замените модуль управления ABS.

? Отремонтируйте гидравлические линии на наличие утечек.

Состояние обнаружения
Симптомы неисправности
Возможная причина
Работа тормозов зависит от условий вождения и дороги. состояние поверхности, поэтому диагностика может быть затруднена. Однако если нормальный Отображается DTC, проверьте следующую возможную причину. Когда проблема все еще происходит, замените модуль управления ABS.
-
Неисправная цепь источника питания
-
Неисправность цепи датчика скорости вращения колеса
-
Неисправность гидравлического контура из-за утечки
-
Неисправный HECU

Процедуры проверки
Проверка кода неисправности
1.
Подсоедините GDS к разъему канала передачи данных и включите зажигание.
2.
Убедитесь, что выводится код DTC.
3.
Выводится ли код DTC?

? Проверьте цепь датчика скорости вращения колеса.

? Сотрите код неисправности и повторите проверку с помощью GDS.

Проверьте цепь датчика скорости вращения колеса.
1.
См. процедуры поиска и устранения неисправностей DTC.
2.
Это нормально?

? Проверьте цепь выключателя стоп-сигнала.

? Отремонтируйте или замените датчик скорости вращения колеса.

Проверьте цепь выключателя стоп-сигнала
1.
Убедитесь, что стоп-сигнал загорается при нажатии на педаль тормоза и гаснет при отпускании педали тормоза.
2.
Измерьте напряжение между выводом 23 блока управления АБС. боковой разъем жгута модуля и масса кузова при нажатой педали тормоза депрессия.

Спецификация : примерно B+

3.
Напряжение соответствует спецификации?

? Проверьте гидравлический контур на наличие утечек.

? Отремонтировать выключатель стоп-сигнала. Устраните разрыв провода между модулем управления ABS и выключателем стоп-сигнала.

Проверьте гидравлический контур на наличие утечек
1.
Обратитесь к гидравлическим линиям.
2.
Проверка герметичности гидравлических линий.
3.
Это нормально?

? Проблема сохраняется, замените модуль управления ABS.

? Отремонтируйте гидравлические линии на наличие утечек.

Состояние обнаружения
Симптомы неисправности
Возможная причина
Возможна неисправность в системе питания (в т.ч. заземления) линии диагностики.
-
Разрыв в проводе
-
Плохая земля
-
Неисправная цепь источника питания

Процедуры проверки
Проверьте цепь питания для диагностики
1.
Измерьте напряжение между выводом 16 разъема канала передачи данных и массой кузова.

Спецификация : примерно B+

2.
Напряжение соответствует спецификации?

? Проверьте цепь массы для диагностики.

? Устраните разрыв в проводе. Проверьте и замените предохранитель в распределительном блоке моторного отсека.

Проверьте цепь массы для диагностики
1.
Проверьте целостность цепи между выводом 4 разъема канала передачи данных и массой кузова.

2.
Есть ли преемственность?

? Устраните разрыв провода между выводом 4 разъема канала передачи данных и точкой заземления.

Состояние обнаружения
Симптомы неисправности
Возможная причина
Если связь с GDS невозможна, причиной может быть возможно обрыв в цепи питания HECU или обрыв в диагностике выходная цепь.
-
Разрыв в проводе
-
Неисправный HECU
-
Неисправная цепь источника питания

Процедуры проверки
Проверьте целостность линии CAN.
1.
Отсоедините разъем от модуля управления АБС.
2.
Проверьте целостность цепи между выводами 26, 14 разъема блока управления АБС и 3, 11 разъема канала передачи данных.
3.
Есть ли преемственность?

? Проверьте источник питания модуля управления ABS.

? Устраните разрыв в проводе.

Проверьте источник питания модуля управления ABS.
1.
Отсоедините разъем от модуля управления АБС.
2.
Включите зажигание, измерьте напряжение между клемма 29 разъема со стороны жгута проводов модуля управления АБС и кузова земля.

Спецификация : примерно B+

3.
Напряжение соответствует спецификации?

? Проверьте на плохое заземление.

? Проверьте жгут проводов или разъем между предохранителем (10А) в распределительный блок моторного отсека и модуль управления ABS. Отремонтируйте, если необходимый.

Проверьте на плохое заземление
1.
Проверьте целостность цепи между выводом 4 разъема канала передачи данных и точкой заземления.

? Замените модуль управления ABS и повторите проверку.

? Устранить разрыв в проводе или плохое заземление

Состояние обнаружения
Симптомы неисправности
Возможная причина
Когда в блоке HECU протекает ток, контрольная лампа АБС выключается.
на OFF в качестве начальной проверки. Поэтому, если лампа не загорается,
причиной может быть обрыв в цепи питания лампы, перегоревшая лампочка,
обрыв в обеих цепях между контрольной лампой АБС и
HECU и неисправный HECU.
-
Неисправная лампа контрольной лампы ABS
-
Перегоревший предохранитель связан с ABS в распределительном блоке моторного отсека.
-
Неисправный модуль контрольной лампы ABS
-
Неисправный HECU

Процедуры проверки
Проверка проблемы
1.
Отсоедините разъем от модуля управления ABS и включите зажигание.
2.
Контрольная лампа АБС горит?

? Проверьте еще раз после замены ABS HECU.

? Проверьте источник питания контрольной лампы ABS.

Проверьте источник питания контрольной лампы ABS.
1.
Отсоедините разъем комбинации приборов (M08) и включите зажигание.
2.
Измерьте напряжение между контактом (M08) 39 бокового разъема жгута проводов комбинации приборов и массой кузова.

Спецификация : примерно B+

3.
Напряжение соответствует спецификации?

? Проверьте сопротивление цепи CAN контрольной лампы ABS.

? Проверьте, не перегорел ли предохранитель.

Проверьте сопротивление цепи CAN контрольной лампы АБС.
1.
Отсоедините разъем комбинации приборов (M08) и выключите зажигание.
2.
Измерьте сопротивление между контактами (M08) 32 и 33 бокового разъема жгута проводов комбинации приборов.

Спецификация : 60?

3.
Сопротивление соответствует спецификации?

? Отремонтируйте лампу контрольной лампы АБС или приборную панель в сборе.

? Проверьте проводку цепи CAN для контрольной лампы ABS.

Проверьте проводку цепи CAN для контрольной лампы ABS.
1.
Отсоедините разъем комбинации приборов (M08) и разъем ABS HECU, затем выключите зажигание.
2.
Проверьте целостность цепи между клеммой (M08) 32 разъема со стороны жгута проводов комбинации приборов и клеммой 26 со стороны жгута проводов ABS HECU.
Проверьте целостность цепи между клеммой (M08) 33 разъема со стороны жгута проводов комбинации приборов и клеммой 14 со стороны жгута проводов ABS HECU.

Спецификация : Ниже 1?

3.
Сопротивление соответствует спецификации?

? Устраните короткое замыкание проводки между контактами 26, 14 разъема жгута проводов ABS HECU и модулем контрольной лампы ABS.

? Устранить разрыв проводки между контактами 26, 14 разъема жгута проводов ABS HECU и модулем контрольной лампы ABS.

Состояние обнаружения
Симптомы неисправности
Возможная причина
Если блок HECU обнаруживает неисправность, он зажигает контрольную лампу АБС,
одновременно запрещая управление ABS. В это время HECU записывает
Код неисправности в памяти. Несмотря на то, что выводится нормальный код, ABS
контрольная лампа продолжает гореть, то причина может быть в обрыве
или короткое замыкание в цепи контрольной лампы АБС.
-
Разрыв в проводе
-
Неисправная сборка комбинации приборов
-
Неисправный модуль контрольной лампы ABS
-
Неисправный HECU

Процедуры проверки
Проверьте вывод кода неисправности.
Процедуры ремонта
осмотр Прокачка системы ABS Эта процедура должна выполняться для обеспечения адекватного кровотечения. воздуха и наполнения блока ESC, тормозных магистралей и главного цилиндра с тормозной жидкостью. 1. Удалить т...
Компоненты модуля управления ABS и их расположение
Компоненты 1. Передняя правая трубка2. Задняя - левая трубка3. Задняя - правая труба4. Передняя левая труба5. MC SEC 6. MC PRI7. Блок управления АБС (HECU)8. Скобка ...
Дополнительная информация:

Hyundai Elantra AD (2016-2020) Руководство по эксплуатации: Индикатор Cruise SET, Индикатор круиза
Индикатор Cruise SET (для обычного кластера, при наличии) Этот индикатор загорается: Когда установлена ​​скорость круиз-контроля. Для получения дополнительной информации см. «Система круиз-контроля» в главе 5. Световой индикатор круиза (для панели наблюдения, если есть) Эта индика...

Hyundai Elantra AD (2016-2020) Руководство по техническому обслуживанию: Задняя ступица - компоненты несущей части и расположение компонентов
Компоненты [Тип диска] 1. Задний тормозной диск2. Подшипник задней ступицы 3. Опорная пластина4. Скобка [Тип барабана] 1. Задний тормоз в сборе2. Ступица и подшипник в сборе3. Задний тормозной барабан ...