Hyundai Elantra: Процедуры ремонта карданного вала / карданного вала

Разборка
На шарнир карданного вала необходимо нанести специальную смазку. Не заменяйте смазку другим типом.
Башмак следует заменить на новый.
1.
Снимите передний приводной вал.
(См. узел приводного вала — «Передний приводной вал»)
2.
Снимите стопорное кольцо корпуса (В) со шлица приводного вала (А).

3.
Снимите оба хомута с корпуса TJ.

4.
Снимите корпус TJ (А).

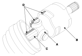
Сделайте установочные метки на узле ролика крестовины (A), корпусе шарнира (B) и шлице вала (C), чтобы облегчить повторную сборку.

5.
Снимите стопорное кольцо (А) с вала.

6.
Снимите крестовину в сборе (B) с приводного вала (A) с помощью специального инструмента SST (09495-33000).

7.
Очистите крестовину в сборе.
8.
Снимите ботинок TJ (A).
Для повторного использования чехла (A) оберните лентой (B) шлицы приводного вала (C), чтобы защитить чехол (A).

осмотр
1.
Проверьте пыльники приводного вала на наличие повреждений и износа.
2.
Проверьте шлицы приводного вала на предмет износа или повреждений.
3.
Убедитесь, что в соединении нет воды или посторонних предметов.
4.
Проверьте крестовину в сборе на вращение роликов, износ или коррозию.
5.
Проверьте канавку внутри корпуса шарнира на предмет износа или коррозии.
6.
Проверьте динамический демпфер на наличие повреждений или трещин.
Сборка
1.
Оберните ленту вокруг шлица приводного вала (TJ), чтобы предотвратить повреждение чехла.
2.
Используя установочные метки (D), сделанные во время разборки, в качестве направляющей, установите крестовину в сборе (A) и стопорное кольцо (B) на шлицы приводного вала (С).

3.
Добавьте указанную смазку в пыльник шарнира столько, сколько было стерто при осмотре.
4.
Установите оба загрузочных ремня.
5.
С помощью SST (09495-39100) закрепите хомуты TJ.

Не используйте повторно загрузочную ленту.
6.
Установите передний карданный вал.
(См. узел приводного вала — «Передний приводной вал»)
7.
Проверьте переднее выравнивание.
(См. Система подвески — «Выравнивание переднего колеса»)
Компоненты соединения TJ и расположение компонентов
Компоненты [Правый] 1. BJ в сборе 2. Стопорное кольцо BJ 3. Лента ботинка BJ 4. Башмак BJ 5. Лента динамического демпфера 6. Динамический демпфер7. Вал8. Ремешок для ботинок TJ9. Ботинок TJ10. Паук в сборе 11. Стопорное кольцо12. Дело Т.Дж.13. ...
Компоненты загрузки BJ и расположение компонентов
компоненты (1) 1. BJ в сборе 2. Стопорное кольцо BJ 3. Лента ботинка BJ 4. Башмак BJ 5. Лента динамического демпфера 6. Динамический демпфер7. Вал8. Ремешок для ботинок TJ9. Ботинок TJ10. Паук в сборе 11. Стопорное кольцо12. Корпус ТЖ13. С ...
Дополнительная информация:

Hyundai Elantra AD (2016-2020) Руководство по обслуживанию: Описание и работа
Описание Выбросы выхлопных газов (CO, HC, NOx) контролируются сочетание модификаций двигателя и добавление специального управления компоненты. Модификации камеры сгорания, впускного коллектора, распределительного вала и системы зажигания составляют базовую систему управления. Эти предметы были в...

Hyundai Elantra AD (2016-2020) Руководство по техническому обслуживанию: Боковой уплотнитель передней двери Процедуры ремонта
Замена [Боковой уплотнитель передней двери] 1. Ослабьте болт крепления регулировочной шайбы (В) передней двери. Момент затяжки : 18,6 ~ 28,4 Н·м (1,7 ~ 2,2 кгс·м, 13,7 ~ 21,0 фунт-фут) 2. Отсоедините зажимы, затем снимите боковой уплотнитель передней двери (A). 3. Чтобы установить, выполните процедуру удаления в обратном порядке...