Hyundai Elantra: Процедуры ремонта блока цилиндров / поршня и шатуна

Разборка
Для этой процедуры требуется снятие двигателя.
Используйте накладки на крылья, чтобы не повредить окрашенные поверхности.
Во избежание повреждения головки блока цилиндров подождите, пока двигатель температура охлаждающей жидкости падает ниже нормальной температуры перед ее удалением.
При обращении с металлической прокладкой будьте осторожны, чтобы не согнуть прокладку и не повредить контактную поверхность прокладки.
Во избежание повреждений осторожно отсоединяйте разъемы проводки, удерживая часть разъема.
Пометьте все провода и шланги, чтобы избежать неправильного соединения.
Поверните шкив коленчатого вала так, чтобы поршень № 1 находился в ВМТ (верхняя мертвая точка).
1.
Снимите двигатель в сборе с автомобиля.
(См. Двигатель и трансмиссия в сборе — «Двигатель и трансмиссия в сборе»)
2.
Снимите коробку передач в сборе с двигателя в сборе.
Автоматическая коробка передач
(См. Система автоматической коробки передач — «Автоматическая коробка передач»)
3.
Снимите приводную пластину.
(См. Блок цилиндров — «Приводной диск»)
4.
Снимите задний сальник.
(См. Блок цилиндров — «Заднее масляное уплотнение»)
5.
Установите двигатель на стенд двигателя для разборки.
6.
Снимите цепь привода ГРМ.
(См. Система синхронизации - «Цепь синхронизации»)
7.
Снимите водяной насос в сборе.
(См. Система охлаждения — «Водяной насос»)
8.
Снимите патрубок подачи воды и узел термостата.
(См. Система охлаждения - «Электрический термостат (ECT)»).
9.
Снимите впускной коллектор.
(См. Система впуска и выпуска — «Впускной коллектор»)
10.
Снимите компрессор кондиционера.
(См. раздел Отопление, вентиляция и кондиционирование воздуха — «Компрессор»)
11.
Снимите выпускной коллектор.
(См. Система впуска и выпуска — «Выпускной коллектор»)
12.
Снимите головку блока цилиндров в сборе.
(См. раздел Головка цилиндра в сборе — «Головка цилиндра»)
13.
Снимите масляный фильтр.
(См. Система смазки — «Моторное масло»)
14.
Снимите масляный экран.
(См. Система смазки — «Масляный поддон»)
15.
Проверьте боковой зазор шатуна.
16.
Проверьте масляный зазор в крышке шатунного подшипника.
17.
Снимите поршень и шатун в сборе.
(1)
Используя развертку, удалите весь углерод с верхней части цилиндра.
(2)
Снимите крышки шатунных подшипников (А).

Отметьте шатун и крышки, чтобы иметь возможность собрать их в исходном положении и направлении.
(3)
Протолкните поршень и шатун в сборе с верхним подшипником через верхнюю часть блока цилиндров.
Держите шатун и крышку вместе с подшипниками в сборе.
Расположите узлы поршня и шатуна в правильном порядке.
Пометьте узлы поршня и шатуна, чтобы их можно было собрать в исходное положение.
18.
Проверьте посадку между поршнем и поршневым пальцем.
Попробуйте подвигать поршень вперед-назад на поршневом пальце.
Если чувствуется какое-либо движение, замените поршень и палец в комплекте.
19.
Снимите поршневые кольца.
(1)
С помощью расширителя поршневых колец снимите 2 компрессионных кольца.
(2)
Снимите маслосъемное кольцо и винтовую пружину вручную.
Расположите поршневые кольца в правильном порядке.
20.
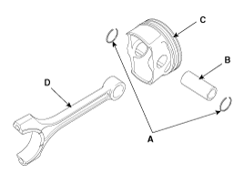
Снимите шатун с поршня.
(1)
Снимите стопорное кольцо (А) с поршня.
(2)
Снимите поршневой палец (В) с поршня.
(3)
Разберите поршень (С) и шатун (D).

осмотр
Шатун
1.
Проверьте боковой зазор шатуна.
С помощью щупа измерьте осевой люфт при перемещении шатуна вперед и назад.
А.
Если за пределами допуска, установите новый шатун.
Б.
Если все еще за пределами допуска, замените коленчатый вал.

Боковой зазор
Стандарт: 0,10–0,25 мм (0,0039–0,0098 дюйма)

2.
Проверьте масляный зазор в подшипнике соединительной дороги.
(1)
Убедитесь, что установочные метки на шатуне и крышке совмещены, чтобы обеспечить правильную сборку.
(2)
Снимите 2 болта крышки шатуна.
(3)
Снимите крышку шатуна и нижний подшипник.
(4)
Очистите шатунную шейку и подшипник.
(5)
Наденьте пластидж на шейку коленчатого вала.
(6)
Установите на место нижний подшипник и крышку и затяните болты.

Момент затяжки
1-й шаг:
17,7 ~ 21,6 Н·м (1,8 ~ 2,2 кгс·м, 13,0 ~ 15,9 фунт-фут)
2-й шаг: 103 ~ 107°

Не проворачивайте коленчатый вал.
-
Не проворачивайте коленчатый вал.
-
Не используйте повторно болты крышек шатунов.
(7)
Снимите крышку шатуна и нижний подшипник.
(8)
Измерьте ширину пластигейджа в самом широком месте.

Масляный зазор:
0,024 ~ 0,042 мм (0,00094 ~ 0,00165 дюйма)

(9)
Если измерение пластигейджа слишком широкое или слишком узкие, снимите верхний и нижний подшипники, а затем установите новые подшипники с таким же цветовым знаком. Перепроверьте масляный зазор.
Не напиливайте, не прокладывайте и не царапайте подшипники или крышки для регулировки зазора.
(10)
Если пластидж показывает, что зазор по-прежнему неправильный, попробуйте следующий подшипник большего или меньшего размера. Перепроверьте масляный зазор.
Если надлежащий зазор не может быть получен с помощью соответствующие подшипники большего или меньшего размера, замените коленчатый вал и повторить процедуру проверки.
Если следы неразборчивы из-за скопления грязь и пыль, не счищайте их проволочной щеткой или скребком. Чистый их только растворителем или моющим средством.
Маркировка шатуна

Технические характеристики шатуна
Сорт
Отметка
Внутренний диаметр
0
А
48.000 ~ 48.006 мм
(1,88976 ~ 1,89000 дюйма)
1
Б
48,006 ~ 48,012 мм
(1,89000 ~ 1,89023 дюйма)
2
С
48,012 ~ 48,018 мм
(1,89023 ~ 1,89047 дюйма)

Идентификационная маркировка штифта коленчатого вала

Соблюдайте порядок проставления штампов, как показано направлением стрелки от #1.
Характеристики коленчатого вала
Сорт
Отметка
Внешний диаметр штифта
я
1
44,966 ~ 44,972 мм
(1,77031 ~ 1,77055 дюйма)
II
2
44,960 ~ 44,966 мм
(1,77008 ~ 1,77031 дюйма)
III
3
44,954 ~ 44,960 мм
(1,76984 ~ 1,77008 дюйма)

Маркировка шатунного подшипника

Технические характеристики подшипника шатуна
Сорт
Отметка
Толщина подшипника
А
Светло-синий
1,511 ~ 1,514 мм
(0,05949 ~ 0,05961 дюйма)
Б
Черный
1,508 ~ 1,511 мм
(0,05937 ~ 0,05949 дюйма)
С
Белый
1,505 ~ 1,508 мм
(0,05925 ~ 0,05937 дюйма)
Д
Светло-зеленый
1,502 ~ 1,505 мм
(0,05913 ~ 0,05925 дюйма)
Е
Розовый
1,499 ~ 1,502 мм
(0,05902 ~ 0,05913 дюйма)

(11)
Выберите шатунный подшипник, используя таблицу выбора.
Таблица выбора шатунных подшипников
Сборка классификации подшипников
Маркировка шатуна
0
1
2
Маркировка коленчатого вала
я (1)
Е
(Розовый)
D (светло-зеленый)
С (белый)
II (2)
D (светло-зеленый)
С (белый)
Б (черный)
III (3)
С (белый)
Б (черный)
А (голубой)

3.
Проверьте соединительные стержни.
(1)
При переустановке следите за тем, чтобы номера цилиндров были нанесены на Шатун и крышка при разборке совпадают. Когда новый шатун установлен, убедитесь, что пазы для удержания подшипника в место на той же стороне.
(2)
Замените шатун, если он поврежден на тяге лица с обоих концов. Также при износе ступеней или сильно шероховатой поверхности внутренний диаметр малого конца виден, стержень должен быть тоже заменил.
(3)
Используя инструмент для выравнивания шатуна, проверьте шатун на изгиб. и крутить. Если измеренное значение близко к ремонтному пределу, исправьте стержень прессом. Любой шатун, который был сильно изогнут или искаженные должны быть заменены.

Допустимый изгиб шатуна:
0,05 мм (0,0020 дюйма) или менее для 100 мм (3,94 дюйма)
Допустимая крутка шатуна:
0,10 мм (0,0039 дюйма) или менее для 100 мм (3,94 дюйма)

При установке шатунов без подшипников разницы на боковой поверхности быть не должно.
Поршень
1.
Чистый поршень.
(1)
С помощью скребка для прокладок удалите нагар с верхней части поршня.
(2)
Используя инструмент для очистки канавок или сломанное кольцо, очистите канавки поршневых колец.
(3)
С помощью растворителя и щетки тщательно очистите поршень.
Не используйте проволочную щетку.
2.
Проверьте зазор между поршнем и цилиндром, рассчитав разница между внутренним диаметром цилиндра и внешним диаметром поршня диаметр.

Зазор между поршнем и цилиндром:
0,02 ~ 0,04 мм (0,0008 ~ 0,0016 дюйма)

(1)
Используя калибр для измерения диаметра цилиндра, измерьте диаметр отверстия цилиндра в положении в осевом и осевом направлении.

Диаметр отверстия цилиндра:
81,00 ~ 81,03 мм (3,1890 ~ ​​3,1902 дюйма)

Измерьте точки положения (от верхней части блока цилиндров):
30 мм (1,1811 дюйма) / 60 мм (2,3622 дюйма) / 90 мм (3,5433 дюйма)
(2)
Измерьте внешний диаметр поршня на расстоянии 35 мм (1,3780 дюйма) от верхней поверхности поршня.

Внешний диаметр поршня:
80,97 ~ 81,00 мм (3,1878 ~ 3,1890 дюйма)

3.
Выберите поршень, соответствующий классу диаметра цилиндра.

Зазор между поршнем и цилиндром:
0,02 ~ 0,04 мм (0,0008 ~ 0,0016 дюйма)

(1)
Проверьте код размера отверстия цилиндра на боковой поверхности блока цилиндров.

Внутренний диаметр цилиндра
Код размера
Внутренний диаметр цилиндра
А
81,00 ~ 81,01 мм (3,1890 ~ ​​3,1894 дюйма)
Б
81,01 ~ 81,02 мм (3,1894 ~ 3,1898 дюйма)
С
81,02 ~ 81,03 мм (3,1898 ~ 3,1902 дюйма)

(2)
Проверьте метку размера поршня на верхней поверхности поршня.

Внешний диаметр поршня
Код размера
Внешний диаметр поршня
А
80,97 ~ 80,98 мм (3,1878 ~ 3,1882 дюйма)
Б
80,98 ~ 80,99 мм (3,1882 ~ 3,1886 дюйма)
С
80,99 ~ 81,00 мм (3,1886 ~ 3,1890 дюйма)

Поршневые кольца
1.
Проверьте боковой зазор поршневого кольца.
С помощью щупа измерьте зазор между новым поршневым кольцом и стенкой кольцевой канавки.
Если зазор больше максимального, замените поршень.

Боковой зазор поршневого кольца
[Стандарт]
Кольцо №1:
0,040 ~ 0,080 мм (0,00157 ~ 0,00315 дюйма)
Кольцо №2:
0,040 ~ 0,080 мм (0,00157 ~ 0,00315 дюйма)
Масляное кольцо:
0,020 ~ 0,055 мм (0,00079 ~ 0,00216 дюйма)

Если зазор больше максимального, замените поршень.
2.
Осмотрите торцевой зазор поршневого кольца.
Для измерения торцевого зазора поршневого кольца вставьте поршневое кольцо в отверстие цилиндра. Расположите кольцо под прямым углом к ​​цилиндру. стенку, осторожно нажимая на нее поршнем. Измерьте зазор с помощью щуп.

Зазор в конце поршневого кольца
[Стандарт]
Кольцо №1: 0,15 ~ 0,30 мм (0,0059 ~ 0,0118 дюйма)
Кольцо № 2: 0,30 ~ 0,45 мм (0,0118 ~ 0,0177 дюйма)
Масляное кольцо: 0,20 ~ 0,40 мм (0,0079 ~ 0,0157 дюйма)

Если зазор превышает допустимый предел, замените поршень. кольца. Если зазор слишком велик, перепроверьте внутренний диаметр цилиндра. диаметр. Если диаметр отверстия превышает эксплуатационный предел, блок цилиндров должен быть заменены.
Поршневые пальцы
1.
Измерьте диаметр поршневого пальца.

Диаметр поршневого пальца:
19,997 ~ 20,000 мм (0,78728 ~ 0,78740 дюйма)

2.
Измерьте зазор между поршневым пальцем и поршнем.

Зазор между поршневым пальцем и поршнем:
0,004 ~ 0,012 мм (0,00016 ~ 0,00047 дюйма)

3.
Проверьте зазор между внешним диаметром поршневого пальца и внутренним диаметром головки шатуна.

Зазор между поршневым пальцем и шатуном:
0,007 ~ 0,018 мм (0,00028 ~ 0,00071 дюйма)

Сборка
Тщательно очистите все детали, подлежащие сборке.
Перед установкой деталей нанесите свежее моторное масло на все скользящие и вращающиеся поверхности.
1.
Соберите поршень и шатун.
(1)
Установите стопорное кольцо (А) с одной стороны отверстия под поршневой палец.
(2)
Совместите переднюю метку поршня и переднюю метку шатуна.
(3)
Вставьте поршневой палец (В) в отверстие для поршневого пальца и отверстие с малым концом шатуна.
(4)
Установите стопорное кольцо (С) с другой стороны после установки поршневого пальца.

Нанесите достаточное количество моторного масла на внешнюю поверхность поршень, внутреннюю поверхность отверстия поршневого пальца и маленькое торцевое отверстие шатун перед установкой поршневого пальца.
Будьте осторожны, чтобы не повредить и не поцарапать маленькое торцевое отверстие, отверстие поршневого пальца и поршневой палец при установке поршневого пальца.
Плотно установите стопорное кольцо, чтобы стопорное кольцо могло соприкасаться со всей канавкой отверстия поршневого пальца.
2.
Установите поршневые кольца.
(1)
Установите маслосъемное кольцо и спиральную пружину вручную.
(2)
С помощью расширителя поршневых колец установите 2 компрессионных кольца заводской маркировкой вверх.
(3)
Расположите поршневые кольца так, чтобы концы колец были, как показано на рисунке. (Кольцо №1 должно быть на противоположной стороне от кольца №2.)
Пример)

Компоненты поршня и шатуна и расположение компонентов
Компоненты 1. Поршневое кольцо2. Стопорное кольцо3. Поршневой палец4. Поршень5. Шатун 6. Верхний подшипник шатуна7. Нижний подшипник шатуна8. Крышка шатунного подшипника ...
Компоненты коленчатого вала и расположение компонентов
Компоненты 1. Верхний подшипник коленчатого вала2. Упорный подшипник коленчатого вала 3. Коленчатый вал4. Нижний подшипник коленчатого вала5. Датчик положения коленчатого вала (CKPS) колеса6. Нижний картер7. Прокладка ...
Дополнительная информация:

Hyundai Elantra AD (2016-2020) Руководство по эксплуатации: Управление устойчивостью автомобиля (VSM)
Управление стабильностью автомобиля (VSM) является функцией электронной системы стабилизации. Система управления (ESC). Это помогает обеспечить устойчивость автомобиля при ускорении. или резкое торможение на мокрой, скользкой и ухабистой дороге, где сцепление превышает четыре шины могут внезапно стать неровными. ПРЕДУПРЕЖДЕНИЕ Возьми т...

Hyundai Elantra AD (2016-2020) Руководство по эксплуатации: индикатор износа дисковых тормозов, задние барабанные тормоза
Индикатор износа дисковых тормозов Когда ваши тормозные колодки изношены и требуются новые колодки, вы услышите высокий пронзительный предупреждающий звук от передних или задних тормозов. Вы можете услышать этот звук и поехать, или это может произойти всякий раз, когда вы нажимаете педаль тормоза. Обратите внимание, что некоторые условия вождения или климат...