Hyundai Elantra: Система контроля токсичности отработавших газов / CVVT (бесступенчатая регулировка фаз газораспределения) Описание и работа системы

Hyundai Elantra AD (2016-2020) Руководство по ремонту / Система контроля выбросов / Система контроля выбросов выхлопных газов / CVVT (бесступенчатая регулировка фаз газораспределения) Описание и работа системы

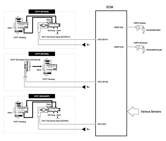
Описание
Система непрерывного изменения фаз газораспределения (CVVT) опережает или задерживает фазы газораспределения впускного и выпускного клапанов в соответствии с управляющим сигналом ECM, который рассчитывается по частоте вращения двигателя и нагрузка.
При управлении CVVT происходит перекрытие или недопуск клапана, что обеспечивает лучшую экономию топлива и уменьшает выхлопные газы (NOx, HC) и улучшает работу двигателя за счет снижения насосных потерь, внутреннего Эффект EGR, улучшение стабильности сгорания, улучшение объемный КПД и увеличение работы расширения.
Эта система состоит из масляного регулирующего клапана CVVT (OCV), который подает моторное масло на кулачковый фазовращатель или сливает моторное масло от кулачкового фазовращателя в соответствии с PWM ECM (импульс с Modulation) управляющий сигнал и Cam Phaser, который изменяет кулачок фазы, используя гидравлическую силу моторного масла.
Моторное масло, вытекающее из клапана управления маслом CVVT изменяет фазу кулачка в направлении (опережение впуска/запаздывание выпуска) или направление, противоположное двигателю (замедление впуска/опережение выпуска) вращение за счет вращения ротора, соединенного с распределительным валом внутри кулачковый фазер.

Принцип работы
CVVT имеет механизм, вращающий лопасть ротора с гидравлическая сила, создаваемая моторным маслом, подаваемым на опережение или камеру замедления в соответствии с управлением масляным клапаном CVVT.
На крышке цепи со стороны впуска установлен отдельный электромагнитный клапан для закрытия и освобождения отдельного стопорного штифта.

[Системный режим CVVT]

(1) Низкая скорость/низкая нагрузка
(2) Частичная нагрузка


(3) Низкая скорость/высокая нагрузка
(4) Высокая скорость/высокая нагрузка



Вождение
Состояние
Выхлопной клапан
Впускной клапан
Клапан
Сроки
Эффект
Клапан
Сроки
Эффект
(1) Низкая скорость
/Низкая нагрузка
Полностью
Продвигать
* Нижний клапан клапана
* Улучшение стабильности горения
Полностью
Замедлить
* Нижний клапан клапана
* Улучшение стабильности горения
(2) Частичная нагрузка
Замедлить
* Снижение НС
Замедлить
* Задерживает время закрытия впускного клапана, чтобы уменьшить насосные потери
* Увеличивает работу расширения
(3) Низкая скорость
/Высокая нагрузка
Замедлить
* Увеличение работы расширения
Продвигать
* Предотвращение обратного потока на впуске (улучшение объемной эффективности)
(4) Высокая скорость
/Высокая нагрузка
Продвигать
* Снижение насосных потерь
Замедлить
* Улучшение объемной эффективности

Описание и работа каталитического нейтрализатора
Описание Каталитический нейтрализатор бензинового двигателя трехходовой. катализатор. Он окисляет окись углерода и углеводороды (HC), и отделяет кислород от оксидов азота (NOx). ...
Управление двигателем/топливная система
...
Дополнительная информация:

Hyundai Elantra AD (2016-2020) Руководство по эксплуатации: Подстаканник
■ Спереди ■ Задний • Тип A ■ Задний • Тип B Чашки или маленькие стаканчики для напитков можно разместить в подстаканниках. Подкладку переднего подстаканника можно снять для очистки. Задний Подстаканники в задней части центральной консоли: потяните крышку подстаканника назад. чтобы полностью разложить подстаканник. С ...

Hyundai Elantra AD (2016-2020) Руководство по эксплуатации: Положения ключа зажигания
ЗАМОК Чтобы повернуть ключ зажигания в положение LOCK, вставьте ключ в положение ACC. и поверните ключ в положение LOCK. Ключ зажигания можно вынуть в ЗАКРЫТОЕ положение. (Рычаг переключения передач должен находиться в положении P (Парковка) для интеллектуального управления. Переменная коробка передач (IVT)/двойное сцепление ...