Ford Explorer: Обслуживание/Регулировка фар

Руководство по эксплуатации Форд Эксплорер 2020-2023 гг. / Обслуживание / Регулировка фар

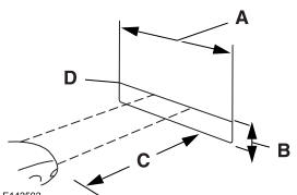
Регулировка вертикальной цели

Если ваш автомобиль попал в аварию, направьте луч фары проверен у официального дилера.

А - 8 футов (2,4 м)

B - Масса к центру лампы дальнего света фары

С - 25 футов (7,6 м)

D - Горизонтальная опорная линия

Процедура регулировки вертикальной наводки

  1. Припаркуйте автомобиль на ровной поверхности примерно в 25 футах (7,6 м) от стены. или экран.
  2. Измерьте расстояние от земли до центра луча фары лампочку и отметьте горизонтальную контрольную линию длиной 8 футов (2,4 м) на стене или экран на этой высоте.

    Примечание. На корпусе может быть опознавательный знак. линзу, которая поможет вам найти центральную линию лампы фары.

    Примечание. Чтобы увидеть более четкую световую картину для регулировки, вы можете блокировать свет одной фары при регулировке другой.

  3. Включите ближний свет фар и откройте капот.

  4. На стене или экране вы увидите плоскую зону яркого света. расположен в верхней части диаграммы направленности. Если верхний край плоской зоны свет высокой интенсивности не находится на горизонтальной опорной линии, отрегулируйте цель пучка фар.

  5. Используйте подходящий инструмент, например, отвертку или торцевой ключ, чтобы повернуть регулятор по часовой стрелке или против часовой стрелки, чтобы отрегулировать вертикальную цель налобный фонарь. Горизонтальный край более яркого источника света должен касаться горизонтального референсная линия.
  6. Закройте капот и выключите лампы.

Замена щеток заднего стеклоочистителя

Вы можете улучшить качество работы стеклоочистителей, очистив щетки стеклоочистителей и ветровое стекло. Заменяйте щетки стеклоочистителей не реже одного раза в год для оптимальной работы...

Замена лампы

ВНИМАНИЕ: Выключите лампы и зажигание. Несоблюдение этого может привести к серьезной травме. ПРЕДУПРЕЖДЕНИЕ. Лампы могут нагреваться. Дайте лампе остыть, прежде чем вынимать ее...

Дополнительная информация:

Руководство по техническому обслуживанию Ford Explorer 2020-2023: Снятие и установка — переключатель управления стеклоподъемником двери водителя


Специальные инструменты) / Общее оборудование Средство для снятия внутренней отделки Удаление Снимите переключатель управления стеклоподъемником двери водителя и лицевую панель в сборе. Освободите клипсы. Используйте общее оборудование: средство для снятия внутренней отделки салона. Отсоедините электрический разъем и снимите переключатель управления стеклоподъемником водительской двери и рамка в сборе...

Руководство по обслуживанию Ford Explorer 2020-2023: Снятие и установка - Масляный радиатор


Специальные инструменты) / Общее оборудование Устройство для снятия/установки шланговых хомутов Плоскогубцы Удаление ПРИМЕЧАНИЕ: При проведении ремонтных работ двигателя чистота чрезвычайно важна. важный. Любой посторонний материал (включая любой материал, созданный во время очистка поверхностей прокладок), которая попадает в масляные каналы, каналы охлаждающей жидкости или масляный поддон может привести к отказу двигателя...

Категории

Подушки безопасности водителя и пассажира

ПРЕДУПРЕЖДЕНИЕ: Не кладите руки на крышку подушки безопасности или через рулевую колонку. колесо. Несоблюдение этой инструкции может привести к травмам.

ПРЕДУПРЕЖДЕНИЕ: Обеспечьте свободное пространство перед подушками безопасности. Не прикрепляйте ничего к крышкам подушек безопасности или поверх них. Предметы могут стать снарядами во время срабатывания подушки безопасности или при резкой остановке. Несоблюдение этой инструкции может привести к травме или смерти.

ВНИМАНИЕ: Подушки безопасности могут убить или травмировать ребенка в детском удерживающем устройстве. Никогда установите детское удерживающее устройство, обращенное назад, перед активной подушкой безопасности. Если вы должны использовать установленное по ходу движения детское удерживающее устройство на переднем сиденье, переместите сиденье, на котором детское удерживающее устройство установлено до упора назад.

читать далее

Каталог запчастей к Ford Explorer